ACCUREX XRED Direct Drive Downblast Centrifugal Roof Exhaust

Document 474739
Model XRED Direct Drive
Model XREB Belt Drive
Downblast Centrifugal Roof Exhaust
Installation, Operation and Maintenance Manual
Please read and save these instructions for future reference. Read carefully before attempting to assemble, install, operate or maintain the product described. Protect yourself and others by observing all safety information. Failure to comply with these instructions will result in voiding of the product warranty and may result in personal injury and/or property damage.
Direct Drive
Downblast Centrifugal Exhaust
These fans are specifically designed for roof mounted applications exhausting relatively
clean air. The maximum continuous operating temperature is 130°F (54ºC). Direct drive models are made with nominal wheel diameter ranging from 8 to 30 inches (203 to 762 mm) (060-300 unit sizes). Each fan shall bear a permanently affixed manufacturer’s embossed metal nameplate containing the model number and individual serial number. All fans are UL/cUL Listed Standard 705.
Belt Drive
Downblast Centrifugal Exhaust
These fans are specifically designed for roof mounted applications exhausting relatively clean air. The maximum continuous operating temperature is 180°F (82ºC). Belt drive models are made with nominal wheel diameters ranging from 11 to 54 inches (279 to 1372 mm) (097-540 unit sizes). Each fan shall bear a permanently affixed manufacturer’s embossed nameplate containing the model number and individual serial number. All fans are UL/cUL Listed Standard 705.
General Safety Information
Only qualified personnel should install this fan. Personnel should have a clear understanding of these instructions and should be aware of general safety precautions. Improper installation can result in electric shock, possible injury due to coming in contact with moving parts, as well as other potential hazards.
Other considerations may be required if high winds or seismic activity is present. If more information is needed, contact a licensed professional engineer before moving forward.
- Follow all local electrical and safety codes, as well as the National Electrical Code (NEC) and the National Fire Protection Agency (NFPA), where applicable. Follow the Canadian Electric Code (CEC) in Canada.
- The rotation of the wheel is critical. It must be free to rotate without striking or rubbing any stationary objects.
- Motor must be securely and adequately grounded.
- Do not spin fan wheel faster than max cataloged fan RPM. Adjustments to fan speed significantly affects motor load. If the fan RPM is changed, the motor current should be checked to make sure it is not exceeding the motor nameplate amps.
- Do not allow the power cable to kink or come in contact with oil, grease, hot surfaces or chemicals. Replace cord immediately if damaged.
- Verify that the power source is compatible with the equipment.
- Never open access doors to a duct while the fan is running.
DANGER
Always disconnect, lock and tag power source before installing or servicing. Failure to disconnect power source can result in fire, shock or serious injury.
CAUTION
When servicing the fan, motor may be hot enough to cause pain or injury. Allow motor to cool before servicing.
Precaution should be taken in explosive atmospheres.
Receiving
Upon receiving the product, check to ensure all items are accounted for by referencing the delivery receipt or packing list. Inspect each crate or carton
for shipping damage before accepting delivery. Alert the carrier of any damage detected. The customer will make notification of damage (or shortage of items) on the delivery receipt and all copies of the bill of lading which is countersigned by the delivering carrier. If damaged, immediately contact your representative. Any physical damage to the unit after acceptance is not the responsibility of the manufacturer.
Unpacking
Verify that all required parts and the correct quantity of each item have been received. If any items are missing, report shortages to your local representative to arrange for obtaining missing parts. Sometimes it is not possible that all items for the unit be shipped together due to availability of transportation and truck space. Confirmation of shipment(s) must be limited to only items on the bill of lading.
Handling
Belt and Direct Drive Units
Lift Direct Drive unit on to the roof utilizing hooks under the lip of the shroud. Evenly space the hooks around the shroud using a minimum of four lifting straps. Use a spreader bar to ensure the straps do not come in contact with the unit (see Figure 1).

When lifting a belt drive unit on to the roof, use either the four lifting points on the drive frame or the two lifting points on the bearing plate if present (see Figure 2
for lifting points). Access to the drive frame is accomplished by removing the screws identified
in Figure 3. The cover can then be removed and placed on a flat surface in an area protected from strong winds.
When direct and/or belt drive unit is on the roof, move fan to desired location using lifting points and fasten securely through mounting holes in base. Shims may be necessary depending upon roofing material thickness.
The motor amperage and voltage ratings must be checked for compatibility to supply voltage prior to final electrical connection. For direct and/or belt drive installations, the electrical supply should be routed through the conduit chase located between the curb cap and the bottom of the motor compartment. Wiring must conform to local and national codes. 
Storage
Fans are protected against damage during shipment. If the unit cannot be installed and operated immediately, precautions need to be taken to prevent deterioration of the unit during storage. The user assumes responsibility of the fan and accessories while in storage. The manufacturer will not be responsible for damage during storage. These suggestions are provided solely as a convenience to the user.
Indoor – The ideal environment for the storage of fans and accessories is indoors, above grade, in a low humidity atmosphere which is sealed to prevent the entry of blowing dust, rain or snow. Temperatures should be evenly maintained between 30° to 110°F(-1° to 43°C) (wide temperature swings may cause condensation and “sweating” of metal parts). All accessories must be stored indoors in a clean, dry atmosphere.
Remove any accumulations of dirt, water, ice or snow and wipe dry before moving to indoor storage. To avoid “sweating” of metal parts, allow cold parts to reach room temperature. To dry parts and packages, use a portable electric heater to get rid of any moisture buildup. Leave coverings loose to permit air circulation and to allow for periodic inspection.
The unit should be stored at least 3½ inches (89 mm) off the floor on wooden blocks covered with moisture-proof paper or polyethylene sheathing. Aisles between parts and along all walls should be provided to permit air circulation and space for inspection.
Outdoor – Fans designed for outdoor applications may be stored outdoors, if absolutely necessary. Roads or aisles for portable cranes and hauling equipment are needed.
The fan should be placed on a level surface to prevent water from leaking into the fan. The fan should be elevated on an adequate number of wooden blocks so that it is above water and snow levels and has enough blocking to prevent it from settling into soft ground. Locate parts far enough apart to permit air circulation, sunlight and space for periodic inspection. To minimize water accumulation, place all fan parts on blocking supports so that rainwater will run off.
Do not cover parts with plastic film or tarps as these cause condensation of moisture from the air passing through heating and cooling cycles.
Fan wheels should be blocked to prevent spinning caused by strong winds.
Inspection and Maintenance
During Storage
While in storage, inspect fans once per month. Keep a record of inspection and maintenance performed.
If moisture or dirt accumulations are found on parts, the source should be located and eliminated. At each inspection, rotate the wheel by hand ten to fifteen revolutions to distribute lubricant in motor. If paint deterioration begins, consideration should be given to touch-up or repainting. Fans with special coatings may require special techniques for touch-up or repair.
Machined parts coated with rust preventive should be restored to good condition promptly if signs of rust occur. Immediately remove the original rust preventive coating with petroleum solvent and clean with lint-free cloths. Polish any remaining rust from surface with crocus cloth or fine emery paper and oil. Do not destroy the continuity of the surfaces. Thoroughly wipe clean with Tectyl® 506 (Ashland Inc.) or the equivalent. For hard to reach internal surfaces or for occasional use, consider using Tectyl® 511M Rust Preventive, WD-40® or the equivalent.
Removing From Storage
As fans are removed from storage to be installed in their final location, they should be protected and maintained in a similar fashion until the fan equipment goes into operation.
Dimensional Data
Direct Drive
Figure 4 – Typical Roof Mounting Installation

| Model Size | Curb Cap | Damper | Roof Opening | **Approx. Weight |
| 060, 070 | 17 (432) | 8 (203) | 13½ (343) | 18 (8) |
| 080, 090, 095 | 17 (432) | 10 (254) | 13½ (343) | 26 (12) |
| 097, 098, 099 | 19 (483) | 12 (305) | 15½ (393) | 57 (26) |
| 100, 103*, 100HP, 103HP* | 19 (483) | 12 (305) | 15½ (393) | 62 (28) |
| 120, 123* | 19 (483) | 12 (305) | 15½ (393) | 65 (30) |
| 130, 133* | 19 (483) | 12 (305) | 15½ (393) | 66 (30) |
| 140, 143*, 140HP, 143HP* | 22 (559) | 16 (406) | 18½ (470) | 76 (35) |
| 160, 163* | 22 (559) | 16 (406) | 18½ (470) | 80 (36) |
| 180, 183* | 30 (762) | 24 (610) | 26½ (673) | 119 (54) |
| 200, 203*, 200HP | 30 (762) | 24 (610) | 26½ (673) | 130 (59) |
| 240 | 34 (864) | 24 (610) | 30½ (775) | 158 (72) |
| 300 | 40 (1016) | 34 (864) | 36½ (927) | 320 (145) |
- All dimensions are in inches (millimeters).
- Previous size, no physical product change with new size
- Approximate weight shown in pounds (kilograms) is the largest cataloged open drip proof motor.
- “Curb Cap” is the inside dimension of the curb cap.
- The roof curb should be 1½ in. (38 mm) less than the curb cap to allow for roofing and flashing.
- Roof opening is a square dimension
Belt Drive
Figure 5 – Typical Roof Mounting Installation

| Model Size | Curb Cap | Damper | Roof Opening | **Approx. Weight |
| 071*, 097, 081*, 098, 091*, 099 | 19 (483) | 12 (305) | 15½ (393) | 58 (26) |
| 100, 101*, 100HP, 101HP* | 19 (483) | 12 (305) | 15½ (393) | 63 (29) |
| 120, 121* | 19 (483) | 12 (305) | 15½ (393) | 66 (30) |
| 130, 131* | 19 (483) | 12 (305) | 15½ (393) | 67 (30) |
| 140, 141*, 140HP, 141HP* | 22 (559) | 16 (406) | 18½ (470) | 83 (38) |
| 160, 161*, 160HP, 161HP* | 22 (559) | 16 (406) | 18½ (470) | 89 (40) |
| 180, 180HP | 30 (762) | 24 (610) | 26½ (673) | 125 (57) |
| 200, 200HP | 30 (762) | 24 (610) | 26½ (673) | 138 (63) |
| 220, 220HP, 240, 240HP | 34 (864) | 24 (610) | 30½ (775) | 158 (72) |
| 260 | 40 (1016) | 34 (864) | 36½ (927) | 305 (138) |
| 300, 300HP | 40 (1016) | 34 (864) | 36½ (927) | 320 (145) |
| 330 | 46 (1168) | 40 (1016) | 42½ (1080) | 385 (175) |
| 360, 360HP | 46 (1168) | 40 (1016) | 42½ (1080) | 403 (183) |
| 420 | 52 (1321) | 46 (1168) | 48½ (1232) | 495 (225) |
| 480 | 58 (1473) | 52 (1321) | 54½ (1384) | 623 (283) |
| 500 | 64 (1626) | 58 (1473) | 60½ (1537) | 687 (312) |
| 540 | 64 (1626) | 58 (1473) | 60½ (1537) | 748 (339) |
- All dimensions are in inches (millimeters).
- Previous size, no physical product change with new size
- Approximate weight shown in pounds (kilograms) is the largest cataloged open drip proof motor.
- “Curb Cap” is the inside dimension of the curb cap.
- The roof curb should be 1½ in. (38 mm) less than the curb cap to allow for roofing and flashing.
- Roof opening is a square dimension
Installation
Typical Roof Mounting Installation
- On the roof surface, cut an appropriate sized hole and follow manufacturer’s instructions on curb installation. Caulk and flash the curb to ensure a water tight seal.

- If unit is equipped with a backdraft damper, it should be installed now.
- Remove motor cover. Access to the motor compartment is accomplished by removing the screws as shown in Figure 3, page 2.
- On belt drive fans, use the lifting lugs on the drive frame or bearing plate to lift and place the unit on top of roof curb. Refer to Figure 2, page 2.
- On direct drive fans, lift and place the unit on top of roof curb using hooks under the lip of the shroud. Refer to Figure 1, page 2.
- Secure fan to curb using a minimum of eight lag screws, metal screws or other suitable fasteners. Shims may be required depending upon curb installation and roofing material.
- Verify power line wiring is de-energized before connecting fan motor to power source.
- Connect power supply wiring to the motor as indicated on the motor nameplate or terminal box cover. Check the power source for compatibility with the requirements of your equipment.
- Check fan wheel for free rotation, recenter if necessary. Check setscrew(s) for tightness.
- Check all fasteners for tightness.
- Mount and wire safety disconnect switch under motor cover. Wire control switches at ground level, refer to Figure 6.
- Replace motor cover.

Vari-Green Wiring
For Vari-Green wiring, refer to the Vari-Green Motor and Controls Installation, Operation and Maintenance Manual for complete wiring and operation instructions.
IMPORTANT
Installation, troubleshooting and parts replacement are to be performed only by qualified personnel. Consult and follow all applicable national, state and local codes. They will supersede this document.
Pre-Starting Checks
- Check all fasteners and setscrews for tightness.
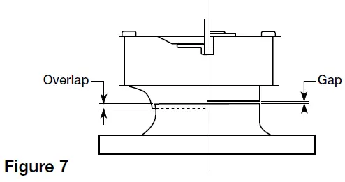
The wheel should rotate freely and be aligned as shown in Figure 7.
Model Type Size Overlap in. (mm) Gap in. (mm) Direct Belt X — 060-095 — 3/32 (2) X 097-163 1/4 (6) — X 071-161 1/4 (6) — X X 180-240 3/8 (10) — X — 300 1/2 (13) — — X 260-540 1/2 (13) — - Wheel position is preset and the unit is test run at the factory. Movement may occur during shipment and realignment may be necessary.
- Belt Drive: Centering wheel across the inlet can be accomplished by loosening the bolts holding the drive frame to the vibration isolators and repositioning the drive frame.
Direct and Belt Drive: If further alignment is needed, loosen shroud bolts and move shroud and motor to align wheel over inlet properly.
Wheel and inlet cone overlap can be adjusted by loosening the setscrews in the wheel hub and moving the wheel to the desired position. For both direct and belt drive models with wheel hubs and shaft pulleys utilizing a tapered bushing interface, reference page 8 for the tapered bushing removal and move the wheel to the desired position.
Fan RPM should be checked and verified with a tachometer. - Check wheel rotation (viewing from the shaft side) by momentarily energizing the unit. Rotation should be clockwise as shown in Figure 8 and correspond to rotation decal on the unit.
If wheel rotation is incorrect, reverse two of the wiring leads or check motor wiring for single phase. Fan RPM should be checked and verified with a tachometer.
WARNING
Correct direction of wheel rotation is critical. Reversed rotation will result in poor air performance, motor overloading and possible motor burnout.
IMPORTANT
The fan has been checked for mechanical noises at the factory prior to shipment. If mechanical noise should develop, suggested corrective actions are offered in the Troubleshooting section.
Over-tightening belts will cause excessive bearing wear and noise. Too little tension will cause slippage at startup and uneven wear.
Belt Drive Pre-Starting Belt Tension Checks - Always loosen tension enough to install belts without stretching. Do not force belt(s) see Figure 9. Forcing belts will break the cords and cause belt failure.

- For units with two groove pulleys, a djust so the tension is equal in both belts.
- If adjustments are made, it is very important to check the pulleys for proper alignment. Misaligned pulleys lead to excessive belt wear, vibration, noise and power loss, see Figure 10.

- Belt tension can be adjusted by loosening four fasteners on the drive frame, see Figure 11. The motor plate slides on the slotted adjusting arms and drive frame angles in
the same manner.
Four (4) fasteners in total.
Identical fasteners on opposing side must also be loosened.
- Sizes 097-160: Belts should be tensioned just enough to prevent slippage at full load. Belts should have a slight bow on the slack side while running at full load, see Figure 12a.

Sizes 180-540: Belt tension should be adjusted to allow 1/64 in. (0.397 mm) of deflection per inch of belt span. For example, a 15 in. (381 mm) belt span should have 15/64 in. (5.95 mm) (or about 1/4 in. (6 mm)) of deflection with moderate thumb pressure at mid-point between pulleys, see Figure 12b. - The adjustable motor pulley is factory set for the RPM specified. Speed can be increased by closing or decreased by opening the adjustable motor pulley.
- Any increase in speed represents a substantial increase in the horsepower required by the unit.
- Motor amperage should always be checked to avoid serious damage to the motor when speed is varied.
Operation
- Before starting up or operating fan, check all fasteners for tightness. In particular, check the setscrews in the wheel hub (or the tapered bushing and pulleys if applicable).
- While in the OFF position or before connecting the fan to power, turn the fan wheel by hand to be sure it is not striking the venturi or any obstacle.
- Start the fan and shut it off immediately to check rotation of the wheel with directional arrow in the motor compartment, see Figure 8.
- When the fan is started, observe the operation and check for any unusual noises.
- With the system in full operation and all ductwork attached, measure current input to the motor and compare with the nameplate rating to determine if the motor is operating under safe load conditions.
- Keep inlets and approaches to fan clean and free from obstruction.
IMPORTANT
Adjust (tighten) belt tension after the first 24-48 hours of operation.
Inspection
Inspection of the fan should be conducted at the first 30 minute and 24 hour intervals of satisfactory operation. 30 Minute Interval: Inspect bolts, setscrews and motor mounting bolts. Adjust and tighten as necessary.
24 Hour Interval: Check all internal components. On belt drive units only, inspect belt alignment and tension. Adjust and tighten as necessary.
Maintenance
DANGER
Disconnect and secure to the “off” position all electrical power to the fan prior to inspection or servicing. Failure to comply with this safety precaution could result in serious injury or death.
WARNING
This unit should be made non-functional when cleaning the wheel or housing (fuses removed, disconnect locked off).
Installation and maintenance are to be performed only by qualified personnel who are familiar with local codes and regulations and who are experienced with this type of equipment.
Motor maintenance is generally limited to cleaning and lubrication (where applicable). Cleaning should be limited to exterior surfaces only. Removing dust buildup on motor housing ensures proper motor cooling.
Greasing of motors is only intended when fittings are provided. Many fractional horsepower motors are permanently lubricated and should not be lubricated after installation. Motors supplied with grease fittings should be greased in accordance with manufacturer’s recommendations. Where motor temperatures do not exceed 104ºF (40ºC), the grease should be replaced after 2,000 hours of running time as a general rule.
Wheels require very little attention when moving clean air. Occasionally, oil and dust may accumulate causing imbalance. When this occurs, the wheel and housing should be cleaned to ensure smooth and safe operation.
All fasteners should be checked for tightness each time maintenance checks are performed prior to restarting unit.
A proper maintenance program will help these units deliver years of dependable service.
Tapered Bushing Hub Installation and Removal
For wheel hubs and shaft pulleys utilizing a tapered bushing interface, follow this procedure for installation and removal. There are two possible setups for the tapered bushing, both have the same procedure, but orientation of the hub varies.
Tapered Bushing Removal:
- If present, loosen the setscrew holding the bushing and shaft key in place.
- Loosen and remove the socket head cap screws which fasten the bushing to the hub as shown in the section views and examples of Figures 13-16.

- Standard Mounting: Take the two socket head cap screws that were removed and install them into the visibly threaded holes on the wheel hub.
Reverse Mounting: Install the two socket head cap screws into the visibly threaded holes of the bushing flange. - Once both socket head cap screws are installed, tighten them an eighth of a turn at a time, alternating between the two until the hub comes loose from the bushing.
Bushing Installation:
- Clean all surfaces of hub and bushing to remove any oil or residue present. Do not use any lubricant to install bushing into the hub. For both standard and reverse mounting styles, the socket head cap screws are adjustable from the inlet of the fan.
- Standard Mounting: Slide the bushing and shaft key onto the fan shaft followed by the wheel and hub assembly. If present, use the keyway setscrew to hold the shaft key and bushing in place but DO NOT overtighten as this can damage the bushing. Align the unthreaded holes of the hub with the threaded holes of the tapered bushing.
Reverse Mounting: Slide the wheel and hub assembly on to the fan shaft followed by the bushing and shaft key. If present, use the keyway setscrew to hold the shaft key and bushing in place but DO NOT overtighten as this can damage the bushing. Align the unthreaded holes of the tapered bushing with the threaded holes of the hub. - Install the two bushing socket head cap screws into the aligned holes by hand (or without excessive torque) until the heads of the socket head cap screws are seated against the mating surface.
- Adjust the height of the wheel in the fan relative to the inlet venturi then tighten the two socket head cap screws an eighth turn at a time in an alternating fashion and reach a torque of 10 ft-lbs.
Belt and Bearing Maintenance
- Belts tend to stretch after a period of time. They should be checked periodically for wear and tightness. When replacing belts, use the same type as supplied with the unit.
- Matched belts should always be used on units with multi-groove pulleys.
- For belt replacement, loosen the tensioning device enough to allow removal of the belt by hand.
- Once installed, adjust belts as shown in “Pre-Starting Checks.”
- To ensure tightness, check pulley setscrews. Proper keys must be in keyways.
- Fan RPM should not be readjusted. Only use pulleys of identical size and type when replacing pulleys.
- Shaft bearings can be classified in two groups: relubricating and non-relubricating. All non-relubricating bearings on belt drive fans are factory lubricated and require no further lubrication under normal use (between -20º to 180ºF (-29º to 82ºC) in a relatively clean environment).
- On belt drive fans, the standard cast pillow block bearings are factory lubricated and are provided with external grease fittings. Annual lubrication is recommended, or more frequently if needed. See Table 2. Do not over-grease. Use only one or two shots of lubricant with a hand gun. Maximum hand gun rating is 40 psi. Rotate bearings during lubrication where good safety practice permits. Caution should be employed to prevent over packing or contamination.
- Units installed in hot, humid or dirty locations should be equipped with special bearings. These bearings will require frequent lubrication. Caution should be employed to prevent over packing or contamination.
- Grease fittings should be wiped clean. The unit should be in operation while lubricating bearings. Extreme care should be used around moving parts.
- Grease should be pumped in very slowly until a slight bead forms around the seal. A high grade lithium base grease should be used. See Table 3.
- During the first few months of operation, check bearing setscrews periodically to ensure tightness.
- If unit is to be left idle for an extended period, remove belts and store in a cool, dry place to avoid premature belt failure.
Bearing Lubrication Schedule
NOTE: If unusual environment conditions exist (extreme temperature, moisture or contaminants) more frequent lubrication is required.
A good quality lithium base grease, conforming to NLGI Grade 2 consistency, such as those listed in Table 3 may be used.
Table 2: Suggested Fan Bearing Lubrication Intervals
| Interval (months) | Type of Service |
| 1 to 3 | Heavy duty in dirty, dusty locations; high ambient temperatures; moisture laden atmosphere; vibration. |
| 3 to 6 | 12 to 24 hours per day, heavy duty, or if moisture is present |
| 6 to 12 | 8 to 16 hours per day in clean, relatively dry atmosphere |
| 12 to 18 | Infrequent operation or light duty in clean atmosphere |
Table 3: Grease Manufacturers
| Manufacturer | Grease (NLGI #2) |
| U.S. Electric Motors | Grease No. 83343 |
| Chevron U.S.A. Inc | Chevron SRI Grease #2 |
| Mobil Oil Corporation | Mobilith |
| Mobil 532 | |
| Texaco, Inc. | Premium BRB #2 |
| Texaco Multifak #2 | |
| Amoco Oil Co. | Rykon Premium #2 |
| Exxon | Unirex N2 |
| Shell | B Shell Alvania #2 |
Fan Inlet Connections
In order to ensure proper fan performance, caution must be exercised in fan placement and connection to the ventilation system. Obstructions, transitions, poorly designed elbows, improperly selected dampers, etc., can cause reduced performance, excessive noise and increased mechanical stress. For performance to be as published, the system must provide uniform and stable airflow into the fan.

- Dampers must open fully. Use motorized dampers in low airflow applications to reduce losses.
- Avoid sharp turns or entrance conditions which cause uneven flow. Use turning vanes in elbows to redu erse effects.
- Provide uniform airflow at fan inlet and through the damper to ensure optimum performance. Curb cap should be three wheel diameters from the radius. Use turning vanes in duct when possible.
- Provide uniform airflow at fan inlet to ensure optimum performance.
Parts List
Each fan bears a manufacturer’s nameplate with model number and serial number. This information will assist the local representative and the factory in providing service and replacement parts. Before taking any corrective action, make certain unit is not capable of operation during repairs.
Direct Drive

CAUTION
A fan manufactured with an explosion-resistant motor does not certify the entire unit to be explosion-proof. Refer to UL Listing mark for the fans approved usage.
Belt Drive

Troubleshooting
WARNING
Before taking any corrective action, make certain unit is not capable of operation during repairs.
| PROBLEM | CAUSE | CORRECTIVE ACTION |
|
Excessive noise or vibration | Wheel rubbing inlet | Adjust wheel and/or inlet cone. Tighten wheel hub or bearing collars on shaft. |
| V-belt drive | Tighten pulleys on motor/fan shaft. Adjust belt tension. Align pulleys properly, see page 6, Figures 9 and 10. Replace worn belts or pulleys. | |
| Bearings | Replace defective bearing(s). Lubricate bearings. Tighten collars and fasteners. | |
| Wheel unbalance | Clean all dirt off wheel. Check wheel balance, rebalance in place if necessary. | |
| Belts too tight or too loose | Adjust tension, see page 7, Figure 12a-b. | |
| Wheel improperly aligned and rubbing | Center wheel on inlet, see page 6, Figure 7. | |
| Loose drive or motor pulleys | Align and tighten. See “Pre-Starting Checks”, see page 6 and 7. | |
| Foreign objects in wheel or housing | Remove objects, check for damage or unbalance. | |
| Fan base not securely anchored | Secure properly. | |
| Motor hood loose and rattling | Tighten fasteners to secure the motor hood. | |
| Defective or loose motor bearings | Replace motor with same frame size, RPM-HP. | |
| High horsepower | Fan | Check rotation of wheel, see page 6, Figure 8. Reduce fan speed. |
| Duct system | Resize ductwork. Check proper operation of face and bypass dampers. Check filters and access doors. | |
| Fan does not operate | Electrical supply | Check fuses/circuit breakers. Check for switches off. Check for correct supply voltage. |
| Drive | Check for broken belts. Tighten loose pulleys or belts. | |
| Motor | Ensure motor is correct horsepower and not tripping overload protector. | |
|
Motor overloads or overheats | Lubrication | Check for excessive or insufficient grease in the bearing. |
| Mechanical | Replace damaged bearing. Relieve excessive belt tension. Align bearings. Check for bent shaft. | |
| Belt slippage | Adjust tension or replace bad belts, see pages 6 and 7. | |
| Over/Under line voltage | Contact power company. | |
| Incorrect wheel rotation | Check motor wiring, see page 5, Figure 4. Confirm wheel rotation, see page 6, Figure 8. | |
| Wheel RPM too high | Check drives or slow down fan by opening variable pitch pulley on motor shaft. | |
| Undersized motor | Check motor ratings with catalog speed and air capacity chart. | |
| Motor wired incorrectly | Check motor wiring to wiring diagram located on fan motor. | |
|
Reduced airflow | System resistance too high | Check system: Proper operation of backdraft or control dampers, obstruction in ductwork, clean dirty filters. |
| Unit running backwards | Correct as shown on page 6, Figure 8. | |
| Excessive dirt buildup on wheels | Clean wheel. | |
| Improper wheel alignment | Center wheel on inlet, see “Pre-Starting Checks” on page 6. | |
| Dampers closed | Inspect and repair. | |
| Blocked duct/clogged filter | Clean or replace. | |
| Belt slippage | Replace and adjust tension. | |
| Speed too slow | Check for correct drives. |
Mounting for Severe Duty Installations
Fan to Curb Mounting: 5/16-inch self-drilling fasteners are to be installed on each side of fan with one fastener 4 inches from each edge and one fastener in the center. Fasteners are to be equally spaced.

| High Wind Ratings | Seismic Ratings | ||||||||
| Fasteners | Fasteners | ||||||||
| Fan Size | Curb Cap Size | Self-Drilling Screw Size | Per Side | Total | Fan Size | Per Side | Total | ||
| Concrete | ≤ 143 | 17×17 to 22×22 (432×432 to 559×559 mm) | 3/8” | 3 | 12 | 060-300 | 2 | 8 | |
| > 143 | 26×26 to 40×40 (660×660 to 1016×1016 mm) | 3 | 12 | 330-540 | 3 | 12 | |||
| Steel | ≤ 143 | 17×17 to 22×22 (432×432 to 559×559 mm) | 1/4” – 14 | 3 | 12 | 060-300 | 2 | 8 | |
| > 143 | 26×26 to 40×40 (660×660 to 1016×1016 mm) | 4 | 16 | 330-540 | 3 | 12 | |||
| Timber | ≤ 143 | 17×17 to 22×22 (432×432 to 559×559 mm) | 3/8” | 3 | 12 | 060-300 | 2 | 8 | |
| > 143 | 26×26 to 40×40 (660×660 to 1016×1016 mm) | 4 | 16 | 330-540 | 3 | 12 | |||
Curb to Deck Mounting: Fasteners need to be located on all four sides of the curb.

NOTE: Installation instructions for seismic ratings are only recommendations.
Final design must be determined by Structural Engineer of Record (SEOR) including requirements for curb construction, mounting of unit to curb and mounting of curb to structure.
Our Commitment
As a result of our commitment to continuous improvement, Accurex reserves the right to change specifications without notice.
Product warranties can be found online at accurex.com, either on the specific product page or in the Warranty section of the website at Accurex.com/Resources/Warranty.
P.O. Box 410 Schofield, WI 54476
Phone: 800.333.1400 •
Fax: 715.241.6191
Parts: 800.355.5354 • accurex.com
474739 • XRED and XREB, Rev. 10, August 2022



























