Ariston 2.5 S Electric Mini Tank Water Heaters User Manual
IMPORTANT SAFETY INSTRUCTIONS
WARNING
When using electrical appliances, safety precautions to reduce the risk of fire, electric shock or injury to persons should be followed, including:
- READ ALL INSTRUCTIONS BEFORE USING THIS WATER HEATER.
- This water heater must be grounded. Connect only to a properly grounded outlet. See “GROUNDING INSTRUCTIONS” found on “INSTALLATION INSTRUCTIONS”.
- Install or locate this water heater only in accordance with the provided installation instructions.
- Use this water heater only for its intended use as described in this manual.
- Do not use an extension cord with this water heater. If no outlet is available adjacent to the water heater, contact a qualified electrician to install one near the heater.
- As with any appliance, close supervision is necessary when used by children.
- Do not operate this water heater if it has a damaged cord or plug if it is not working correctly, or if it has been damaged or dropped.
- This water heater should be serviced only by qualified service personnel. Contact a service person for examination, repair, or adjustment.
- Failure to service the anode rod at least once a year could cause the tank to fail and leak.
Any water heater should be installed in such a manner that if it should leak, the resulting flow of water will not cause damage to the area in which it is installed. National Plumbing codes require a drain pan for any water heater installation. Failure to install one is the sole responsibility of the owner and/or installer. Reference UPC 2000 (Uniform Plumbing Code) Section 510 – Protection from Damage or IPC 200 (International Plumbing Code) Section 504- Safety Devices.
Technical data
| MODEL | GL 2.5 S | GL 4 S GL 4 CA S | GL 6+ S | |
| Capacity | gallons | 2.7 | 4.0 | 7.0 (Hor)/5.1 (Vert) |
| Voltage | VAC | 110/120 for each model | ||
| Power at 120 VAC | Watts | 1500 | 1500 | 1500 |
| Maximum Water pressure psi | 150 | 150 | 150 | |
| Weight (empty) | Lbs | 15.5 | 17.3 | 29.5 |
| Amperage | Amps | 12.50 for each model | ||
| Phases | 1 | 1 | 1 | |
| Temperature Range | F | 65-145 | ||
| Recovery rate | gallons/hour | 6,8 | ||
WARNING
The installer should review the contents of this manual with the owner upon completion of installation, and the manual should be left with the owner and placed in a location close to the installation.


General remarks


CAUTION
The manufacturer cannot be responsible for the damages caused by improper installation or by failure to follow instructions in this manual. Comply with the installation instructions before completing the electric connection.
CAUTION
The GL 4 CA S model is only approved for installations in Canada.
CAUTION
The thermostat has been pre-set at the factory at a temperature:

- Equal or below 51.7°C (125° F) for GL 2.5 S, GL 4 S, and GL 6+ S for USA with UL certification (See fig. 2/4).
- Equal to 60°C (140° F) for GL 4 S for Canada with CSA certification. Check local codes to see if the installation of a tempering valve is required (See fig. 2/5).
CAUTION
Hydrogen gas can be produced in a hot water system served by this heater that has not been used for a long period of time (generally 2 weeks or more). Hydrogen gas is extremely flammable. To reduce the risk of injury under these conditions, it is recommended that the hot water faucet be opened for several minutes at the kitchen sink before using any electrical appliance connected to the hot water system. If hydrogen gas is present, there will probably be an unusual sound such as air escaping through the pipe as the water begins to flow. There should be no smoking or open flame near the faucet at the time.
CAUTION
Any water heater should be installed in such a manner that if it should leak, the resulting flow of water will not cause damage to the area in which it is installed. National Plumbing codes require a drain pan for any water heater installation. Failure to install one is the sole responsibility of the owner and/or installer. Reference UPC 2000 (Uniform Plumbing Code) Section 510- Protection from Damage or IPC 2000 (International Plumbing Code) Section 504- Safety Devices.
Installation instructions
Wall mounting
The GL 2.5 S, GL 4 S, and GL 4 CA S water heaters can be installed under the sink. Fasten the supplied mounting bracket to the wall. Use screws that are suitable for the wall material and the weight of the heater. Hang the water heater on the bracket. Tug downwards on the heater to ensure that both “fingers” of the bracket are seated in the mounting slots.
Floor Mounting
The heater can sit on the floor.
Pipe connections
Connect the cold water inlet pipe to the inlet tapping (marked with a blue ring) and the hot water outlet pipe to the outlet tapping (marked with a red ring). The model GL 6+ S can be piped horizontally from the side or vertically from the top. If you wish to install the unit horizontally, with the piping connections on the right side, you will have to be certain the tap between the two water tappings is plugged, the supplied Temperature and Pressure Relief Valve will need to be installed on top. See the location of the T&P relief valve in Fig. 2/2. If you wish to install the unit vertically, with the piping connections on top, you will have to be certain the tap on the side is plugged, the supplied Temperature and Pressure Relief Valve will need to be installed on top. See the location of the T&P relief valve in Fig. 2/3.
CAUTION
To reduce the risk of excessive pressures and temperatures in this water heater, install the supplied temperature and pressure protective equipment required by local codes but not less than a combination temperature and pressure relief valve certified by a
nationally recognized testing laboratory that maintains periodic inspections of production of listed equipment or materials, as meeting the requirements for Relief Valves and Automatic Gas Shut-off Devices for Hot Water Supply Systems, ANSI Z21.22. The supplied temperature and pressure relief valve is marked with a maximum set pressure (150 psi) that does not exceed the marked maximum working pressure of the water heater. Install the valve in the opening provided and marked for this purpose in the water heater, and orient it or provide tubing so that any discharge from the valve will exit within 6 inches above, or at any distance below, the structural floor, and cannot contact any live electrical part. The discharge opening must not be blocked or reduced in size under any circumstances. National Plumbing codes require a drain pan for any water heater installation. Failure to install one is the sole responsibility of the owner and/or installer. Reference UPC 2000 (Uniform Plumbing Code) Section 510- Protection from Damage or IPC 2000 (International Plumbing Code) Section 504- Safety Devices.
Closed system thermal expansion (for all models)
Periodic discharge of the temperature and pressure relief valve or failure of the element gasket may be due to thermal expansion in a closed water supply system. The water utility supply meter may contain a check valve, backflow preventer, or water pressure-reducing valve which will create a closed water system. During the heating cycle of the water heater, the water expands causing pressure inside the water heater to increase. The temperature and pressure relief valve may discharge hot water under these conditions which results in a loss of energy and a build-up of lime on the relief valve seat.
To prevent this from happening, there are two recommendations:
- Install a diaphragm-type expansion tank that is suitable for potable water on the cold water supply line. The expansion tank must have a minimum capacity of 1.5 U.S. gallons for every 50 gallons of stored water.
- Install a 125 PSI pressure relief valve in the cold water supply line. Make sure the discharge of this valve is directed to an open drain and protected from freezing. Contact the local water supplier or plumbing inspector for information on how to control this situation. Do not plug the temperature and pressure relief valve.
Instructions for use
Starting and testing
Filling the boiler with the network water is the last thing to do, before connecting the tension. It is carried out by opening the tap of the central domestic system and hot water system till all the air from the boiler is out. Check visually for any leaks. For models which are not fitted with a switch, provide electrical power by turning the control knob in a clockwise direction. The light will come back on when the water temperature drops below the thermostat setting. The regulation of the temperature is carried on by turning the handle M fig. 3/1 stationed on the front of the cap: clockwise to increase temperature, anticlockwise to decrease it.


Maintenance instructions
Note: Do not attempt to repair this water heater yourself. Call a service person for assistance. Always turn off the power supply to the heater prior to servicing or draining the heater.
Periodic maintenance
Removing the cover Note: For most of these operations, the water will have to be drained from the heater. For all of these operations, the cord should be disconnected and the front cover removed.
- Pry off the round cover plate (V Fig. 3/1) from its right-hand edge (W Fig. 3/1) with a small flat-head screwdriver.
- Remove the Phillips screw revealed beneath the round cover plate.
- The cover (C Fig. 3/1) can now be removed by pulling out its left-hand edge. When reassembling, work in the opposite way being careful to insert the tongue of the cover into the slot.
Draining the Heater
- If the heater has been installed with flexible hoses, shut off the power supply and turn the heater upside down over a sink to drain the water out of it, OR
- If the heater has been installed with rigid piping, siphon the water out through any (lower) service valve on the (inlet side). Keep a hot water faucet open while siphoning the water out, OR
- If the heater has been installed with flexible hoses, it can also be emptied by siphoning through the inlet side hose. Keep a hot water faucet open while siphoning.
Removing the heating element
- Turn off the power supply and drain the heater (see previous section).
- Remove the front cover plate, and disconnect terminals X, Y, and T (fig. 3/2).
- unscrew the 4 heating element retaining nuts F (fig. 3/2).
- Remove the element. G (fig. 5/1).

Descaling the heating element
Scale deposits can affect the heating capability of the element. Heavy scale can even cause the element to burn out. The element can be descaled either chemically or manually:
- Soak the element in white vinegar or other descaling solution. Once descaled, rinse well with fresh water, to which you should add some baking soda, OR
- Once the element has dried up, use a soft brush (nonmetallic to prevent damaging the stainless steel sheath) on the element. Brush the dried mineral off. Reinstall the element with the gasket and make the wire connections.
- Replace the anode rod (N Fig. 5/2) if it is noticeably deteriorated or considerably shorter than seen in Figure 5/2.
WARNING: make sure the tank has been refilled with water before restoring power.
| 1 | 100XL | VALVE (T&P 3/4”) | ABC |
| 2 | 570241 | ANODE (MAGNESIUM) | C |
| 2 | 574305 | ANODE (MAGNESIUM) | AB |
| 3 | 994147 | GASKET WITH 4 BOLTS | ABC |
| 4 | 994140 | LOCK NUT M6 | ABC |
| 5 | HEATING ELEMENT (1500/120) | AB | |
| 5 | HEATING ELEMENT (1500/120) | C | |
| 6 | WIRED THERMOSTAT | AB | |
| 6 | WIRED THERMOSTAT | C | |
| 7 | 570341 | HEATER WALL HANGING BRACKET | C |
| 8 | PLASTIC COVER | ||
| 9 | KNOB | ||
| 10 | LAMP COVER |
REPLACEMENT OF PARTS
The anode rod (N fig. 5/2) helps protect the tank against corrosion. Depending on the water condition, the magnesium anode rod may need to be changed every year or so. Galvanic and electrolytic corrosion can destroy a tank if the anode rod is “spent”. Rusty water is usually an indication of a “spent” anode rod. If rusty water is present, examine the anode rod immediately. Rapid degradation of the anode rod (less than 1 year) may indicate the presence of galvanic corrosion due to a “stray” direct current. In this case, it may be necessary to add a “grounding strap” from the Ariston tank to the copper plumbing.
- Turn off the power supply and drain the heater (see Draining the Heater).
- Remove the heating element (see previous section).
- Remove and replace the anode rod N Fig. 5/2.
- Refill the tank with water before restoring power.
Changing the heating element
- Turn off the power supply and drain the heater (see Draining the Heater).
- Remove the heating element (see section on Removing the Heating Element).
- Install new element with gasket, making sure the gasket and element are positioned correctly. Tighten the retaining nuts and make the wire connections.
- Refill the tank with water before restoring power.
Changing the thermostat
- Turn off the power supply.
- Disconnect the 2 wire connectors on the thermostat.
- Loosen the two brass screws at the right side of the thermostat and pull the wires out.
- Unscrew and remove the two Phillips screws holding the thermostat onto the tank.
- Install the new thermostat and re-attach the wiring and screws.
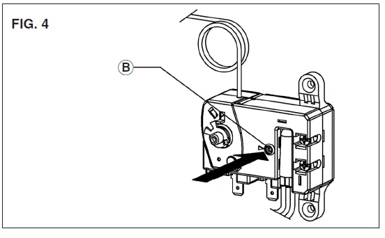
Resetting High Limit Switch
Occasionally, the high-temperature limit shut-off device may trip the reset. This occurs when the water temperature exceeds 190° F. The shut-off device may also trigger a power outage or electrical storm.
To reach the thermostat:
- Disconnect the power cord and remove the front cover. Firmly press the reset button (B Fig. 4) with the tip of a ballpoint pen or similar object. A click indicates the reset was tripped. Reconnect power.
- IMPORTANT: Check the operation of the thermostat, turn the temperature dial from high to low, if the red light does not go off on the low setting, turn off the power supply and call a service person to replace the thermostat.
- If the system works, place the dial set to the desired setting.
Note: a lower setting is more economical and reduces the risk of scalding. Replace the cover plate.
CAUTION: Call a technician if the high limit needs to be reset frequently.
Troubleshooting
Water does not get hot
- Make sure the power supply is on and working.
- If the light does not come on, check that the reset button is pushed in; follow the steps from the previous section.
- If the indicator light works properly but the temperature does not get hot at a tap, test for a plumbing crossover; shut off the cold supply to the heater and open the hot water tap. There should be no water flowing. Any continued flow indicates a crossover which will affect the temperature and will need to be corrected.
- Call a qualified service technician to test the resistance of the heating element (8- 10 ohms). The heating element should be replaced if readings are outside these values.”
Light not on
- If the light does not come on, but the water gets hot, check for the faulty bulb.
- Check the reset button; follow the steps from the previous section.
Brown water
Brown or rusty water indicates a “spent” anode rod. Replace the anode rod.
Odor in water Smelly water could be due to an unusual reaction between local water and the heater’s anode rod. Check the anode rod (see section on changing the anode rod).
Leaking
- Check water fittings and T & P fitting on top of the tank.
- Remove the front cover and inspect the heating element gasket.
- If the tank is leaking call Bosch Water Heating for a warranty claim if still within the warranty period.
ARISTON INTERIOR
COMPONENTS DIAGRAM
GL 2.5 S, 4 S, 4 CA S, 6+ S
ARISTON GL LIMITED 6 YEARS WARRANTY
COVERAGE
ARISTON, THROUGH ITS U.S. DISTRIBUTOR
Bosch Thermotechnology Corp., (hereinafter Bosch) guarantees this water heater to the owner (hereinafter “Owner”) of the water heater at the original installation location against defects in material and workmanship for the periods specified below.
WARRANTY PERIOD
- The inner Tank – If the inner tank leaks within six (6) years from the date of the original installation of the water heater, because of a defect in material or workmanship, Bosch will furnish to such Owner a new heater of the then prevailing comparable model.
- Any Component Part Other than The Original Inner Tank – If any component part (other than the inner tank) is proven to be defective in material or workmanship within one (1) year from the date of the original installation of the water heater, Bosch will furnish the Owner with a replacement of the defective part(s).
- Verification of the Date of Original Installation When the Owner cannot verify or document the original date of installation, the warranty period begins on the date of manufacture marked on the tag affixed to the water heater.
EXCLUSIONS
- THIS LIMITED WARRANTY SHALL BE THE EXCLUSIVE WARRANTY MADE BY THE MANUFACTURER AND IS MADE IN LIEU OF ALL OTHER WARRANTIES, EXPRESSED OR IMPLIED (WHETHER WRITTEN OR ORAL), INCLUDING, BUT NOT LIMITED TO, WARRANTIES OF MERCHANTABILITY AND FITNESS FOR A PARTICULAR PURPOSE.
- The Manufacturer shall not be liable for any incidental, consequential, special, or contingent damages or expenses arising, directly or indirectly, from any defect in the water heater or the use of the water heater.
- The Manufacturer shall not be liable for any water damage arising, directly or indirectly, from any defect in the water heater component part(s) or from its use.
- The manufacturer shall not be liable under this warranty if:
- The water heater or any of its component parts have been subject to misuse, alteration, neglect or accident, or
- The water heater has not been installed in accordance with the applicable local plumbing and/or building code(s) and/or regulation(s), or
- The water heater has not been installed in accordance with the printed manufacturer’s instructions, or
- The water heater is not continuously supplied with potable water.
- The OWNER and not the Manufacturer or his representative shall be liable for and shall pay for all field charges for labor or other expenses incurred in the removal and/or repair of the product or any expense incurred by the owner in order to repair the product. SOME STATES DO NOT ALLOW THE EXCLUSION OR LIMITATION OF INCIDENTAL OR CONSEQUENTIAL DAMAGES, SO THE ABOVE LIMITATION OR EXCLUSION MAY NOT APPLY TO YOU. THIS WARRANTY GIVES YOU SPECIFIC LEGAL RIGHTS AND YOU MAY ALSO HAVE OTHER RIGHTS WHICH MAY VARY FROM STATE TO STATE.
NOTE: A water heater should be installed in such a manner that if it should leak, the resulting flow of water will not cause damage to the area in which it is installed.
HOW THE OWNER CAN SECURE SERVICE OR MAKE A CLAIM
- The owner should contact the dealer who sold the water heater covered by this warranty or
- The owner should submit the warranty claim directly to CEC at the address listed below, and they will arrange for the handling of the claim
- Whenever any inquiry or service request is made, be sure to include the water heater model number, the serial number, the date of installation, the place of purchase, and the installer’s name.
- When returning the water heater or component part(s), they must be individually tagged and identified with the Returned Goods Authorization # issued by Bosch and shipped prepaid to Bosch at the address below.
- Bosch Thermotechnology Corp. 50 Wentworth Ave Londonderry, NH03053 www.boschhotwater.com
Download PDF: Ariston 2.5 S Electric Mini Tank Water Heaters User Manual

IMPORTANT SAFETY INSTRUCTIONS



















