
Vertex™ Edge
QUICK REFERENCE
GUIDE
System Overview
The Honeywell Analytics Vertex Edge System continuously monitors up to 72 remote locations for toxic gases and can be set up to:
- Trigger alarms and open event windows to warn operators of high concentrations
- Display the location, gas type, and gas concentration
- Store the alarm information in a database
The Vertex Edge System provides a fast response to a wide range of gases. Each location may be up to 400 ft (122 m) from the Vertex Edge System. The system uses one or more of Honeywell Analytics’ Chemcassette® analyzers to provide a monitoring system tailored to meet the requirements of the facility.
The Vertex Edge System incorporates a range of redundant and protective features for maximum uptime. See Manual for specifics.
WARNING
Risk of Electric shock
Hazardous voltages are present in the Vertex Edge.
- Ensure power is disconnected prior to service with the exception of the removable analyzers.
- Ensure proper separation between circuits in accordance with the local electrical codes.
- Use solid or stranded wire certified to appropriate ratings but minimum 300 V. Power wiring should be minimum 14 AWG. Communication wiring should be a maximum of 14 AWG.
WARNING
Risk of affecting concentration readings of monitor
- Improper installation of the tubes into the connectors can result in dilution of the gas sample
- Excess amounts of dirt in the external filters reduce the gas sample flow
WARNING
Risk of exposure to toxic gases
Carefully check for proper connections and/or leaks in the exhaust tubing.
WARNING
Risk of Electromagnetic Interference
- Follow the guidelines in the EMC Considerations section of the manual
- Make certain all fasteners are reinstalled and firmly tightened to ensure a proper ground path.
CAUTION
Risk of impaired Monitor Performance
Do not connect an external network to the Ethernet hub. Use only the external Ethernet connection on the Single Board computer.
General Safety
Follow all installation and operational instructions to ensure the safe and reliable operation of this unit.
If this monitor is used in a manner not specified by Honeywell Analytics Inc., the protection provided by the equipment may be impaired.
UL has investigated the Vertex Edge concerning the risk of fire, shock, and injury to persons. UL did not investigate (the equipment covered by the certification) for Life Safety Applications and did not investigate the efficacy or performance.
System Components
The following photos illustrate Vertex Edge System components, ports, connections, and controls.
Analyzer

| 1 | Needle Valve for flow adjustment |
| 2 | Optics Block |
| 3 | RFID reader |
| 4 | Take-up reel |
| 5 | Tape guide roller |
Vertex Edge – front
| 1 | Smart Power Distribution Unit |
| 2 | Analyzer |
| 3 | Pump |
| 4 | HMI PC with touch screen |
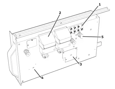
Vertex Edge- back
| 1 | Smart Power |
| Distribution Unit | |
| 2 | Analyzer |
| 3 | Pump |
Analyzer Modules
The Vertex Edge System is populated with Chemcassette type analyzer modules. Modules are installed in slots on one of three tiers. Each tier includes three slots for a total of nine slots.
Vertex Edge
| Tier 1 | CC | CC | CC |
| Tier 2 | CC | CC | CC |
| Tier 3 | CC | CC | CC |
| Slot 1 | Slot 2 | Slot 3 |
Vertex Edge Module Tier Structure
Chemcassette ® modules occupy one slot each.
| Number of Points | Installed into Slots | Total Possible per Vertex Edge System | |
| Chemcassette | 8 | 1, 2 or 3 | 9 |
Vertex Edge Required Slots
Connecting AC Power
● The Vertex Edge power terminals are accessible from the front panel. See manual for details.
– 208-240 VAC, 15 A, 50/60 Hz
An easily accessible service disconnect/power switch must be installed near the instrument, and the switch must be marked as the main disconnect rated 20A.
Vertex Edge Wiring
The input power cable should be #14 AWG minimum. The safety ground wire must be the same or larger gauge as the line wires.
Plug the AC power connection to the terminal block inside the junction box. The Vertex Edge System requires a dedicated AC circuit rated at 208-240 volts, 50/60 Hz, 15 Amp single phase providing hot, neutral, and ground lines. Line voltage should fluctuate no more than ± 10%.
Power On/Off
An internal rack power switch is located behind the door.
After performing self-diagnostics, the Vertex Edge System main screen opens and the system returns to the same state it was in prior to power down.
Communications, Data Acquisition, Ethernet
See manual for complete details on wiring and programming these functions.
Sample Line Connections

To prepare for the installation of sample lines, remove the FEP Teflon tubing from the packaging. The top of the unit includes 73
connections.
● 72 Sample Inlets for Vertex Edge.
● Point legend follows and is in proper sequence.
● Exhaust Outlet.
Each inlet has a quick connect/disconnect fitting with an internal O-ring and an external grab ring. To install a tube into a sample line inlet, insert the tube far enough into the fitting to ensure that the tube has passed through both the external grab ring and the internal O-ring and is firmly seated against the stop. The insertion depth for a correctly installed sampling line is 1/2 in. to 5/8 in. (12 mm -16 mm). Verify the insertion depth by holding the tube and marking with your thumb where it emerges from the fitting. Remove the tube to measure the insertion depth.
Note: Unused points do require a Filter Kit to be installed (Part Number 1295A0702).
Installing Sample Line Particulate Filters
You MUST attach a sample line filter to the sampling end of the line for all locations because there are no filters inside the analyzer.
Installing Pump Exhaust Line
This section describes exhaust connections and installation. The Vertex Edge Systems are equipped with a vacuum pump that is located at the bottom of the Vertex Edge System cabinet. The pump exhaust line connects to the manufacturing facility’s central toxic exhaust system.
Exhaust Line Installation Requirements
Follow these general requirements when installing exhaust lines:
- The length of the line should not exceed 50 ft. (15.2m). If longer distances are required, contact Honeywell Analytics.
- Do not crimp exhaust lines, or place them in an area where weight could collapse the tubing, or bend them to less than a 12 in. (30.5 cm) radius.
- Where possible, leave as many bends exposed for periodic visual inspection of the line for kinked or damaged tubing.
- Varying exhaust pressure can induce pump failure or flow faults.
Exhaust Line Connection
The instrument includes 20 ft. (6 m) of 3/8 in. (10 mm) I.D. x 1/2 in.
(13 mm) O.D. Teflon tubing. Insert the tubing into the exhaust port on the top of the unit to the depth of 0.9 in. (23 mm).
To ensure a leak-free installation:
- Use a polypropylene tube with outside diameter 0.375 in. (9.525mm) +/.005 in. (0.127mm).
- Verify that the external surface of the tube is free of score marks and scratches that could compromise the O-ring seal used in the fitting over the insertion depth.
- Cut the tube end perpendicular to its length 0.062 in (1.5mm) from its end.
- Insert the tube in the fitting to a depth of 0.95 in. (24.13mm) ±0.05 inches (1.27mm)
With the system running, verify the leak integrity with a small amount of leak test fluid.
Network Computer Security
Vertex Edge is a Linux-based computer. While remote login and unused network ports are blocked, we recommend using an external firewall to isolate the monitor from any malicious ethernet traffic.
Validating the System
Commissioning of the gas detection system is not complete until it is tested to verify it functions according to its design objectives or specifications. For validation or commissioning after installation by gas exposure, these Technical Notes are available upon request from Honeywell Analytics:
1998-0837 Calibration and Verification
1998-0219 Detector Testing Protocols
Operating Conditions
Indoor use only.
Altitude: Up to 6000ft
Temperature: 15°C to 35°C
Relative humidity: 20~80%RH
Contact Us
Honeywell Analytics
405 Barclay Boulevard
Lincolnshire, Illinois
60069, USA
[email protected]
Tel: +1 847 955 8200
Toll free: +1 800 538 0363

https://www.honeywellanalytics.com
Scan this code for further reference to Vertex Edge Systems on the Honeywell Analytics website

© 2020, Aug 4 1998-2001 Revision A1



















