
HG2 Switching Power Supply
User Manual
Product Type: Switching Power Supply
Model Name: HG2, HP2, PSM, PSL
June 18, 2003
Version 1.0
P/N?
Safety and Warnings
IMPORTANT INFORMATION ON
SAFETY AND PROPER OPERATION OF THE POWER SUPPLY.
<< Read the information carefully before using it. >>
- Do not attempt to take apart the power supply. There are hazardous voltages inside.
- Do not add or remove any components from the power supply. Warranty void by doing so.
- Only an authorized technician or service center is allowed to open the power supply for product services.
- Never alter the power supply cord or plug. Improper modification can result in severe electrical shock.
- Do not expose the power supply to high moisture, very dusty, or extreme temperature environments.
- Connect power supply only to designated power sources. Do not place any other materials into the inlet of the power supply other than the power cord.
- Do not plug or unplug the power cord with wet hands.
- To avoid power cord damage, remove the power cord from the wall outlet by grabbing the plug instead of the cord.
- Make sure the power cord is properly routed so that it will not be stepped on, tripped over, or otherwise subjected to damage or stress.
- To avoid electrical shock, unplug the unit from the power source before attempting any cleaning.
Note1: For safety purposes, the power cord must comply with the requirements of the National Safety Code.
Note2: All relevant registered trademarks are strictly the property of their respective companies.
Nobte3: No further notice will be given for any revision of the product, either modification or a newer version.
Product and Accessories
Please contact your local dealers if any of the following product or accessory is missing from the package.
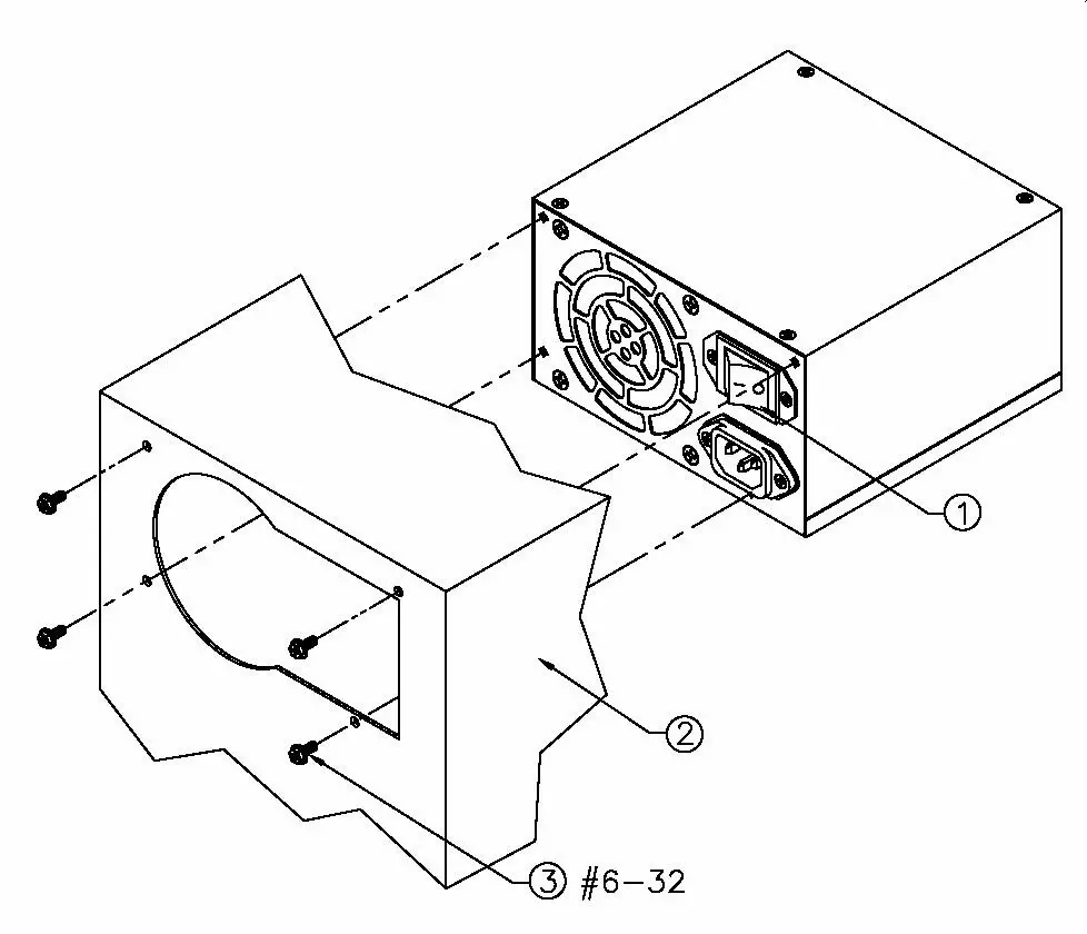
- Power Supply Unit. (Refer to the Figure)
- Screws x 4.
• To prevent missing screws during shipment, screws were installed on the power supply. When installing the power supply into the computer, remove those four screws first, please do not remove the fan or case screws. All four screws should be installed and fastened. - ATE (Auto Testing Equipment) report.
- User manual.
- Optional item – AC power cord.
Remark: All items listed above have been tested and approved; unauthorized accessories should not be used on this product.

Note: The above figure is just a sample; please refer to the actual product.
Remark:
- I/O switch on the rear panel is only available for the HG2 model.
- The computer case shown above is not part of the power supply.
- Screws and their specifications.
Pin Assignment
Always check the socket and pin assignment (for devices such as motherboard, Hard Disk, etc.) before connecting the two heads.

24PINS (EPS12V)
| PIN NO. | COLOR | OUTPUT | PIN NO. | COLOR | OUTPUT |
| 1 | ORANGE | +3.3V | 13 | ORANGE | +3.3V |
| 2 | ORANGE | +3.3V | 14 | BLUE | -12V |
| 3 | BLACK | GND | 15 | BLACK | GND |
| 4 | RED | +5V | 16 | GREEN | PS-ON |
| 5 | BLACK | GND | 17 | BLACK | GND |
| 6 | RED | +5V | 18 | BLACK | GND |
| 7 | BLACK | GND | 19 | BLACK | GND |
| 8 | GREY | PWR-OK | 20 | WHITE | -5V |
| 9 | PURPLE | +5VSB | 21 | RED | +5V |
| 10 | YELLOW | +12V | 22 | RED | +5V |
| 11 | YELLOW | +12V | 23 | RED | +5V |
| 12 | ORANGE | +3.3V | 24 | BLACK | GND |

24PINS (AMD, ATX-GES)
| PIN NO. | COLOR | OUTPUT | PIN NO. | COLOR | OUTPUT |
| 1 | RED | +5V | 13 | RED | +5V |
| 2 | RED | +5V | 14 | RED | +5V |
| 3 | BLACK | GND | 15 | BLACK | GND |
| 4 | BLACK | GND | 16 | PURPLE | +5VSB |
| 5 | GREEN | PS-ON | 17 | BLUE | -12V |
| 6 | BLACK | GND | 18 | BLACK | GND |
| 7 | ORANGE | +3.3V | 19 | ORANGE | +3.3V |
| 8 | ORANGE | +3.3V | 20 | ORANGE | +3.3V |
| 9 | BLACK | GND | 21 | ORANGE | +3.3V |
| 10 | BLACK | GND | 22 | BLACK | GND |
| 11 | YELLOW | +12V | 23 | BLACK | GND |
| 12 | YELLOW | +12V | 24 | YELLOW | +12V |

20PINS (ATX12V)
| PIN NO. | COLOR | OUTPUT | PIN NO. | COLOR | OUTPUT |
| 1 | ORANGE | +3.3V | 11 | ORANGE | +3.3V |
| 2 | ORANGE | +3.3V | 12 | BLUE | -12V |
| 3 | BLACK | GND | 13 | BLACK | GND |
| 4 | RED | +5V | 14 | GREEN | PS-ON |
| 5 | BLACK | GND | 15 | BLACK | GND |
| 6 | RED | +5V | 16 | BLACK | GND |
| 7 | BLACK | GND | 17 | BLACK | GND |
| 8 | GREY | PWR-OK | 18 | WHITE | -5V |
| 9 | PURPLE | +5VSB | 19 | RED | +5V |
| 10 | YELLOW | +12V | 20 | RED | +5V |

8PINS (EPS12V)
| PIN NO. | COLOR | OUTPUT | PIN NO. | COLOR | OUTPUT |
| 1 | BLACK | GND | 5 | YELLOW | +12V |
| 2 | BLACK | GND | 6 | YELLOW | +12V |
| 3 | BLACK | GND | 7 | YELLOW | +12V |
| 4 | BLACK | GND | 8 | YELLOW | +12V |

8PINS (AMD, ATX-GES)
| PIN NO. | COLOR | OUTPUT | PIN NO. | COLOR | OUTPUT |
| 1 | RED | +5V | 5 | BLACK | GND |
| 2 | GREY | PWR-OK | 6 | YELLOW | +12V |
| 3 | BLACK | GND | 7 | YELLOW | +12V |
| 4 | BLACK | GND | 8 | YELLOW | +12V |

6PINS (EPS12V, OPTION)
| PIN NO. | COLOR | OUTPUT | PIN NO. | COLOR | OUTPUT |
| 1 | ORANGE | +3.3V | 4 | BLACK | GND |
| 2 | ORANGE | +3.3V | 5 | BLACK | GND |
| 3 | YELLOW | +12V | 6 | YELLOW | +12V |

4PINS (ATX12V, FOR P4)
| PIN NO. | COLOR | OUTPUT | PIN NO. | COLOR | OUTPUT |
| 1 | BLACK | GND | 3 | YELLOW | +12V |
| 2 | BLACK | GND | 4 | YELLOW | +12V |
15PINS (SERIAL ATA HD)
| NO. | COLOR | OUTPUT |
| 1~3 | ORANGE | +3.3V |
| 4~6 | BLACK | GND |
| 7~9 | RED | +5V |
| 10~12 | BLACK | GND |
| 13~15 | YELLOW | +12V |

4PINS (HD/CD-ROM/RW)
| PIN NO. | COLOR | OUTPUT | PIN NO. | COLOR | OUTPUT |
| 1 | YELLOW | +12V | 3 | BLACK | GND |
| 2 | BLACK | GND | 4 | RED | +5V |

4PINS (FLOPPY DISK)
| PIN NO. | COLOR | OUTPUT | PIN NO. | COLOR | OUTPUT |
| 1 | YELLOW | +12V | 3 | BLACK | GND |
| 2 | BLACK | GND | 4 | RED | +5V |
Specifications
Please refer to the specifications according to the actual product purchased.
Note: The new feature, “Prolonged Cooling” after the power supply is remote-off only available on model HG2. Under normal conditions, when the power supply is at “Remote-off” ode, the cooling fan will remain in operation for the secondary heat dissipation and will come to stop at a much lower temperature. This will prolong the life of the power supply.
INPUT CHARACTERISTICS:
HG2-6300/6350/6400P
- VOLTAGE: 90 ~ 240 VAC FULL RANGE.
- FREQUENCY: 47 ~ 63 HZ.
- INPUT CURRENT: 6/7/8.0 A (RMS) FOR 115VAC, 3/3.5/4.0 A (RMS) FOR 230VAC.
- INRUSH CURRENT: 65A MAX. FOR 115 VAC, 125A MAX. FOR 230 VAC.
OUTPUT CHARACTERISTICS:
| O U T P U T V O LT A G E | O U T P U T C U R R EN T (A ) | R E G U LA T IO N | O U T P U T | |||
| M IN. | MAX. | P E A K | LO A D | LIN E | R IPP LE & N O IS E M A X . [P -P | |
| 5 V | 3 | 35 | ± 5 % | ± 1 % | 50 m V | |
| 12 V | 2 | 22 /26 /30 | + 7 % /-5 % | ± 1 % | 120 m V | |
| -5 V | 0 | 0 .8 | ± 5 % | ± 1 % | 150 m V | |
| -12 V | 0 | 1 .0 | ± 5 % | ± 1 % | 150 m V | |
| 3 .3 V | 1 | 25 | ± 5 % | ± 1 % | 50 m V | |
| + 5 V S B | 0 .1 | 2 | ± 5 % | ± 1 % | 50 m V | |
MARK: THE OUTPUT CURRENT OF 5V & 3.3V SHOULD NOT EXCEED 45A.
SPECIFICATION:
- TEMPERATURE RANGE: OPERATING 0℃ — 40℃.
- HOLD UP TIME: 16 ms MINIMUM AT FULL LOAD & NORMAL INPUT VOLTAGE.
- DIELECTRIC WITHSTAND:
INPUT / OUTPUT 1500 VAC FOR 1 SECOND.
INPUT TO FRAME GROUND 1500 VAC FOR 1 SECOND. - EFFICIENCY: 68% TYPICAL.
- POWER GOOD SIGNAL: ON DELAY 100 ms TO 500 ms, OFF DELAY 1 ms.
- OVERLOAD PROTECTION: 130 +/- 20%.
OVER VOLTAGE PROTECTION:
+5V 5.7V ~ 6.5V, 3.3V→3.9 ~ 4.3V, 12V → 13.6 ~ 15V. - SHORT CIRCUIT PROTECTION: +5V, -5V, +12V, -12V, +3.3V.
- EMI NOISE FILTER: FCC CLASS B, CISPR22 CLASS B.
- SAFETY: UL 1950, CSA 22.2 NO/ 950, TÜV IEC 950.
- REMOTE ON / OFF CONTROL.
THE UNIT SHALL ACCEPT A LOGIC OPEN COLLECTOR LEVEL WHICH WILL DISABLE / ENABLE ALL OUTPUT VOLTAGES (EXCLUDE +5V STANDBY), AS LOGIC LEVEL IS LOW, OUTPUTS VOLTAGE WERE ENABLED, AS LOGIC LEVEL IS HIGH, OUTPUTS VOLTAGE WAS DISABLED. - 3.3V / 5V REMOTE SENSING.
- COOLING: ONE 80mm BALL BEARING DC FAN.
- DIMENSION: 140 (D) x150 (W) x 86 (H) mm (PS/2).
- ACTIVE POWER FACTOR CORRECTION MEETS IEC-1000-3-2 CLASS D.
- ADVANCE THERMAL & ACOUSTICS CONTROL FEATURES.
Please refer to the specifications according to the actual product purchased.
INPUT CHARACTERISTICS:
HP2-6460P/6500P
- VOLTAGE: 90 ~ 264 VAC FULL RANGE.
- FREQUENCY: 47 ~ 63 Hz.
- INPUT CURRENT: 8.0 A FOR 115 VAC, 4.0 A FOR 230 VAC.
- INRUSH CURRENT: 65 A MAX. FOR 115 VAC, 125 A MAX. FOR 230 VAC.
OUTPUT CHARACTERISTICS:
| OUTPUT VOLTAGE | OUTPUT CURRENT | REGULATION | OUTPUT | ||
| MIN.[A] | MAX.[A] | LOAD | LINE | RIPPLE & NOISE MAX. [P-P] | |
| 5V | 2.5 | 40 | ± 5% | ± 1% | 60m V |
| 12V | 1.0 | 27~32 | ± 5% | ± 1% | 100m V |
| -5V | 0 | 0.8 | ± 5% | ± 1% | 100m V |
| -12V | 0 | 1.0 | ± 5% | ± 1% | 100m V |
| 3.3V | 1.0 | 30 | +5, -5% | ± 1% | 60m V |
| +5VSB | 0.1 | 2 | ± 5% | ± 1% | 60m V |
REMARK: TOTAL OUTPUT SHOULD NOT EXCEED 460W/500W FOR HP2-6460P/6500P.
*** WHEN PERFORMING A CROSS-REGULATION TEST, IT IS REQUESTED TO SET THE HIGHER OUTPUT CHANNEL AT 90% MAXIMUM AND THE LOWER OUTPUT CHANNELS AT 20% MINIMUM OF RATED SPEC.
- TEMPERATURE RANGE: OPERATING 0 0 0 C — 40 0 C, STORAGE –20 0 C — 70 C.
- HUMIDITY: 10 ~ 90 % RH.
- HOLD UP TIME: 16 ms MINIMUM AT FULL LOAD & 90 VAC INPUT VOLTAGE.
- DIELECTRIC WITHSTAND: INPUT / OUTPUT 1500 VAC FOR 1 MINUTE, INPUT TO FRAME GROUND 1500 VAC FOR 1 MINUTE.
- EFFICIENCY: 71% TYPICAL, AT FULL LOAD, 115VAC.
- POWER GOOD SIGNAL: ON DELAY 100 ms TO 500 ms, OFF DELAY 1 ms
- OVERLOAD PROTECTION: 110 ~ 150% MAX.
- OVER CURRENT PROTECTION: +5V → 44 A ~ 60 A, + 3.3V → 33 A ~ 45 A, 12V → 35.2 A ~ 48.0 A.
- OVER VOLTAGE PROTECTION:
+5V 5.7V ~ 6.5V, 3.3V 3.9 ~ 4.3V, 12V 13.6 ~ 15V. - EMI: MEET FCC CLASS B, CISPR22 CLASS B.
- SAFETY: UL 1950, CSA 22.2 NO/ 950, TÜV IEC 950.
- REMOTE ON / OFF CONTROL.
- SHORT CIRCUIT PROTECTION: SHUTDOWN AND LATCH.
- BUILT-IN ACTIVE POWER FACTOR CORRECTOR.
- DIMENSION: 86(H) X 150(W) X 140 (D) mm (PS/2).
- COOLING: ONE 80 mm BALL BEARING DC FAN.
Please refer to the specifications according to the actual product purchased.
INPUT CHARACTERISTICS:
PSM-6550P/6600P
- VOLTAGE: 90 ~ 264 VAC FULL RANGE.
- FREQUENCY: 47 ~ 63 Hz.
- INPUT CURRENT: 10.0 A FOR 115 VAC, 5.0 A FOR 230 VAC.
- INRUSH CURRENT: 65 A MAX. FOR 115 VAC, 125 A MAX. FOR 230 VAC.
OUTPUT CHARACTERISTICS:
| OUTPUT VOLTAGE | OUTPUT CURRENT | REGULATION | OUTPUT | ||
| MIN.[A] | MAX.[A] | LOAD | LINE | RIPPLE & NOISE MAX. [P-P] | |
| 5V | 0.5 | 30 | ± 5% | ± 1% | 60mV |
| 12V1 | 1.5 | 26 | ± 5% | ± 1% | 100mV |
| 12V2 | 0 | 20 | ± 5% | ± 1% | 100mV |
| -12V | 0 | 0.8 | ± 5% | ± 1% | 100mV |
| 3.3V | 0.5 | 30 | +5, -5% | ± 1% | 60mV |
| +5VSB | 0 | 2 | ± 5% | ± 1% | 60mV |
REMARKS:
- +5V AND +3.3V TOTAL MAX. POWER: 170W
- +3.3V AND +5V AND +12V2 TOTAL MAX. POWER: 600W
- TOTAL MAX. POWER: 1200W
SPECIFICATION:
- TEMPERATURE RANGE: OPERATING 0℃ — 40℃; STORAGE TEMPERATURE: -20℃ – 80℃
- HOLD UP TIME: 18mS MINIMUM AT 90V FULL LOAD & NOMINAL INPUT VOLTAGE
- EFFICIENCY: 81%-86% TYPICAL AT 115V, FULL LOAD
- LEAKAGE CURRENT: 3.5 mA. MAX. AT NOMINAL VOLTAGE 264VAC
- POWER GOOD SIGNAL: ON DELAY 100 ms TO 500 ms, OFF DELAY 1 ms
- OVER POWER PROTECTION: 110%~160%
- OVER VOLTAGE PROTECTION: +3.3V→3.6~4.3V, +5V→5.5~6.5V, +12V1→13.2~15.6V, +12V2→ 13.2~15.6V
- OVER CURRENT PROTECTION: +3.3V→27.5~37.5A, +5V→ 27.5~37.5A, +12V1→55~75A, +12V2→55~75A
- SHORT CIRCUIT PROTECTION: +3.3V, +5V, +12V1, +12V2, -12V
- SAFETY: TUV, CB, CCC, RFI/EMI STANDARDS
- EMI NOISE FILTER: FCC CLASS B, CISPR22 CLASS B
- COOLING: 8 0mm DC FANS
- I2C FEATURES (OPTIONAL)
- DIMENSION: 220 (D) x 150 (W) x 86 (H) mm
Operational Procedure
- When removing four attached screws to install this product, please make sure not to remove fan or case screws by mistake.
- Tighten four screws onto the computer case and double-check for stability. (Please refer to the figure on page 4).
- Before connecting the units, make sure you verify connector and pin assignment for devices such as motherboard, hard disk, etc. For example, the pin assignments of 24-pin and 8-pin connectors on the AMD Athlon MP Motherboard are totally different from than Intel Xeon motherboard. Severe damages may occur by a wrong connection.
- Check product specifications and calculate the actual current requirements of each DC voltage. Make sure these requirements fall within the minimum and maximum range of power supply. If the current requirements are below the minimum load spec., the power supply may not start up. If the current requirements are over the maximum load spec., our over-protection circuitry will latch and shut down the power supply.
- Plug in the power cord to the inlet of the power supply.
• Only HG2 models have line power I/O rocker switch. Please set the switch to “I” or “ON” to turn on line power. For other models, just plug the power cord into the electrical outlet directly.
• Active Power Factor Correction (PFC) function is available for all power supply models listed in this manual. The PFC function ensures maximum efficiency of power usage to preserve energy and lower your electrical bills. It also automatically adapts to a very wide range of AC line voltage: 100V to 240V AC. (There are no manual switches for you to select AC input). This unique design ensures you can use our power supplies anywhere in the world. - You can start up the power supply remotely by using “Remote on”.
Troubleshooting & Maintenance
| SYMPTOM | COUNTERMEASURE |
| No power? | • After plug main connectors, such as 24-pin or 20-pin and aux. connectors if needed, to motherboard socket, make sure AC power cord gets AC line source that is on a wall outlet, to this product power supply. If the AC power cord gets an AC line source throa ugh power bar or UPS, turn on these devices first. • If the product model is HG2, set the I/O switch off the power supply panel to “I” or “ON”. Other, models HP2, PSM, and PSL don’t have a line power I/O rocker switch. • Boot system from computer case I/O. • Check product specifications and cathe calculate the actual current requirements of each DC voltage. Make sure these requirements fall within the minimum and maximum range of power supply. (i) If the current requirements are below the minimum load spec., the power supply may not start up. Increase load. (ii) If the current requirements are over the maximum load spec.,our over-protection circuitry will latch and shut down the power supply. Reduce load or use a larger capacity power supply. • There may be a system incompatibility or wrong connector pinout or connection n when the power supply its fan has spun for while then shutdown. For example, (i) Use wrong pin assignments of 24-pin and 8-pin connectors e.g. For AMD Athlon MP Motherboard connectors are totally different than Intel Xeon motherboard. Severe damages may occur by plugging the wrong connection. (ii) Plug wrong pin position on small 4-pin floppy drive connector to cause connection displacement. [Action] Remove all connectors at all first, then one-by-one to plug in one connector at a time and verify the operation of each device and system function. When no problem, proceed next device. • The power supply could be latched by a self-protection function (e.g. “over voltage”, “over current”, “overload”). Remove the power cord, wait for 20 seconds or more to discharge its electricity, then plug in the power cord again, and try to restart the computer. |
| Power is on, but no monitor display? | • Check if the video card is seated properly; check the video cable connection. • Verify system and motherboard requirements. For example, some motherboards require RAM in pairs to work properly, such as Tyan #S2665. |
Technical Support
To best serve our customers, there are several services available to suit your needs:
- For detailed products specification: please visit www.zippy.com
- For technical inquiries: please send an e-mail to [email protected]
- For RMA service: please prepare the following items before calling the RMA department,
• Proof of purchase (original dated receipt)
• Product serial number (SER. NO.) (Refer to the label on the product and diagram below)
• Product part number (P/N)
• Product model
• A detailed description of problems
Notes: Different distributors or resellers have their specific RMA terms and conditions; please contact them for detailed information.
Locations of relevant information:
e.g.(1)Model HP2-6460P,(2)S/N T3240001,(3)P/N 2000370018Actual contents may not be the same for different models.
- Please feel free to contact us via e-mail should you encounter any technical problems beyond the scope of this user manual.
- We carry more than 120 standing high-quality power supply models and over six hundred various sub-models. Please visit www.zippy.com for more detailed information.
Downloaded from Arrow.com.


















