BRAYER BR1702 Centrifugal Juicer Instruction Manual

JUICER BR1702
With our Juicer you can make fresh juice from fruits and vegetables.
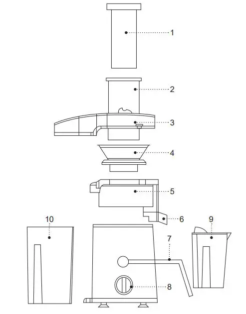
DESCRIPTION

- Plunger
- Feeding chute
- Lid
- Grate filter
- Juice bowl
- Juice spout
- Lock
- Mode switch
- Juice container
- Pulp container
SAFETY MEASURES AND OPERATION RECOMMENDATIONS
Read the operation manual carefully before using the press Juicer; after reading, keep it for future reference.
ATTENTION! Do not operate the Juicer for more than 1 minute at a time. Please wait a minimum of 1 minute before operating the Juicer again.
- Use the press Juicer for its intended purpose only, as specified in this manual.
- Mishandling the Juicer can lead to its breakage and cause harm to the user or damage to the user’s property, which is not covered by warranty.
- Make sure that the operating voltage of the unit indicated on the label corresponds to your home mains voltage.
- Do not connect the unit to external timers or remotely controlled mains sockets.
- Install and use the press Juicer on a flat, dry, steady surface with free access to the mains socket.
- Do not use the unit outdoors.
- It is recommended not to use the unit during lightning storms.
- Protect the Juicer from impacts, falling, vibrations and other mechanical stress.
- Never leave the unit connected to the mains unattended.
- Do not use the unit near heating appliances, heat sources or open flame.
- Do not use the Juicer in places where aerosols are used or sprayed, and in proximity to inflammable liquids.
- Do not use the Juicer in proximity to the kitchen sink, in bathrooms, near swimming pools or other containers filled with water.
- If the Juicer is dropped into water, unplug it immediately, and only then you can take the unit out of water. Contact a service center to check or repair the unit.
- Do not let the power cord touch hot surfaces and sharp edges of furniture.
- Use only the removable parts supplied with the press Juicer.
- The Juicer is not intended for mixing foods.
- Do not use the Juicer without the pulp container.
- Be careful when installing and removing the grate filter – the surface of the grater disc is sharp.
- Always check the grate filter for damages, do not install the grate filter or use the Juicer should you discover any – replace the grate filter first.
- Do not use your fingers or any utensil other than the included plunger while inserting fruits and vegetables into the feeding chute.
- Do not lean over the open feeding chute while the Juicer is in use – fruit and vegetable pieces may shoot out of the chute and injure the user.
- Do not disassemble the Juicer if the device is plugged into the mains.
- Unplug the unit after usage or before cleaning. When unplugging the Juicer, hold the power plug and carefully remove it from the mains socket, do not pull the power cord, as this can lead to its damage and cause a short circuit.
- Do not touch the unit body, the power cord and the power plug with wet hands.
- For child safety reasons do not leave polyethylene bags used as packaging unattended.ATTENTION! Do not allow children to play with polyethylene bags or packaging film. Danger of suffocation!
- The unit is not intended for usage by children.
- Do not leave children unattended to prevent using the unit as a toy.
- Do not allow children to touch the operating surface, the unit body, the power cord or the power plug during operation of the unit.
- Be especially careful if children or disabled persons are near the operating unit.
- During the unit operation and breaks between operation cycles, place the unit out of reach of children.
- The unit is not intended for usage by physically or mentally disabled persons (including children) or by persons lacking experience or knowledge if they are not under supervision of a person who is responsible for their safety or if they are not instructed by this person on the usage of the unit.
- From time to time check the power cord integrity.
- If the power cord is damaged, it should be replaced by the manufacturer, a maintenance service or similar qualified personnel to avoid danger.
- Do not repair the unit by yourself. Do not disassemble the unit by yourself, if any malfunction is detected, and after the unit was dropped, unplug it and apply to the authorized service center.
- To avoid damages, transport the unit in the original package.
- Keep the unit in a dry cool place out of reach of children and disabled persons.
THE UNIT IS INTENDED FOR HOUSEHOLD USE ONLY, DO NOT USE THE UNIT FOR COMMERCIAL OR LABORATORY PURPOSES.
BEFORE THE FIRST USE
After unit transportation or storage at negative temperature, unpack it and wait for 3 hours before using.
- Unpack the unit and remove all the packaging materials.
- Keep the original package.
- Read the safety measures and operating recommendations.
- Check the delivery set.
- Examine the unit for damages, in case of damage do not plug it into the mains.
- Make sure that specified specifications of power supply voltage of the unit correspond to the specifications of your mains. When the unit is used in the mains with 60 Hz frequency, it does not need any additional settings.
- Disassemble the Juicer and wash the parts that come into contact with fruit and vegetables when the Juicer is in use.
- Extract the plunger (1) from the feeding chute (2) of the lid (3).
- Lower the lock (7) and close the lid (3).
- For your convenience, remove the grate filter (4) together with the juice bowl (5), by seizing the juice bowl (5) and pulling it upwards.
- Thoroughly wash the removable parts (1, 3, 4, 5, 9, 10, 11) with a neutral detergent, rinse, and dry them.
Note: take caution – the sharp surface of the grater disc can cause injury.
- Assemble the Juicer in reverse order, install the juice bowl (5) onto the motor unit, install the grate filter (4), – you will hear a characteristic clicking sound, put the Lid (3) on, fixate the lid (3) by raising the lock (7), insert the plunger (1) into the feeding chute (2).
TIPS
- The Juicer is not intended for extracting juice from fruits, containing high levels of
- pectin or starch, such as bananas, papayas, figs, redcurrants, blackcurrants, avocados, and etc., bananas contain little to no juice, only add them for the scent.
- The Juicer is not intended to process too hard highfiber foods, such as, coconuts, quinces, rheum, and etc.
- Use other types of kitchen appliances to process those kinds of food.
- Only use ripe fruit and fresh vegetables, as they contain most juice.
- Various fruits (apples, grapes, pineapples, and etc.) and vegetables (carrots, beetroot, celery stalks, spinach, cucumbers, tomatoes, and etc.).
- Wash and dry fruit and vegetables thoroughly before extracting juice from them.
- Berries are quick to lose their freshness, wash them immediately before juicing.
- Removing only the thicker skins of such ingredients as, for example, pineapples or beetroot. Removing the thinner ones is not necessary.
- Choose the apple cultivar according to your needs; remember that the richness of the juice will depend on the cultivar.
- You can keep the core of the apple while extracting apple juice.
- Apple juice quickly darkens, to slower this process add a few drops of lemon juice.
- Drink juice immediately following its extraction; if left in open air, it will lose its taste and nutritional value.
- If you are planning to store the juice, pour it into an airtight container and keep in a refrigerator.
- Do not store the juice in metal containers – it can acquire metal taste.
MAKING JUICE
ATTENTION!
– Do not operate the Juicer for more than 1 minute at a time. Please wait a minimum of 1 minute before operating the Juicer again.
– Always check the grate filter (4) for damages before assembling the Juicer.
– Do not use the Juicer if the grate filter (4) is damaged.
- Prepare fruits or vegetables, thoroughly wash them, remove inedible parts of the fruits, such as peduncles, remove the thick skin from the pineapple, remove the seeds from the cherries and peaches, cut the fruit into pieces that will easily fit into the feeding chute (2).
- Make sure that the Juicer has been assembled correctly and that the lock (7) is in the right position.
- Position the Juicer on an even, dry, and steady surface, so that the mains socket is always freely accessible.
- Make sure that the mode switch (8) is set to «0», and the device is not plugged into the mains.
- Install the pulp container (10) under the lid (3) at the back of the Juicer.
- Install the juice container (9) under the juice spout (6).
- Insert the power plug into the mains socket.
- In order to turn the Juicer on, set the mode switch (8) to «1» – low speed or «2» – high speed.
- Use the low speed «1» to extract juice from soft fruits, berries, and vegetables: – ripe pears, oranges, plums, pineapples, grapes, strawberries, tomatoes, cucumbers, and etc.
- Use the high speed «2» to extract juice from hard fruits and vegetables: – apples, carrots, beetroot, potatoes, marrows, pumpkins, celery, and etc.
Note: the characteristic smell of electric motor is to be expected during first use, as the electric motor needs some time to smooth out the carbon brushes. This is normal and does not constitute a warrantable failure.
- Only put fruit and vegetables into the feeding chute (2), when the grate filter (4) is rotating, while lightly pushing them through with the plunger (1). Avoid applying excessive force when pushing the plunger (1), too much pressure can cause the grate filter (4) to stop rotating. The slower the pace at which fruit and vegetables are shredding, the greater the juice output is.
- Do not use your fingers or any utensil other than the included plunger (1) while inserting fruits and vegetables into the feeding chute (2).
- Check whether the grate filter (4) is clogged up with pulp regularly. If necessary, turn the Juicer off, by setting the mode switch (8) to «0», and unplug it from the mains.
- Disassemble the Juicer, remove the grate filter (4), wash the grate filter (4) in running water and reinstall it back, reinstall the other removed parts and you will be able to continue using the Juicer.
- Once the juice container (9) has filled up, turn the Juicer off and pour the juice into a suitable container.
- Watch the pulp container (10) as it fills, should the pulp container (10)
- top up, turn off the Juicer, and remove the pulp from the pulp container (10).
Note: for your convenience, place an appropriatelysized bag into the pulp container (10) to remove the pulp together with the bag.
- Once you finish using the Juicer, turn it off by setting the mode switch (8) to «0», and unplug it from the mains.
OVERHEATING PROTECTION
- Exceeding the operating temperature will trigger the overheating protection and the Juicer will turn off.
- Should the Juicer turn off on its own, set the mode switch (8) to «0» and unplug it from the mains.
- Depending on the room temperature, the electric motor can take from 20 to 50 minutes to cool down, once it has cooled down, plug it into the mains and turn the Juicer on, by setting the mode switch (8) to «1» or «2».
- Should the Juicer fail to turn on, wait for some time, if nothing changes this might indicate another defect. In this case, please, contact an authorized service center.
- Do not exceed the recommended operation time.
CLEANING AND CARE
- Perform cleaning of the Juicer after each use.
- Turn off the Juicer and unplug it from the mainsbefore cleaning.
- Do not submerge the motor unit, power cable, or power cable plug into water or any other liquid.
- Extract the plunger (1) from the feeding chute (2) of the lid (3).
- Lower the lock (7) and close the lid (3).
- For your convenience, remove the grate filter (4) together with the juice bowl (5), by grasping at the juice bowl (5) and pulling it upwards.
- Wash the removed parts, juice container (9), and pulp container (10) with warm water and a neutral detergent, rinse and dry them.
- Be careful when washing the grate filter – the surface of the grater is sharp.
- Wash the openings of the grate filter (4) from the outer side, using the brush (11).
- Do not wash the removable parts of the Juicer in a dishwasher.
- Clean the motor unit with a slightly damp tissue, then wipe it dry.
- Do not use metal scouring pads, abrasives, or solvents for cleaning the Juicer.
- Fruits and vegetables with painting properties, blackberries, carrots, or beetroot, for example, can color certain parts of the Juicer. If this happens you can try clearing the paint with a dry tissue soaked in vegetable oil, followed by washing the parts with warm water and a neutral detergent, rinsing, and drying them.
STORAGE
- Perform a cleaning of the Juicer before taking it away for storage.
- Keep the Juicer in a dry cool place unreachable by children or people with disabilities.
DELIVERY SET
- Juicer – 1pc.
- Instruction Manual – 1pc.
TECHNICAL SPECIFICATIONS
- Power supply: 220-240 V, ~ 50-60 Hz
- Rated input power: 500 W
- Inlet opening diameter – 65 mm
- Juice container volume – 0.5 l
- Pulp container volume – 1.6 l
- Troubleshooting


RECYCLING
To prevent possible damage to the environment or harm to the health of people by uncontrolled waste disposal, after service life expiration of the unit or the batteries (if included), do not discard them with usual household waste, deliver the unit and the batteries to specialized centers for further recycling.
The waste generated during the disposal of the unit is subject to mandatory collection and consequent disposal in the prescribed manner.
For further information about recycling of this product apply to a local municipal administration, a disposal service or to the shop where you purchased this product.
The manufacturer reserves the right to change the appearance, design and specifications not affecting general operation principles of the unit, without prior notice.
The unit operating life is 3 years
The manufacturing date is specified in the serial number.
In case of any malfunctions promptly apply to the authorized service center.

Produced for «Ruste GmbH»,
Berggasse 18/18, 1090 Vienna, Austria
т.: +7 (495) 297-50-20,
e-mail: [email protected]
Made in China
![]()
![]()

















