Master Flow ERV5WWQCT 1250 CFM Weathered Wood Galvanized

SAFETY CONSIDERATIONS AND WARNINGS
WARNING – TO REDUCE THE RISK OF FIRE, ELECTRIC SHOCK, OR INJURY TO PERSONS, OBSERVE THE FOLLOWING:
- Do Not Use This Fan With Any Solid-State Speed Control Device
- Before servicing or cleaning unit, switch power off at service panel and lock the service, disconnecting means to prevent power from being switched on accidentally.
When the service disconnecting means cannot be locked, securely fasten a prominent warning device, such as a tag, to the service panel. - This unit is to be mounted behind louvers or in a location where the entrance of drawn water is unlikely.
- When cutting or drilling into a wall or ceiling, do not damage electrical wiring and other hidden utilities.
- Use this unit only in the manner intended by GAF. If you have any installation questions, please contact Master Flow® Technical Services at 1-800-211-9612.
- For rooftop or outdoor use only.
This ventilator has an unguarded impeller.
Do NOT use in locations readily accessible to people or animals. - Do NOT use on roofs having a slope less than 2: 12.
- For general ventilation purpose only. Do NOT use to exhaust hazardous material, dust, or combustible vapors.
- During installation, always wear appropriate safety glasses, gloves, hard hats, restraints, and other safety equipment to avoid injury.
Warning: Always wear durable work gloves when handling this unit. - Observe all applicable building and electrical codes.
- Installation work and electrical wiring should be done by a qualified person in accordance with all building codes and the National Electrical Code (U.S. only,), including codes for fire ratings.
Contact a qualified electrician it you are not comfortable or familiar with electrical codes and/ or installations. - The ventilator should be connected to a 1 20 volt, 60 Hz grounded circuit only with minimum 14-gauge wiring that has at least 3 amperes of available capacity. If you cannot confirm there Is sufficient electrical capacity on an existing circuit, install a separate dedicated circuit. Do NOT use an extension cord to operate.
- Inspect for hidden utilities before cutting or drilling.
Do NOT damage electrical wiring or other hidden utilities when cutting or drilling. - Make sure the fan blade is on tight and ensure the set screw is securely tightened.
- Ducted fans must always be vented to the outdoors.
- FOR HOMES WITH A GAS OR OIL FURNACE OR APPLIANCE LOCATED IN THE SAME SPACE: The ventilator MUST be wired with a switch or other interlocking device to prevent the furnace and ventilator from operating at the same time during the heating cycle. The switch or other interlocking device MUST disconnect the vent unit from the electrical circuit power.
GAF recommends that the switch (not included) be installed by, a qualified person in accordance with all applicable building codes and standards.
Tools Required
- Drill
- Extension Cord
- 1/a” Drill Bit
- 7 / 16″ Socket Adjustable Wrench
- Utility Knife
- Power Saber or Jig Saw and Hand Saw
- Safety Eyewear
- Hard Hat and Other Safety Equipment
- Ladder
- Fall Restraint Equipment
- Galvanized Roofing Nails
- Caulking Gun
- Urethane Sealant or Roofing Cement
- Gloves
- Wire Nuts
- Claw Hammer
- Flat Blade Screwdriver
- Pencil or Marker
- Tape Measure
- 1/2″ Trade Size Cable Clamp Connector
- Type NM Electrical Cable
Installation Instructions
- Ensure Proper Intake Ventilation ••• Always ensure there Is proper intake ventilation at the soffit, undereave and fascia areas of the roof. This is required for a balanced ventilation system and to help avoid premature ventilator motor failure. Use the chart located on the outside of the package to ensure the minimum recommended intake ventilation is installed on the home. Always consult local building codes for ventilation requirements.
- Locate Position ••• Locate the ventilator as high as possible on the roof but not on the ridge line. The top opening of the hood must be 24″ (609 mm) BELOW the ridge line (Figure 1a).
Single ventilators should be centered·
multiple ventilators should be evenly spaced over the length of the roof.
Measure from the ridge line to the top center of the ventilator hood (Figure 1b) .
Using this measurement, go inside the attic and mark the location centered between two rafters and drill a hole.
Put an object such as a pencil through the hole so that it is visible on the outside (Figure 1c).
- Mark and Cut Opening ••• Place and center the template (included on the box) over the previously marked hole. Using a pencil or marker, use the template as a guide to mark a circle.
Note: Depending on the ventilator model being installed, the included cutout template on the box will be either 15″ (381 mm) or 17″ (432 mm) in diameter. For 24″ (609 mm) on-center rafters, make the cutout shown in Figure 2a.
For 16″ (406 mm) on-center rafters, make the cutout shown in Figure 2b.
Using a power saber, jig saw, or hand saw, cut out the opening (Figure 2c).
- Prepare the Opening .•• Roll back and separate any shingles (if existing). Remove all nails within 5 ½” ( 140 mm) from the sides and top of the opening.
- Test Ventilator Position ••• Test the final position of the ventilator by sliding the flashing up under the upper shingles.
Trim any shingles as needed and remove the ventilator (Figure 3a).
- Seal and Fasten Ventilator ••• With the position tested, apply a bead of roofing cement or urethane sealant to the underside of the ventilator’s flashing. Proceed with sliding the ventilator up under the top shingles, with arrow on the flashing pointing up. Leave the lower portion of the ventilator flashing on top of the shingles for maximum weather resistance. Using roofing nails, fasten the ventilator at all corners of the flashing and approximately every 4″ ( 102 mm) along the edge of the flashing (Figure 3b).

Note: For maximum wind resistance remove the ventilator hood and fasten the flashing every 45 degrees, approximately 1″ (25.4 mm) away from the stack wall.
Replace ventilator hood when complete. Seal all exposed fasteners, flashing, stack seams, and loose shingles.
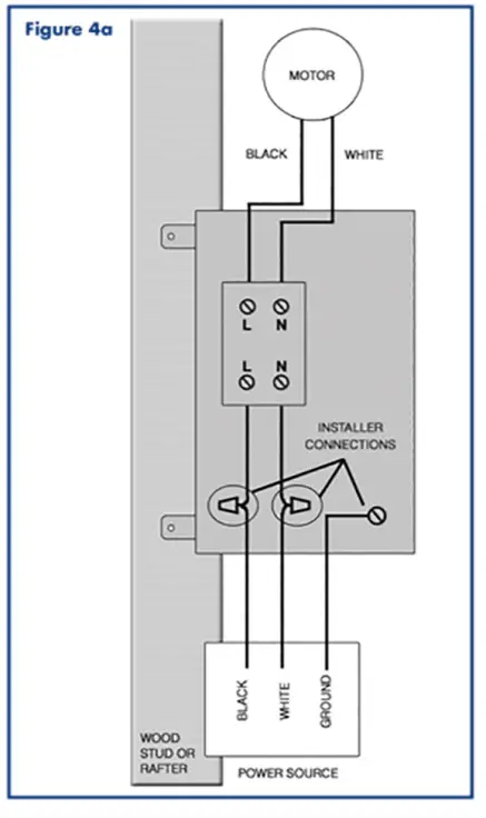
Warning: Using excess roof cement may cause blistering in the roofing shingles. - Wiring … Always disconnect power supply before wiring the ventilator into an existing circuit. Remove the cover on the Quick Connect™ Controller and mount the metal enclosure on a rafter or stud utilizing the pre-punched holes in the orientation as shown in (Figure 4a) (below).

WARNING: DO NOT INSTALL QUICKCONNECTTM CONTROLLER WITH OPENINGS FACING DOWN
Ensure that the TOP on the QuickConnect™ Controller label points towards the roof.
Each ventilator must have its own Quick Connect™ Controller. Leave the flexible conduit with some slack and begin wiring the QuickConnect™ Controller as shown in Figure 4a (below).
Note: The included QuickConnect™ Controller arrives with factory default settings of temperature at 105°F and humidity at 50%. These default settings can be adjusted once the unit has been wired and you have downloaded the app and accepted the end user agreement.
Note: In the unlikely event accessories or parts are missing or this product does not operate correctly, please contact Master Flow® Technical Services at 1-800-211-9612 or email [email protected].
Do NOT return this ventilator to retailers or distributors.





























