HomeSight EM200 Environmental Monitor
Important safety instructions
Never place the product on top of or close to any heat sources such as other electronic devices. Doing so will reduce product lifetime and may cause irreparable damage or malfunction. Do not use the product near water. Note that the ambient temperature must be below 104° F/40° C. Be sure to maintain the necessary space around the product to allow for proper ventilation. Never use the product outside.
CANADIAN COMPLIANCE CAN ICES-003 (B)/NMB-003(B)
This device complies with Innovation, Science and Economic Development Canada’s license-exempt RSSs. Operation is subject to the following two conditions:
- This device may not cause interference.
- This device must accept any interference, including interference that may cause undesired operation of the device.
FEDERAL COMMUNICATION COMMISSION INTERFERENCE STATEMENT
This device complies with Part 15 of the FCC Rules. Operation is subject to the following two conditions:
- This device may not cause harmful interference.
- This device must accept any interference received, including interference that may cause undesired operation.
This equipment has been tested and found to comply with the limits for a Class B digital device, pursuant to Part 15 of the FCC Rules. These limits are designed to provide reasonable protection against harmful interference in a residential installation. This equipment generates, uses and can radiate radio frequency energy and, if not installed and used in accordance with the instructions, may cause harmful interference to radio communications. However, there is no guarantee that interference will not occur in a particular installation. If this equipment does cause harmful interference to radio or television reception, which can be determined by turning the equipment off and on, the user is encouraged to try to correct the interference by one of the following measures:
- Reorient or relocate the receiving antenna.
- Increase the separation between the equipment and receiver.
- Connect the equipment into an outlet on a circuit different from that the receiver is connected to.
- Consult the dealer or an experienced radio/TV technician for help.
FCC CAUTION: Any changes or modifications not expressly approved by the party responsible for compliance could void the user’s authority to operate this equipment. This transmitter must not be co-located or operating in conjunction with any other antenna or transmitter.
RADIATION EXPOSURE STATEMENT: This equipment complies with FCC and IC radiation exposure limits set forth for an uncontrolled environment. This equipment should be installed and operated with minimum distance 20cm between the radiator and your body.
EU Compliance is maintained at the following address: ARRIS Group B.V., Hoogoorddreef 5, 1101 BA Amsterdam- Zuidoost, The Netherlands
UK Compliance is maintained at the following address: ARRIS Global Limited, Victoria Road, Saltaire, West Yorkshire, BD18 3LF, United Kingdom
ARRIS declares that this product is in compliance with Directive 2014/53/EU.
The full test of the EU declaration of conformity is available at the address: http://arris.com/consumers/eudoc
Disabling Wireless: This equipment is dependent on wireless for primary operation. To disable wireless, remove the batteries from the product.
The following table shows the EU RF Output Power for CPE wireless devices
| Frequency Band (MHz) | Maximum RF Power (dBm) |
| 2410 to 2480 | 20 |
Remote Control Batteries
CAUTION: There is Risk of explosion if the battery is replaced by an incorrect type. Dispose of used batteries according to the instructions.
WARNING: To reduce the risk of fire or burns, do not disassemble, crush, or puncture; do not short external contacts; do not dispose of in fire or water.
About
Your HomeSight EM200 Environmental monitor enables you to monitor real-time environmental temperature and humidity. This device also has the capability to monitor light intensity, motion, and sound. Your EM200 comes supplied with a quick start guide, 2x AA batteries, double-sided adhesive tape, and an M3 screw and plastic wall anchor.
Front view

Rearview

Mounting your EM200
Mounting instructions
Using screw
- Drill a hole in a wall to the size of the plastic anchor (supplied).
- Insert the plastic anchor into the wall.
- Secure the rear cover of your EM200 with the M3 screw (supplied) through the hole. See the below picture.

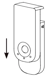
- Slide the front cover in the direction shown in the picture below.

Using double-sided adhesive tape
- Peel the outer layer of the one side of the adhesive tape and then press your EM200 firmly to the tape.
- Peel the outer layer of the other side of the adhesive tape and then press the tape to the wall.
NOTE: Before you power on your EM200, ensure to pull out the battery insulation tab along the direction specified.

Replacing the batteries
- Slide up the front cover of your EM200.
- Use the black rubber ribbon to pull out the batteries.

- Replace with 2 new AA batteries and then slide back to close the back cover.
© 2022 CommScope, Inc. All rights reserved.
ARRIS and the ARRIS Logo are trademarks of CommScope, Inc. and/or its affiliates. All other trademarks are the property of their respective owners.























