
QUICK START GUIDE
QU202Q Series
[Please be sure to read the enclosed Shark® Owner’s Guide prior to using your unit.]
Use this Quick Start Guide to learn about your new vacuum’s great features.
WHAT’S INSIDE:
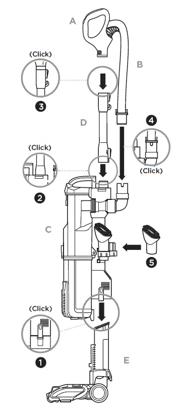
A. Handle
B. Hose
C. Vacuum Pod
D. Wand
E. DuoClean® Floor Nozzle with Self-Cleaning Brushroll
F. Dusting Brush
G. Crevice Tool
H. Upholstery Tool
I. Pet Power Brush

ASSEMBLY

1. Place pod onto motorized floor nozzle.
2. Insert wand into top of pod.
3. Insert handle into top of wand.
4. Connect hose to back of pod.
5. Store accessories on the posts on the pod.
For complete instructions, see the enclosed Owner’s Guide.
For additional parts and accessories, visit sharkaccessories.com
2 WAYS TO CLEAN:
1. UPRIGHT
Power
Push the POWER button to turn the vacuum on or off.
Brushroll Operation
To engage the brushrolls, turn on the power, step on the floor nozzle, and tilt the handle back.

To clean carpeted floors, press CARPET on the surface selector switch. The brushrolls spin quickly in this mode.
To clean bare floors, press HARD FLOOR on the surface selector switch. The brushrolls will spin slowly in this mode.
2. ABOVE THE FLOOR

MAINTENANCE
Empty dust cup after each use

Filter Maintenance
Wash filters regularly to keep the suction strong.
Rinse filters with water only, and allow them to air-dry before reinstalling. Tap loose dirt from filters as needed between washes.
See enclosed Owner’s Guide for complete details on removing and cleaning filters.
Self-Cleaning Brushroll
NOTE: If any hair is wrapped around the brushroll, extending cleaning time will allow
the self-cleaning brushroll to remove it for you.
Cleaning the Brushroll
1. To open the brushroll garage, slide both release buttons on the floor nozzle away from you, towards the back of the nozzle, then lift off the lid.
2. Clear away any objects or debris.
3. To close the brushroll garage, insert the 3 tabs on top of the lid into the 3 slots in the nozzle, then push down on both sides of the lid until it clicks securely into place. If the Brushroll Indicator Light isn’t green and headlights are flashing, check again that both sides of the lid are locked in place.

Brushroll Maintenance
Carefully remove any debris that may be impeding the brushroll.

Cleaning the Soft Roller
Lift out the Soft Roller by pulling the tab on the right side. Clear away any debris, then slide the Soft Roller back into place.

To register your product, or for answers to frequently asked questions, visit registeryourshark.com.
© 2020 SharkNinja Operating LLC. DUOCLEAN and SHARK are registered trademarks of SharkNinja Operating LLC.
QU202Q_QSG_MP_Mv2
DOWNLOAD
Shark QU202Q Series DuoClean Slim:
Quick Start Guide – [Download PDF]
Owner’s Guide – [Download PDF]



















