onn 100074483 Multi-Device Keyboard and Mouse User Guide
Before Use
Notes:
All parts have to be unpacked and the packaging material has to be removed completely. Before use, verify the package contents are complete and undamaged.
BATTERY WARNING STATEMENT
Do not mix old and new batteries.
Do not mix alkaline, standard (carbon-zinc),
or rechargeable (ni-cad, ni-mh, etc) batteries.
System Requirements
- Windows 7/8/10/11 or newer version, Mac OS 10.5 or newer version
and Chrome OS - Available USB port or Bluetooth® on your laptop or computer
What’s in the Box
- 1 Wireless Mouse
- 1 Wireless Keyboard
- 1 USB nano receiver
- 1 AA battery
- 2 AAA batteries
Features
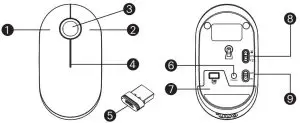
Mouse

- Left button
- Right button
- Scrolling whee
- LED indicator
- USB nano receiver
- Connect button
- Battery cover
- Easy-switch
- ON / OFF switch
Keyboard


- LED indicators
- ON / OFF switch
- Easy-switch keys
- Phone/tablet stand
- Battery cover

Press F1 ~ F12 will perform as shortcut function keys below
Switch to wireless USB nano receiver channel
Switch to Bluetooth channel 1
Switch to Bluetooth channel 2
Mutes (turns off) the device’s sound
Decrease the device’s volume
Increase the device’s volume
Switch to previous media track
Play media or pause current media track
Switch to next media track
Decrease display brightness
Increase display brightness
Open Windows Search
Press and hold Fn + F1 ~ F12 will perform as standard function keys
Installing the batteries
Insert the battery with the correct position according to the instruction labeled on the mouse and keyboard

Switch Connection Channel
The mouse and keyboard can both connect up to 3 different computers, you can change connection channels between USB nano receiver and 2 other Bluetooth channels
Mouse
Use “Easy-switch” on the bottom to change connection channels
Keyboard
Use “Easy-switch keys” to change connection channels
The corresponding LED indicator will light up green when its channel is set For example, when you press Bluetooth 1 ( ) its LED indicator will light up
Switch between different devices
For example, you can set
USB nano receiver (
) on computer A
Bluetooth 1 (
) on computer B
Bluetoooth 2 (
) on computer C
then use “Easy-switch and Easy-switch keys” to switch connection between these 3 computers
Connection Setup
Connect via USB nano receiver
It is plug and play with USB nano receiver, make sure to turn on power and set both mouse and keyboard connection channels on USB nano receiver (
), plug USB nano receiver into an available USB A port on your computer and start surfing onn.
Connect via Bluetooth in Windows
Turn on your mouse and keyboard, set them to either Bluetooth 1 (
)
or Bluetooth 2 (
)
Click on “Start” (bottom left corner on your screen)
Go to Settings
-> Device -> Bluetooth & other devices -> Turn on Bluetooth
-> Add Bluetooth or other device -> Add a device (Bluetooth)
Mouse
Press and HOLD “Connect” button to set mouse in Bluetooth pairing mode

Click on “BT5.1 Mouse or onn. Mouse” in the list on your computer to setup pairing, LED will stop flashing and light up for 3 seconds when complete
Keyboard
Press and HOLD “Easy-switch keys” to set keyboard in Bluetooth pairing mode
The corresponding LED indicator will start flashing green in pairing mode. Click on “BT Keyboard or onn. KBD” in the list on your computer to setup pairing, LEDwill stop flashing and light up for 3 seconds when complete




Connect via Bluetooth in Mac
Turn on your mouse and keyboard, set them to either Bluetooth 1 (
) or Bluetooth 2 (
)
Click on “Apple menu” (top left corner of your screen)
Go to System Preferences
-> Bluetooth
-> Turn Bluetooth on to set up Bluetooth device
Follow same steps as Connect via Bluetooth in Windows to set mouse and keyboard in pairing mode and complete Bluetooth pairing

OS – Manual Selection

Keyboard will automatically detect your Operating System (OS) providing correct functions and shortcuts. To do this manually, select the proper OS by using the key combination above
Low Battery
If LED starts blinking, you need to change battery
Help with Setup
USB nano receiver
Mouse and keyboard are not working?
- Are they powered on? Make sure both channels are set on (
) - Is the nano receiver securely plugged into a USB port? Try changing USB ports
- If the nano receiver is plugged into a USB hub, try plugging it directly into a USB port on your computer
- Check the orientation of the batterries inside
- Try a different surface. Remove metallic objects between the mouse (keyboard) and the nano receiver
If it is still not working, try steps below to re-pair them with the nano receiver
Mouse
A. Re-plug receiver into USB port on computer, make sure channel is set on (
)
B. Press connect button on mouse (keep mouse close to receiver)
C. If it does not work after 10 seconds, repeat steps A and B

LED indicator will start flashing green in pairing mode
Keyboard
A. Re-plug receiver into USB port on computer, make sure channel is set on (
)
B. Press and hold “Easy-switch key” (keep keyboard close to receiver)
C. If it does not work after 10 seconds, repeat steps A and B
Press and hold this key until the corresponding LED indicator starts flashing green
Bluetooth®
Mouse and keyboard are not working?
- Are they powered on? Make sure both channels are set on (
or
)
Make sure to turn on Bluetooth function on your computer - Check the orientation of the batterries inside
- Try a different surface. Remove metallic objects between them and the computer
- Set them in pairing mode, make sure they are discoverable on your computer and then complete pairing
- If it does not work after 10 seconds, repeat step 1 to 3
Reconnection
Under Bluetooth connection (either Bluetooth 1 or 2 )
mouse and keyboard can automatically reconnect to their last connected computer. If it fails, you can always re-pair again
Specification
Keyboard
- Full keyboard layout with 100 keys and built-in phone/tablet stand
- Compatible with tablets up to 13 in (33 cm) long and 0.41 in (1 cm) thick
- 14.79 in L x 7.47 in W x 0.87 in H (37.5 cm x 18.9 cm x 2.2 cm)
Mouse
- 3 clickable buttons with scroll wheel and 1600 DPI sensitivity
- USB nano receiver (stores in battery compartment when not in use)
- 4.41 in L x 2.39 in W x 1.27 in H (11.2 cm x 6 cm x 3.2 cm)
Both
- 3 different wireless connection options available– 2 Bluetooth® channels and 1 2.4Ghz USB receiver
- Windows, MacOS, ChromeOS, Android, iOS compatible
- USB plug and play
Federal Communication Commission Interference Statement
This equipment has been tested and found to comply with the limits for a Class B digital device, pursuant to Part 15 of the FCC Rules. These limits are designed to provide reasonable protection against harmful interference in a residential installation. This equipment generates, uses and can radiate radio frequency energy and, if not installed and used in accordance with the instructions, may cause harmful interference to radio communications. However, there is no guarantee that interference will not occur in a particular installation. If this equipment does cause harmful interference to radio or television reception, which can be determined by turning the equipment off and on, the user is encouraged to try to correct the interference by one of the following measures:
- Reorient or relocate the receiving antenna.
- Increase the separation between the equipment and receiver.
- Connect the equipment into an outlet on a circuit different from that to which the receiver is connected.
- Consult the dealer or an experienced radio/TV technician for help.
This device complies with Part 15 of the FCC Rules. Operation is subject to the following two conditions:
(1) This device may not cause harmful interference, and
(2) this device must accept any interference received, including interference that may cause undesired operation.
Radiation Exposure Statement:
The product comply with the FCC portable RF exposure limit set forth for an uncontrolled environment and are safe for intended operation as described in this manual. The further RF exposure reduction can be achieved if the product can be kept as far as possible from the user body or set the device to lower output power if such function is available.
FCC Caution: Any changes or modifications not expressly approved by the party responsible for compliance could void the user’s authority to operate this equipment.
Need help?
We’re here for you every day from 7 a.m. – 9 p.m. CST.
Give us a call at 1-888-516-2630
We ‘d love to hear from you.
Scan with your smartphone camera and let us know what you think.
Switch to wireless USB nano receiver channel
Switch to Bluetooth channel 1
Switch to Bluetooth channel 2
Mutes (turns off) the device’s sound
Decrease the device’s volume
Increase the device’s volume
Switch to previous media track
Play media or pause current media track
Switch to next media track
Decrease display brightness
Increase display brightness
Open Windows Search


















