PHILIPS 1739493P0 Petronia MyGarden Anthracite

Package Content

Tools Required

Safety Instructions

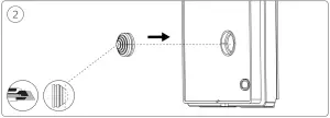
Installation & Assembly














Signify
I.B.R.S. / C.C.R.I. Numéro 10461 5600 VB Eindhoven, the Netherlands
00800-74454775
© 2021 Signify Holding All rights reserved
www.philips.com/lighting
17395/**/PO
4404 029 08663
Last update: 06/2021




















