SVALLIS


IMPORTANT!
Always shut off power to the circuit before starting installation work. In some countries, electrical installation work may only be carried out by an authorized electrical contractor. Contact your local electricity authority for advice.
INSTALLATION IN BATHROOMS
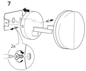
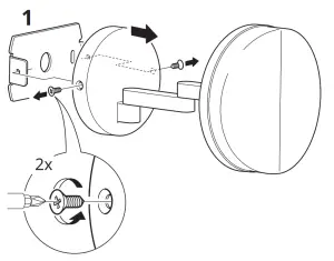
The installation shall be carried out by an authorized electrical contractor. The luminaire must be permanently installed in the electric system and placed in the correct zone. Different materials require different types of fittings. Always choose screws and plugs that are especially suited to the material.
The light source of this luminaire is not replaceable; when the light source reaches its end of life the whole luminaire shall be replaced.

![]() | ![]() |
![]() | ![]() |

























