HIKMICRO Mini Series Smartphone Module

Brief Description
The smartphone module is equipped with an IR detector, and adopts the thermal imaging technology. It connects with your mobile phone via a Type-C interface. The device can be widely used for temperature screening in public areas, but not for human body temperature test.
With the advantages of small size, portability, and low consumption, the device can be applied to homes, buildings, HVAC, etc. You can view live view, capture snapshots, and record videos via HIKMICRO Viewer App on your phone. You can also analyze pictures offline, generate and share a report via the App. Scan the QR codes on the cover to download the App.
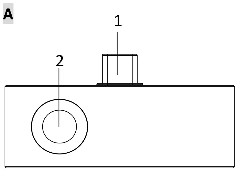
Appearance (Page 1 – A)

| No. | Component | Function |
| 1 | Type-C Interface | Connect the device to the phone. |
| 2 | Thermal Lens | View the thermal image. |
Operation (Page 1 – B)
Steps

- Download and install the mobile App.
- Connect device and mobile phone via the Type-C interface.
- Launch the App to start operations on your phone.
Notes:
- The accuracy of HM-TB3317- 3/M1-Mini is ± 0.5 °C (0.9 °F) for object temperature from 30 °C to 45 °C (86 °F to 113 °F); ±2°C (3.6 °F) for object temperature from 5 °C to 30°C (41 °F to 86 °F ) and from 45 °C to 100 °C (113 °F to 212 °F). The device is applicable 60 seconds after start-up when the ambient temperature is from 15 °C to 35 °C (59 °F to 95 °F).
- The accuracy of HM-TJ11- 3AMF-Mini1is ± 2 °C (3.6 °F) or ± 2%. The device is applicable 60 seconds after start-up when the ambient temperature is from 15 °C to 35 °C (59 °F to 95 °F) and the object temperature is above 0 °C (32 °F).
- Your camera will periodically perform a self-calibration to optimize image quality and measurement accuracy. In this process, the image will pause briefly and you’ll hear a “click” as a shutter moves in front of the detector. The self calibration will be more frequent during startup or in very cold or hot environments.
This is a normal part of operation to ensure optimum performance for your camera
Legal Information
© 2023 Hangzhou Microimage Software Co., Ltd. All rights reserved.
About this Manual
The Manual includes instructions for using and managing the Product. Pictures, charts, images and all other information hereinafter are for description and explanation only. The information contained in the Manual is subject to change, without notice, due to firmware updates or other reasons. Please find the latest version of this Manual at the HIKMICRO website (www.hikmicrotech.com/).
Please use this Manual with the guidance and assistance of professionals trained in supporting the Product.
Trademarks Acknowledgement
and other HIKMICRO’s trademarks and logos are the properties of HIKMICRO in various jurisdictions. Other trademarks and logos mentioned are the properties of their respective owners.
LEGAL DISCLAIMER
TO THE MAXIMUM EXTENT PERMITTED BY APPLICABLE LAW, THIS MANUAL AND THE PRODUCT DESCRIBED, WITH ITS HARDWARE, SOFTWARE AND FIRMWARE, ARE PROVIDED “AS IS” AND “WITH ALL FAULTS AND ERRORS”. HIKMICRO MAKES NO WARRANTIES, EXPRESS OR IMPLIED, INCLUDING WITHOUT LIMITATION, MERCHANTABILITY, SATISFACTORY QUALITY, OR FITNESS FOR A PARTICULAR PURPOSE.
THE USE OF THE PRODUCT BY YOU IS AT YOUR OWN RISK. IN NO EVENT WILL HIKMICRO BE LIABLE TO YOU FOR ANY SPECIAL, CONSEQUENTIAL, INCIDENTAL, OR INDIRECT DAMAGES, INCLUDING, AMONG OTHERS, DAMAGES FOR LOSS OF BUSINESS PROFITS, BUSINESS INTERRUPTION, OR LOSS OF DATA, CORRUPTION OF SYSTEMS, OR LOSS OF DOCUMENTATION, WHETHER BASED ON BREACH OF CONTRACT, TORT (INCLUDING NEGLIGENCE), PRODUCT LIABILITY, OR OTHERWISE, IN CONNECTION WITH THE USE OF THE PRODUCT, EVEN IF HIKMICRO HAS BEEN ADVISED OF THE POSSIBILITY OF SUCH DAMAGES OR LOSS. YOU ACKNOWLEDGE THAT THE NATURE OF THE INTERNET PROVIDES FOR INHERENT SECURITY RISKS, AND HIKMICRO SHALL NOT TAKE ANY RESPONSIBILITIES FOR ABNORMAL OPERATION, PRIVACY LEAKAGE OR OTHER DAMAGES RESULTING FROM CYBER-ATTACK, HACKER ATTACK, VIRUS INFECTION, OR OTHER INTERNET SECURITY RISKS; HOWEVER, HIKMICRO WILL PROVIDE TIMELY TECHNICAL SUPPORT IF REQUIRED. YOU AGREE TO USE THIS PRODUCT IN COMPLIANCE WITH ALL APPLICABLE LAWS, AND YOU ARE SOLELY RESPONSIBLE FOR ENSURING THAT YOUR USE CONFORMS TO THE APPLICABLE LAW. ESPECIALLY, YOU ARE RESPONSIBLE, FOR USING THIS PRODUCT IN A MANNER THAT DOES NOT INFRINGE ON THE RIGHTS OF THIRD PARTIES, INCLUDING WITHOUT LIMITATION, RIGHTS OF PUBLICITY, INTELLECTUAL PROPERTY RIGHTS, OR DATA PROTECTION AND OTHER PRIVACY RIGHTS. YOU SHALL NOT USE THIS PRODUCT FOR ANY PROHIBITED END-USES, INCLUDING THE DEVELOPMENT OR PRODUCTION OF WEAPONS OF MASS DESTRUCTION, THE DEVELOPMENT OR PRODUCTION OF CHEMICAL OR BIOLOGICAL WEAPONS, ANY ACTIVITIES IN THE CONTEXT RELATED TO ANY NUCLEAR EXPLOSIVE OR UNSAFE NUCLEAR FUEL-CYCLE, OR IN SUPPORT OF HUMAN RIGHTS ABUSES.
IN THE EVENT OF ANY CONFLICTS BETWEEN THIS MANUAL AND THE APPLICABLE LAW, THE LATTER PREVAILS.
Regulatory Information
These clauses apply only to the products bearing the corresponding mark or information.
FCC Information
Please take attention that changes or modification not expressly approved by the party responsible for compliance could void the user’s authority to operate the equipment.
FCC compliance: This equipment has been tested and found to comply with the limits for a Class B digital device, pursuant to part 15 of the FCC Rules. These limits are designed to provide reasonable protection against harmful interference in a residential installation. This equipment generates, uses and can radiate radio frequency energy and, if not installed and used in accordance with the instructions, may cause harmful interference to radio communications.
However, there is no guarantee that interference will not occur in a particular installation. If this equipment does cause harmful interference to radio or television reception, which can be determined by turning the equipment off and on, the user is encouraged to try to correct the interference by one or more of the following measures:
- Reorient or relocate the receiving antenna.
- Increase the separation between the equipment and receiver.
- Connect the equipment into an outlet on a circuit different from that to which the receiver is connected.
- Consult the dealer or an experienced radio/TV technician for help.
FCC Conditions
This device complies with part 15 of the FCC
Rules. Operation is subject to the following two conditions:
- This device may not cause harmful interference.
- This device must accept any interference received, including interference that may cause undesired operation.
EU Conformity Statement
This product and – if applicable – the supplied accessories too are marked with “CE” and comply therefore with the applicable harmonized European standards listed under the Directive 2014/30/EU (EMCD), Directive 2014/35/EU (LVD), Directive 2011/65/EU (RoHS).
Directive 2012/19/EU (WEEE Directive): Products marked with this symbol cannot be disposed of as unsorted municipal waste in the European Union. For proper recycling, return this product to your local supplier upon the purchase of equivalent new equipment, or dispose of it at designated collection points. For more information see: www.recyclethis.info
Industry Canada ICES-003 Compliance
This device meets the CAN ICES-003 (B)/NMB-3(B) standards requirements.
Safety Instruction
These instructions are intended to ensure that user can use the product correctly to avoid danger or property loss.
Laws and Regulations
- Use of the product must be in strict compliance with the local electrical safety regulations.
Transportation
- Keep the device in original or similar packaging while transporting it.
- Keep all wrappers after unpacking them for future use. In case of any failure occurred, you need to return the device to the factory with the original wrapper.
Transportation without the original wrapper may result in damage on the device and the company shall not take any responsibilities. - Do not drop the product or subject it to physical shock. Keep the device away from magnetic interference.
Maintenance
- If the product does not work properly, please contact your dealer or the nearest service center. We shall not assume any responsibility for problems caused by unauthorized repair or maintenance.
- Wipe the device gently with a clean cloth and a small quantity of ethanol, if necessary.
- If the equipment is used in a manner not specified by the manufacturer, the protection provided by the device may be impaired.
Using Environment
- Make sure the running environment meets the requirement of the device. The operating temperature shall be 15 °C to 35 °C (59 °F to 95 °F) or 0 °C to 40 °C (32 °F to 104 °F), and humidity shall be 5% to 90%.
- Place the device in a dry and well-ventilated environment.
- DO NOT expose the device to high electromagnetic radiation or dusty environments.
- DO NOT aim the lens at the sun or any other bright light.
- When any laser equipment is in use, make sure that the device lens is not exposed to the laser beam, or it may burn out.
- The device is suitable for indoor uses.
- The pollution degree is 2.
Technical support
- https://www.hikmicrotech.com portal will help you as a HIKMICRO customer to get the most out of your HIKMICRO products.
The portal gives you access to our support team, software and documentation, service contacts, etc.
Emergency
- If smoke, odor, or noise arises from the device, immediately unplug the device, and contact the service center.
CUSTOMERS SUPPORTS
Facebook: HIKMICRO Thermography LinkedIn: HIKMICRO
Instagram: hikmicro_thermography YouTube: HIKMICRO Thermography
E-mail: [email protected] Website: https://www.hikmicrotech.com/






















