

SW3161 Mobi Changing Table
User Manual

SAFETY INSTRUCTIONS AND WARNINGS
Introduction
The information in this manual is important to your safety.
Please read and understand this manual in its entirety before using your Mobi Changer.
If you require larger print or videos – these are available on the Smirthwaite website: www.smirthwaite.co.uk/product/Mobi-Changer/
The information in this manual is important for the safety of anyone near the Mobi Changer and must be read and understood to help prevent injuries. It is also crucial to the proper operation and maintenance of the Mobi Changer.
Store this manual with the documents included with the Changing Bench. The Mobi Changer is designed to be used in conjunction with approved accessories. Please refer to any user guides supplied with these components while reviewing this manual.
Contents of this manual are subject to change without prior notice.
Unauthorized modifications on any Smirthwaite product may affect its safety. The manufacturer will not be held responsible for any accident, incident or deficiencies of performance that occur as a result of any unauthorized modification to its products.
Service and Support
To ensure the safety and continued good function of your product, routine service must be performed on your Mobi Changer.
For further details, see section 6.0 General Inspection and Maintenance’
As well as inspections and simple checks completed by the user, every 1 year(s) service must be completed by Smirthwaite Ltd.’s authorized trained service staff.
Contact your local authorized Smirthwaite dealer if you:
- Need more information.
- Have any questions about the use or maintenance of your Mobi Changer.
- Notice any change in the performance of your Changing Bench.
- Want to report an unexpected occurrence.
- Want to arrange a service.
Contact details of your local Smirthwaite dealer are shown on the last page of this manual.
Symbols Used
| Consult instructions before use | Caution | ||
| Class II Equipment -electrical equipment in which protection against electric shock does not rely on basic insulation only | Safe Working Load represents the maximum load rated for safe operation | ||
| Manufacturer | Date of manufacture | ||
| Packaging indicator — This way up | Packaging indicator — Keep dry | ||
| Serial number | For internal use only | ||
| Please observe local laws on recycling | Degree of protection provided by the enclosure. Ni: Ingress of particles N2: Ingress of water | ||
| Temperature range | Humidity range | ||
| Type ‘El applied part | Type ‘Br applied part | ||
| Medical Device | Authorized Representative in the European Community |
Contraindications/Limitations
There are no known “contraindications” associated with the usage of the Mobi Changer and its accessories, provided they are used as per the manufacturer’s recommendations and guidelines.
Smirthwaite Ltd. does not recommend a required number of caregivers for the use of our products. This information and recommendation can only be provided after a thorough personalized, case-specific assessment, as there are many factors that can influence these decisions.
Intended Use

For internal use only.
Intended to support a recumbent patient for changing purposes
Intended User
The Mobi Changer has been designed for use by a child’s carer, therapist, and/or teaching staff who will maintain and clean the Changing Bench as per the recommended guidelines in section 7.0 Cleaning.
The Mobi Changer is designed to be checked and adjusted by a therapist to ensure the child is positioned correctly.
Changing Bench Operating Environment
The Mobi Changer is suitable for use within the professional health care facility environment as well as the home health care environment.
The Mobi Changer is not intended to be used in environments where there are rapid changes in the environmental temperature and humidity during intended use.
The Mobi Changer is intended for indoor use only; the normal operating conditions are as follows:
A. Temperature: 41°F to 86°F (+5°C to 40°C)
B. Relative Humidity: 15 to 90%, non-condensing, but not requiring a water vapor pressure greater than 50hPa.
C. Atmospheric Pressure: 700hPa to 1060hPa.
D. Ambient luminance 50 – 500 lux.
E. Viewing distance: 0 meters to 1.5 meter
Frequency of use:
The Mobi Charger can be used without any frequency restrictions.
Mobi Changer Essential Performance
The essential performance of the Mobi Changer is defined as:
Indicated for use by anyone weighing 227kg or less requiring assistance to change due to disability, injury, or age-related immobility.
Vicinity to Other Equipment
Use of this equipment stacked with other equipment should be avoided unless the equipment is an approved accessory.
Contact your local authorized dealer if assistance is required – contact details are on the last page of this manual.
Incident Reporting
If, during the use of this device or as a result of its use a serious incident has occurred, please report it to the manufacturer and the competent authority of the member state in which the user and/or patient is established.
Additional Warnings and Safety Notices
- DO NOT attempt to install and use this product in a wet room. Please follow installation instructions as described in Section 5 carefully and thoroughly.
- The user should NOT be left unattended whilst on the changing table. Always ensure a responsible therapist or carer is in attendance.
- The Mobi changer changing table height should NEVER be adjusted without a carer in attendance.
- Always ensure the safety side is in the ‘up’ position once a patient is on the table.
- When storing the product vertically (up position), check to ensure that the locking plunger pin is fully engaged.
- When not in use for periods of time, isolate the electrical supply.
- Always keep this product away from naked flames, cigarettes, and sources of heat including open fireplaces, radiators, and heaters.
- Regular maintenance checks and cleaning are essential for the safe use of this equipment (see care and maintenance section).
- DO NOT fit parts or accessories of other manufacturers to this product unless authorized to do so in writing by Smirthwaite Ltd. Failure to follow these instructions will not only invalidate the guarantee but could make the product dangerous to use. Smirthwaite Ltd will not accept liability for any injury or damage incurred through such malpractices. Any repairs required must be carried out by Smirthwaite Ltd authorized personnel.
- If any part is loose, damaged, or functioning incorrectly, DO NOT use it until rectified.
- The Mobi changer is CE marked. This certifies that it meets all relevant European safety requirements.
- If you believe the product or any fitted accessory to be faulty at any time, DO NOT USE – contact Smirthwaite by telephone at +44 (0)1626 835552
COMPONENTS/KEY PARTS
Key Parts
When delivered, the Mobi Changer will be supplied fully assembled. Always turn handwheels, levers, and screws clockwise to tighten or anti-clockwise to loosen. Conveniently packaged in a single box the following components are included with your new Mobi Changer:

* Illustrative only; some components may vary
| Item | Description |
| A | Safety Side |
| B | Handset |
| C | Castor |
| D | Battery |
| E | Safety Skirt |
Table 1
Packaging
- When delivered, the Mobi Changer will be supplied fully assembled.
- If your order has been supplied as a custom kit, please ensure you follow both the instructions documented in this user manual and any additional instructions supplied.
- Please take note of any instructions on the packaging/box when unpacking.
- Once the Mobi Changer has been carefully unpacked, please check all parts.
INSTALLATION
When delivered, the Mobi Changer will be supplied fully assembled. Always turn handwheels, levers, and screws clockwise to tighten or anti-clockwise to loosen.
Adjustments
Always lock the castors when attaching items or making adjustments. To lock, apply foot to point (A), to unlock apply foot to point (B).

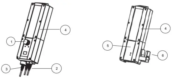
Electrical System Reference
- The Mobi Changer is supplied with a control box (mounted to the end of the lower frame), a rechargeable battery, and a wall-mounted charger.
- The wall-mounted charger MUST NOT be situated in a wet room environment.
- A mounting bracket is provided to assist with the mounting of the charger in a suitable position.
- The wall-mounted charger is powered by a 100-240V AC 50/60Hz supply

| Main Control Box | |
| 1 | Emergency Stop |
| 2 | Actuator cables (left-hand socket used) |
| 3 | Handset cable |
| 4 | Battery (removable) |
| 5 | Charger |
| 6 | Cable Tidy |
Charging
The battery should be charged for at least 8 hours upon receipt by connecting the battery to the supplied wall-mounted charger.
- The rechargeable battery can be un-clipped from the main control box assembly on the Mobi Changer and placed onto the wall-mounted charger.
- A green light on the charger will indicate the charger is connected to the AC mains supply • A second light will light in yellow when the battery is being charged.
- For routine use, the battery should be charged daily, for a period of 4 hours.
- An audible alarm will sound when the battery has discharged to approximately 25% charge level through use.
- A sufficient charge is held in the battery in reserve to permit emergency lowering of the bed.
Control Box
- An emergency stop button (RED) is situated on the control box; when depressed this halts the operation of the bed – to enable the Mobi Changer to operate again, simply twist the emergency stop button to reset
- Duty cycle: Max 10% (or 2 minutes) continuous use, then 18 minutes without use.
- The control box system has been designed for operating ambient temperatures of +5°C to +40°C
Raising Safety Sides

- Pull the safety side fully outwards (Z, Y)
- Swing it to the vertical position (X)
- Lift it up fully, and allow it to drop a small distance, locking it into the vertical position (X)
- Repeat for the second safety side
Raising and Lowering

- Before transferring a patient, adjust the height of the bed by using the hand controller ‘Up’ and ‘Down’ buttons/arrows, as shown opposite.
- With the patient safely transferred onto the bed, rotate the safety rail into the vertical position and allow it to drop into its retaining slot – check it is in place by gently pulling outwards (towards your body).
- The bench can now be raised to the optimum position, which will depend on the carer.
TRANSFER
Ensure all steps of 3.0 Installation are completed before use.
Wheelchair Transfer
- Lift the safety side up and swing to a horizontal position
- Stow the safety side under the table
- Lower the table to the height of the wheelchair seat
- It is now possible to transfer the user onto the trolley

Hoist Transfer
- Transfer patient onto table
- Ensure liner and safety sides are in the ‘up’ position
TECHNICAL SPECIFICATION
Changing Bench Dimensions

| Size 1 | Size 2 | Size 3 | Size 4 | |
| Code (Mild Steel) | 3121 | 3122 | 3123 | 3124 |
| Code (Stainless Steel) | 3141 | 3142 | 3143 | 3144 |
| Max User Weight (kg) | 227 | 227 | 227 | 227 |
| Height Range (mm) | 470-950 | 470-950 | 470-950 | 470-950 |
| Length (mm) | 1400 | 1600 | 1800 | 2000 |
| Width (mm) | 750 | 750 | 750 | 750 |
| X (mm) | 840 | 840 | 840 | 840 |
| Y (mm) | 165 | 165 | 165 | 165 |
| Z (mm) | 200 | 200 | 200 | 200 |
| P (mm) | 1090 | 1090 | 1090 | 1090 |
| Q (mm) | 700 | 700 | 700 | 700 |
| G (mm) | 190 | 190 | 190 | 190 |
| Shipping Weight (kg) | 86 | 88 | 90 | 100 |
Environmental – Storage and Operating Conditions
The Changing Bench is intended for internal use within normal environmental conditions.
It is not intended to be used in environments where there are rapid changes in the environmental temperature and humidity during intended use.
The Mobi Changer suffers little from any effects of lint, dust, and light.
- Lint – Due to there being no mechanical or electrical mechanisms on the Mobi Changer, lint would not affect the Changing Bench working.
- Dust – Due to there being no mechanical or electrical mechanisms on the Mobi Changer, dust would not affect the Changing Bench working.
- Light –The Specification of the Changing Bench dictates that normal use would occur during ambient luminance of 50 – 500 lux. Additionally, as the Changing Bench is designed for indoor use only, if required the user may wish to switch on room lighting.
Normal operating conditions
+5°C to +40°C (41°F to 104°F) at a relative humidity between 15% to 90% RH, non-condensing but not requiring a water vapor pressure greater than 50hPa and atmospheric pressure between 700hPa to 1060hPa
Shipping and storage conditions
-25°C to +5°C (-13ºF to 41ºF) with any humidity level
+5°C to +35°C (41°F to 95°F) at a relative humidity of up to 90%,
+35°C to 70°C non-condensing at a water vapor pressure up to 50hPa
During all transportation, it is recommended that the Changing Bench remains in its original packaging.
It is recommended that the Changing Bench is stored in a cool, dry place out of direct sunlight. If cleaning is required after storage, please see section 7.0 Cleaning of the user manual for instructions.
Shipping and storage conditions are also contained on Mobi Changer Box Label:
![]()
Standards Applied
The standards that have been applied to the device are as follows:
- BS EN ISO 12182:2012 (Assistive products for persons with disability. General requirements and test methods).
- IEC 62366:2015 (Application of usability engineering to medical devices).
- BS EN ISO 15233-1:2016 (Medical devices — Symbols to be used with medical device).
Disposal
Please observe the local laws on recycling and respect the current laws for disposal within the community the device is being used within. If there is any uncertainty of the below guidelines, contact your local authorities to determine the proper method of disposal of potentially bio-hazardous parts and accessories.
GENERAL INSPECTION AND MAINTENANCE
No maintenance is to be carried out on the Mobi Changer while in use to reduce the risk of injury.
The user will not require any tools when completing their inspections.
When completing services, the authorized service engineer will provide their own tools, including 1 x set of metric Allen keys.
Daily Checks – To Be Completed by User
Prior to each use, the Mobi Changer must be inspected visually.
Should any of these items fail the inspection, DO NOT use the Changing Bench.
Contact your local authorized dealer for service – contact details are on the last page of this manual.
- CHECK THAT THE BATTERY IS FULLY CHARGED
- Check the accessories for damage or loose connection points
- Check all upholstery for signs of wear and tear
- Check the castors are funning freely and brakes are in full working order
- Keep the upholstery, wooden and metal parts clean
- Check that all clamping and positional components are working, secure and free from damage
Monthly Checks
- Repeat daily checks
- Additionally, check all mechanical movements operate fully
- Additionally, check the structure for signs of damage or wear and tear
Battery Charging
Apply the brakes to the castors before charging. Also do not use the Changing Bench whilst charging.
- When the battery is low a buzzer will sound. When this happens plug the charging cable into the socket on the battery pack assembly on the push handle of the Changing Bench.
- Plug the other cable into a mains socket and turn it on to begin charging the battery.
- The battery will become fully charged in approximately 6 hours.
Service Interval
The Mobi Changer should be serviced every 1 year(s). Servicing must only be undertaken by a Smirthwaite Ltd. service engineer, or by a Smirthwaite Ltd. trained representative.
Nominal Service Life
Your product has a nominal service life of 7 years, during which full post-sales support will be available with regard to spares and servicing.
Product service life has been determined based upon the design complexity of the product, and the anticipated exposure to normal use.
Good practice dictates all Smirthwaite Ltd. products have been designed and manufactured to high levels of safety and quality and will meet requirements of normal use when maintained in line with our servicing recommendations.
If the product has been out of use for an extended period of time (6 months or more) it should always be serviced prior to being reissued. If the product has been subjected to ‘heavy’ or ‘constant’ use, the service should be reduced to half the recommended period.
Constant and/or heavy use is considered to be:
- Daily use above 7 hours’ duration.
- Weekly use above 5 days’ duration.
- Monthly use above 10 months per year.
- Use by a client who is at 90% to 100% of the maximum weight limit of the product. The maximum weight limit must NEVER be exceeded.
- Use by a client who is extremely active, either voluntarily or involuntarily.
Extending Nominal Service Life
At Smirthwaite Ltd. we are proud to produce products that have a reputation for quality and durability.
We believe our products have the potential to provide benefits to our clients beyond the nominal service life documented above.
We will continue to provide full support beyond the nominal service life provided the following conditions are met:
- A full-service schedule has been maintained.
- Full service and inspection are undertaken at the end of the nominal service life period.
- The product is subsequently serviced annually (or biannually if under ‘heavy/constant’ use conditions).
- Smirthwaite Ltd. reserve the right to limit support where parts/components are no longer available.
User Serviceable Parts
Please contact Smirthwaite Ltd. or your local dealer for information to assist service requirements on the Mobi Changer – e.g. to ascertain the necessary information for replacement parts and components. Contact details are shown on the last page of this manual.
Final Inspection
When the service is complete:
- Remove any waste created as part of the service from the site.
- Confirm with the operator if the Changing Bench is safe to use and that it has been left in a working state. Isolate the Changing Bench if it is not safe to operate.
- Complete all documentation – see section ‘8.0 Service Documentation.’
Incorrect use may result in personal injury or damage to objects.
CLEANING
Please follow the cleaning guidelines below; noting the frequency is appropriate with usage.
It is recommended to clean the Mobi Changer and accessories before use by a different person, reducing the risk of cross-contamination.
General cleaning
- To clean Mobi Change, use a damp soft cloth with mild soap
- Rinse with a clean cloth and water
- DO NOT soak/immerse any part of the product in water
- DO NOT use solvents, abrasives, synthetic detergents, and wax polishes
- ALWAYS wipe dry after use
- ALWAYS keep this product away from naked flames, cigarettes, and sources of heat including open fireplaces, radiators, and heaters
- For further information, please refer to MHRA or Local Authority cleaning guidelines
DO NOT use bleach, solvents, abrasives, synthetic detergents, wax polishes, antibacterial sprays, or wipes.
For further information, please refer to MHRA or your NHS cleaning guidelines.
SERVICE DOCUMENTATION
Documentation/ Records
It is the responsibility of the current equipment owner to ensure the Service Manual (As well as any further manuals for accessories fitted to the equipment) are handed over to the new owner at the time of exchange/sale.
It is the responsibility of the current equipment owner to ensure the service and inspection record form is kept up to date.
Product Configuration
- Smirthwaite will document and maintain a record of the original product configuration at the time of the first sale
- Smirthwaite will not be held responsible for any subsequent changes to this configuration unless authorized to do so in writing by Smirthwaite Ltd
- It is the equipment owner’s responsibility to maintain their own records of changes to the equipment configuration and to be able to provide such records to subsequent owners to maintain traceability
We recommend an inspection/service by a Smirthwaite Service Engineer (or Smirthwaite trained engineer) whenever a significant change is made to product configuration to ensure the product is safe to use. If in any doubt, ALWAYS seek ADVICE
Service Record History
Complete this record after each service, repair inspection, and/or maintenance.
* Photocopy additional pages as required *
Product Information
Model______________________________________
Size________________________________________
Date of Manufacture___________________________
Serial Number________________________________
Service & inspection record form:
| Date | Procedure | Service Personnel |
WARRANTY
Smirthwaite Ltd warrants the products detailed on your order to be free from defects in materials and workmanship for a period of 2 years from the date of delivery. If a fault develops during the period, please call Customer Services by email or telephone at 01626 835552 who will advise you on the best course of action. Possible action may be for us to arrange to send out one of our Service Engineers, or have the goods returned to us. Should a repair not be possible within the guarantee period we will replace the product with a new or nearest equivalent product. In the unlikely event that we cannot repair or exchange we will refund in full.
This warranty is in addition to your legal rights. Goods will only be collected from the original delivery address.
A charge may be made where the goods cannot be repaired under the terms of the warranty. You will be advised before this is made.
T: +44 (0)1626 835552
E: i[email protected]
CONTINUOUS IMPROVEMENT
Smirthwaite Ltd is committed to continuous improvement of its product range. Should you have any suggestions or comments please send them to our product design department at: [email protected]
Smirthwaite Ltd reserve the right to change the specification or material without prior notice.
For catalogs, help, and further information on our products please contact us at Smirthwaite Ltd 16 Wentworth Road Heathfield, Devon.TQ12 6TL
T: +44 (0)1626 835552
E: [email protected]
W: www.smirthwaite.co.uk
![]()

![]()
![]()
Smirthwaite Ltd, 16 Wentworth Road • Heathfield • Newton Abbot • Devon • TQ12 6TL
Part Number: 999-1-12 / Rev: 2 / Date: Sep 21

















