130-Can Beverage Cooler NS-BC130GP1

Introduction
Congratulations on your purchase of a high-quality Insignia product. Your NS-BC130GP1 represents the state of the art in beverage cooler design and is designed for reliable and trouble-free performance.
IMPORTANT SAFETY INSTRUCTIONS

WARNING
- Read these instructions.
- Keep these instructions.
- Heed all warnings.
- Follow all instructions.
- Do not use this appliance near water.
- Clean only with a damp cloth.
- Do not block any ventilation openings. Install in accordance with the manufacturer’s instructions.
- Do not install near any heat sources such as radiators, heat registers, stoves, or other apparatuses (including amplifiers) that produce heat.
- Do not defeat the safety purpose of the polarized or grounding-type plug. A polarized plug has two blades with one wider than the other. A grounding type plug has two blades and a third grounding prong. The wide blade or the third prong are provided for your safety. If the provided plug does not fit into your outlet, consult an electrician for replacement of the obsolete outlet.
- Protect the power cord from being walked on or pinched, particularly at plugs, outlets, and the point where they exit from the appliance.
- Do not use extension cords or ungrounded (two-prong) adapters.
- Unplug this appliance during lightning storms or when it will not be used for long periods of time.
- Make sure that the available AC power matches the voltage requirements of this appliance.
- Do not handle the plug with wet hands. This could result in an electric shock.
- Unplug the power cord by holding the plug, never by pulling the cord.
- Do not turn the appliance on or off by plugging or unplugging the power cord.
- Turn off the appliance before unplugging it.
- Refer all servicing to qualified service personnel. Servicing is required when the appliance has been damaged in any way, such as when the power-supply cord or plug is damaged, when liquid has been spilled or objects have fallen into the appliance, or when the appliance has been exposed to rain or moisture, does not operate normally, or has been dropped.
- To reduce the risk of fire or electric shock, do not expose this appliance to rain, moisture, dripping, or splashing, and do not place objects filled with liquids on top of it.
WARNING
Electric Shock Hazard
Failure to follow these instructions can result in electric shock, fire, or death.

1. WARNING–Keep ventilation openings in the appliance enclosure or in the built-in structure clear of obstruction.
2. WARNING–Do not touch the interior of the chiller compartment with wet hands. This could result in frost bite.
3. WARNING–Do not use mechanical devices or other means to accelerate the defrosting process, other than those recommended by the manufacturer.
4. WARNING–Do not damage the refrigerant circuit.
5. WARNING–Do not use electrical appliances inside the food storage compartment of the appliance, unless they are of the type recommended by the manufacturer.
6. WARNING–Never allow children to play with, operate, or crawl inside the cooler.
Risk of child entrapment. Before you throw away your old cooler, refrigerator, or freezer:
- Take off the doors
- Leave the shelves in place so that children may not easily climb inside
7. Unplug the cooler before carrying out user maintenance on it.
8. This appliance is not intended for use by persons (including children) with reduced physical, sensory, or mental capabilities, or lack of experience and knowledge, unless they have been given supervision or instruction concerning use of the appliance by a person responsible for their safety. Children should be supervised to ensure that they do not play with the appliance.
9. If a component part is damaged, it must be replaced by the manufacturer, its service agent, or similar qualified persons in order to avoid a hazard.
10. Dispose of the cooler according to local regulations as the cooler contains flammable gas and refrigerant.
11. Follow local regulations regarding disposal of the cooler due to flammable refrigerant and gas. All refrigeration products contain refrigerants, which under the guidelines of federal law must be removed before disposal. It is the consumer’s responsibility to comply with federal and local regulations when disposing of this product.
12. This cooler is intended to be used in household and similar environments.
13. Do not store or use gasoline or any flammable liquids inside or in the vicinity of this cooler.
14. Do not use extension cords or ungrounded (two prong) adapters with this cooler. If the power cord is too short, have a qualified electrician install an outlet near the cooler.
15. If the supply cord is damaged, it must be replaced by the manufacturer, its service agent, or a similarly qualified person in order to avoid a hazard.
Features
- 130-can, 4.6 cu. ft. capacity holds your favorite drinks
- Flexible 34~50° F (1~10° C) temperature range chills drinks to the perfect temperature
- Touch controls and LED display for easy control
- 3 removable wood-trimmed shelves for additional storage options
- Reversible glass door for convenient entry options
- Adjustable legs keep your cooler stable
- Auto-defrost prevents ice and condensation from building up inside the cooler
- White LED light makes it easy to find your drinks
*Interior cooler temperature may vary up to 4° F from displayed temperature.
Package contents
- 130-Can beverage cooler
- Quick Setup Guide
Components

Control and display panel


Notes:
- Touch the control panel lightly when pressing the keys.
- To avoid scratching the control panel, do not touch it with sharp objects.
Setting up your beverage cooler
Before using your cooler
- Remove the exterior and interior packaging.
- Let the cooler stand upright for approximately half an hour before connecting it to power. This reduces the possibility of a malfunction in the cooling system from improper handling during transportation.
- Clean the interior surface with a damp, warm cloth.
Finding a suitable location
- This cooler is designed to be free standing only, and it should not be recessed or built into a countertop or wall.
- Place your cooler on a floor, counter top, or cabinet that is strong enough to support the cooler when it is fully loaded.
- Allow 1.6 in. (4 cm) of space on all sides of the cooler to allow for proper air ventilation.
- Place the cooler away from direct sunlight and sources of heat (stove, heater, radiator, etc.). Direct sunlight may affect the acrylic coating and heat sources may increase electrical consumption. Ambient temperature below 50° F (10° C) or above 86° F (30° C) will hinder the performance of this cooler. This cooler is not designed for use in a garage or any other outside location.
- Avoid placing the cooler in moist areas.
- This unit is not designed to be installed in an RV or used with an inverter.
- Do not stack your cooler.
- For your cooler to operate normally, avoid placing it in areas with high magnetic fields or high humidity.

Leveling your cooler
- It is very important for the cooler to be level in order to function properly. If the cooler is not leveled during installation, the door may not close or seal properly, causing cooling, frost, or moisture problems.
- To level your cooler, you may turn either leveling foot clockwise to raise that side of the cooler or turn it counter-clockwise to lower that side.
Reversing the door
You will need a 10 mm socket wrench and a Phillips screwdriver. Have someone available to assist you in the process. Make sure that you keep all of the parts you remove to reuse them later.
CAUTION: Do not lay the beverage cooler completely flat as that could damage the coolant system.
1. Make sure that your beverage cooler is unplugged and empty.
2. Adjust the leveling feet to their highest position.
3. Use a blade to remove the rivets and hole cap.
4. Use a blade to remove the hinge cover, then use a Phillips screwdriver to remove the hinge bolts.
5. Remove the upper hinge and axle sleeve.

6. Remove the door from the beverage cooler.

7. Use a Phillips screwdriver to remove the door stopper screws, then remove the door stopper.

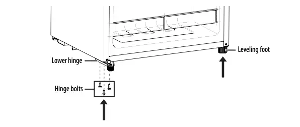
8. Use a Phillips screwdriver to remove the hinge bolts, then remove the lower hinge and the leveling foot.

9. Attach the lower hinge and leveling feet to the opposite sides of the beverage cooler.

10. Replace the glass door, then reinstall the upper hinge and axle sleeve. Make sure that you align the door and check the tightness of the door gasket.
11. Reinstall the rivets and hole cap.

12. Adjust the leveling feet to level the cooler.
Grounding requirement
This cooler must be grounded. This cooler is equipped with a cord having a grounding wire with a grounding plug. The plug must be inserted into an outlet that is properly installed and grounded.
Consult a qualified electrician or service person if the grounding instructions are not completely understood, or if doubt exists as to whether the cooler is properly grounded.
WARNINGS:
- Improper use of the grounding plug can result in a risk of electric shock.
- Do not, under any circumstances, cut or remove the third ground prong from the supplied power cord.
Connecting to power
- Plug the appliance into a dedicated, properly installed grounded wall outlet. This appliance should be operated on a separate electrical circuit from other operating appliances.
CAUTION: This unit is not designed to be installed in an RV or used with an inverter.
- Plug in and run your cooler for three to four hours before making any temperature adjustments and before adding beverages. This allows your cooler to reach a stable temperature.
Notes:
- Check your local power source. This cooler requires a 110 V-120 V, 60 Hz power supply.
- Use a receptacle that accepts the grounding prong. The power cord is equipped with a 3-prong (grounding) plug which plugs into a standard 3-prong (grounding) wall outlet to minimize the possibility of electric shock hazard from this cooler.
- To prolong the service life of the compressor, wait for at least five minutes before restarting the cooler after a power failure.
- Do not use an extension cord with this cooler. If the power cord is too short, have a qualified electrician install an outlet near the cooler. Use of an extension cord can negatively affect the cooler’s performance.
Using your beverage cooler
Turning on your cooler
Press the
button to turn your cooler on. The display screen and indicators blink for three seconds and an audible beep is heard, then the compressor starts working.
You can manually set your unit to “Standby” mode by touching the
button for approximately three seconds, provided that the control keys are unlocked and no other setting is in effect (the display is not blinking). Repeating this action restarts the unit.
Setting the temperature
- Press the temperature up
or down
buttons to increase or decrease the temperature by one degree. The temperature range is 34~50° F (1~10° C). - Press and hold the temperature up
and down
buttons at the same time for three seconds to switch between Fahrenheit and Celsius.
Notes:
- A large number of beverages will lower the cooling efficiency of the cooler.
- When you put several beverages in the cooler at one time, the temperature in the cooler may rise temporarily.
- Adjust the thermostat setting by one increment at a time. Allow several hours for the temperature to stabilize between adjustments.
- The screen display always shows the set temperature. When adjusting the temperature, the temperature display blinks to indicate that the temperature is being adjusted.
Memory function
If you experience a power outage, when your cooler is turned on again it resumes the same temperature that was set when the power went off.
Using the display
- When you plug in your cooler for the first time, the display screen turns on for three seconds and you hear a start-up tone.
- In normal mode, the display shows the set temperature.
Lighting your cooler
- Press the light button
to turn the interior light on and off.
Using the adjustable shelves
- All of the shelves have tabs to engage the cabinet on both sides.
- Any of the shelves can be removed to accommodate larger beverages.
To remove a shelf:
- Remove all bottles from the shelves.
- Lift the shelf upward and then gently pull out the shelf.
To replace a shelf:
• Place the sides of the shelf back onto the supporting guides of the cabinet and push back until the shelf tabs slide into place.
CAUTION: Make sure that the tabs are firmly engaged in the supporting guides before storing any beverages.
Arranging your beverages
In order to maintain good air circulation in the cooler, do not let the beverages touch the back of the cooler.
Filling your beer and beverage cooler
The following illustrations are provided to show the best way to fill your cooler for maximum storage:

Maintaining your beverage cooler
Your cooler is designed for year-round use with only minimal cleaning and maintenance.
When you first receive it, wipe the cabinet with a mild detergent and warm water, then wipe dry with a dry cloth. Do this periodically to keep your cooler looking new.
CAUTION: To prevent damage to the finish, do not use:
- Gasoline, benzine, thinner, or other similar solvents.
- Abrasive cleaners.
Cleaning the interior of your cooler
1. Turn off the cooler and unplug it from the wall outlet.
2. Remove all beverages.
3. Wash the interior with a damp, warm cloth.
Note: It is recommended that you soak your cloth in a baking soda solution before washing the interior. Mix one quart of warm water and two tablespoons of baking soda.
4. Clean the door gasket (seal) so the door closes properly.
5. Dry the interior and exterior with a soft cloth.
Defrosting your cooler
The ice build-up on the inner back wall of your cooler will automatically be defrosted in a compressor-off cycle.
When you press the
button, the compressor and circulation fan stops running while defrosting is in process.
Defrost water will drain out of the cooler, passing through the drain outlet in the inner back wall into a drain pan located above the compressor. The water will evaporate from the drain pan on its own.
Storing your cooler
1. Turn off the cooler and unplug it from the wall outlet.
2. Remove all beverages.
3. Clean the cooler.
4. Leave the door open slightly to avoid possible formation of condensation, mold, or odor.
WARNING: Make sure that children do not have access to your beverage cooler. If the door accidentally closes while a child is inside your cooler, the child may suffocate.
Moving your beverage cooler
Note: Make sure that the cooler stays in the upright position during transportation.
- Turn off the cooler and unplug it from the wall outlet.
- Remove all beverages.
- Securely tape down all loose items inside your cooler.
- Tape the door shut.
Tips on saving energy
- Locate your cooler in the coolest area of the room, away from heat-producing appliances or heating ducts, and out of direct sunlight.
- Do not overload the cooler. It forces the compressor to run longer.
- Do not open the door too often, especially if the weather is very hot. Close the door as soon as possible to prevent cool air from escaping.
- Make sure that the door seals completely to keep your cooler running efficiently.
- Make sure that the appliance is sufficiently ventilated, with adequate air circulation behind it.
Troubleshooting
Error codes
If a fault is detected, the display shows one of the following codes:
- E1: Temperature sensor fault
- E4: Defrost sensor fault
If any of these error codes appears on the display, contact your local dealer or service center. Do not try to repair the cooler yourself.

Specifications

130-Can Beverage Cooler NS-BC130GP1 User Manual – Original PDF

















