Flymo 970482562 Electric Hover Lawnmower

Original instructions
This product may be used under super-vision, or if instruction regarding the safe use of the product has been provided and the resulting dangers have been understood, by chil-dren aged 8 and above, as well as by persons with physical, sensory or mental disabilities or a lack of experience and knowledge. Children must not be allowed to play with the product. Cleaning and user maintenance must not be
performed by children without supervision. The use of this product by young people under the age of 16 is not recommended.
Intended use:
The FLYMO Lawnmower is intended to mow lawn in private domestic gardens and allotments. The product is not intended for long term use.
DANGER! Risk of injury!
Do not use the product to cut bushes, hedges, shrubs, to cut of climbers or grass on roofs or balcony boxes, to chop up branches, twigs and to level irregularities in the soil. Do not use the product on a slope steeper than 20° maximum.
SAFETY
IMPORTANT!
Read the operator’s manual carefully before use and keep for future reference.
Symbols on the product:
Read operator’s manual. Keep bystanders away. Beware of sharp blades. Blades continue to rotate after the motor is switched off. Remove plug from mains before maintenance or if cord is damaged. Keep the mains cable away from the cutting blades.
General safety warnings Electrical safety
Cables
If extension cables are used, these must comply with the minimum cross-sections in the table below:
- Voltage Cable length Cross section
- 220 – 240 V / 50 Hz Up to 40 m 1.0 mm²
- 220 – 240 V / 50 Hz Up to 60 m 1.5 mm²
- 220 – 240 V / 50 Hz Up to 100 m 2.5 mm²
- If the supply cord is damaged, it must be replaced by your local Husqvarna UK Ltd. Approved Service Centre or similarly qualified persons in order to avoid a hazard.
- Do not wire an extension cable directly to your product yourself. Please con-tact your local Husqvarna UK Ltd. Approved Service Centre for further infor-mation on the connectors and kits available.
- Only use extension cables specifically designed for outdoor use and which conform to one of the following specifications: Ordinary rubber (60245 IEC 53), Ordinary PVC (60227 IEC 53) or Ordinary PCP (60245 IEC 57).
Training
- Read the instructions carefully. Be familiar with the controls and the correct use of the machine.
- Never allow children or people unfamiliar with these instructions to use the machine. Local regulations can restrict the age of the operator.
- Never operate the machine while people, especially children, or pets are nearby.
- Keep in mind that the operator or user is responsible for accidents or hazards occurring to other people or their property.
Preparation
- While operating the machine always wear substantial footwear and long trousers. Do not operate the machine when barefoot or wearing open sandals. Avoid wearing clothing that is loose fitting or that hanging cords or ties.
- Thoroughly inspect the area where the machine is to be used and remove all objects which can be thrown by the machine.
- Before using, always visually inspect to see that the blade, blade bolt and the blade assembly are not worn or damaged. Replace worn or damaged components in set to preserve balance. Replace damaged or unreadable labels.
- Before use check the supply and extension cord for signs of damage or aging. If the cord becomes damaged during use, disconnect the cord from the supply immediately. DO NOT TOUCH THE CORD BEFORE DISCONNECTING THE SUPPLY. Do not use the machine if the cord is damaged or worn.
Operation
- Operate the machine only in daylight or in good artificial light.
- Avoid operating the machine in wet grass.
- Always be sure of your footing on slopes.
- Walk, never run.
- Mow across the face of slopes, never up and down.
- Exercise extreme caution when changing direction on slopes.
- Do not mow excessively steep slopes.
- Use extreme caution when reversing or pulling the machine towards you.
- Stop the blade(s) if the machine has to be tilted for transportation when cross-ing surfaces other than grass, and when transporting the machine to and from area to be used.
- Never operate the machine with defective guards or shields, or without safety devices, for example deflectors and / or grass collector, in place.
- Switch on the motor carefully according to instructions and with feet well away from the blade(s).
- Do not tilt the machine when switching on the motor, except if the machine has to be tilted for starting. In this case, do not tilt it more than absolutely necessary and lift only the part, which is away from the operator.
- Do not start the machine when standing in front of the discharge opening.
- Do not put hands or feet near or under rotating parts. Keep clear of the discharge opening at all times.
- Do not transport the machine while the power source is running.
- Stop the machine, and remove plug from the socket. Make sure that all
- whenever you leave the machine,
- before clearing blockages or unclogging chute,
- before checking, cleaning or working on the machine,
- after striking a foreign object. Inspect the machine for damage and make repairs before restarting and operating the machine;
if the machine starts to vibrate abnormally (check immediately)
- inspect for damage,
- replace or repair any damaged parts,
- check for and tighten any loose parts.
Maintenance and storage
- Keep all nuts, bolts, and screws tight to be sure the machine is in safe working condition.
- Check the grass collector frequently for wear or deterioration.
- Replace worn or damaged parts for safety.
- On machines with multi blade, take care as rotating one blade can cause other blades rotate.
- Be careful during adjustment of the machine to prevent entrapment of the fingers between moving blades and fixed parts of the machine.
- Always allow the machine to cool down before storing.
- When servicing the blades be aware that, even though the power source is switched off, the blades can still be moved.
- Use only genuine replacement parts and accessories.
Additional safety warnings Electrical safety
This product makes an electromagnetic field while it operates. This field may under some conditions interfere with active or passive medical implants. To decrease the risk of conditions that can possibly injure or kill, we recommend persons with medical implants to speak with their physician and the medical implant manufacturer before you operate the product.
- Before use, examine the cable for signs of damage or ageing. If the cable is found to be defective, take the product to an authorised Service Centre and have the cable replaced.
- Do not use the product if the electric cables are damaged or worn.
- Immediately disconnect from the mains if the cable is cut, or the insulation is damaged. Do not touch the electric cable until the cable has been disconnected. Do not repair a cut or damaged cable. Replace it with a new one.
- The extension cable must be uncoiled. Coiled cables can overheat and reduce the efficiency of your mower.
- Keep the extension cable away from product, always work away from the power point mowing up and down, never in circles.
- Do not pull cable around sharp objects.
- Always switch off at the mains before disconnecting any plug, cable connector or extension cable.
- Stop the motor, disconnect the mains and examine the cable for damage or ageing before you wind the cable for storage. Do not repair a damaged cable, replace it with a new one. Use only genuine replacement cable.
- Always wind the cable carefully, avoid kinking.
- Do not carry the product by the cable.
- Do not pull on the cable to disconnect any of the plugs.
- Use only on AC mains supply voltage shown on the product rating label.
- Our products are double insulated to EN60335. Do not connect an earth to any part of the product.
DANGER! Risk of suffocation!
Small parts can be easily swallowed. There is also a risk that the poly-bag can suffocate toddlers. Keep toddlers away when you assemble the product. Let the hover mower to cool down for at least 30 minutes before storage or maintenance.
If blockage of cutting element stop product and check.
- Do not tilt the machine into the direction of the user.
- Do not move backwards.
- Stay alert during operation.
- Do not use in explosive atmosphere.
- Do not operate the product when you are tired, ill or under the influence of alcohol, drugs or medicine or when you are exhausted.
- Do not overload the mower.
- Use gloves, wear slip resistant shoes and wear eye protection.
- Do not use under wet conditions.
- Do not use on wet grass.
- Do not disassemble the product further than the delivery status.
- Only start the mower with an upright standing handle.
- Do not use the start levers alternately.
- Use the handles carefully.
Safety Cut-Out
The motor is protected by a Safety Cut-Out which is activated when the blade becomes jammed or if the motor is overloaded. When this occurs, stop and dis-connect the product from the mains. The Safety Cut-Out will only reset when you release the start / stop lever. Clear any obstruction and wait for a few minutes for the Safety Cut-Out to reset before you continue to use the product.
ASSEMBLY
DANGER! Risk of injury!
Cut injury when the product starts accidentally.
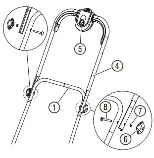
To assemble the lower handle

- Place the end of the lower handle 1 into the slots on the deck 2.
- Secure the lower handles 1 to the deck 2 by firmly pushing fixing pin 3 through the holes in the deck 2 and handle 1.
- Repeat on the other side.
NOTE: Should a problem occur when securing the handle to the deck with the fixing pin, carefully lever fixing pin out of location and repeat steps 1 to 3 above.
To assemble the upper handle

- Make sure that the upper handle 4 is located correctly with the safety lock-off button 5 on the switch box facing upwards.
- Make sure that the upper handle 4 and the lower handle 1 are aligned correctly.
- Insert the nut into the handle knob 6 (if necessary).
- Fit the bolts 8, the washers 7 and the handle knobs 6 onto the handles 1 / 4 in the correct positions.
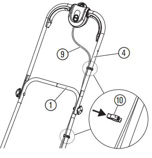
- Attach the cable 9 to the handles 1 / 4 with the clips 0 provided. Make sure that cable 9 is not trapped between the upper handle 4 and lower handle 1.
OPERATION
DANGER! Risk of injury!
Cut injury when the product starts accidentally. Wait for the blade to stop, disconnect the product from the mains and use gloves before you adjust or transport the product.
To connect the mower


- Connect the female extension cable q connector to the back of the switchbox w.
- Form a loop in the extension cable q, insert the loop into the cable lock – slot in the switchbox w and pull tight.
- Connect the extension cable q into a 230 V mains socket.
To adjust the cutting height


CAUTION!
Do not use more than 3 cutting height spacers e. The cutting height spacers e must only be fitted between the blade r and the fan t. Do not fit the cutting height spacers e between the blade r and the blade bolt z.
- To remove the blade bolt z, hold the fan t firmly and loosen the blade bolt z with the spanner u provided.
- Remove the blade bolt z, the blade r, the cutting height spacers e and the fan t.
- Inspect for damage and clean as necessary.
- Put the fan t on the product. Make sure that the fan t is fully in place and the hole of the fan is inline up with the threaded hole.
- Put the cutting height spacers e onto the fan t. Higher Cut – less cutting height spacers Lower Cut – more cutting height spacers Make sure that the pegs have located into the holes.
- Put the blade r on by aligning the D-shaped holes onto the cutting height spacers Make sure that the pegs have located into the holes on the blade.
- Put the blade bolt z through the centre hole of the blade r.
- Tighten down the blade bolt z clockwise by hand.
- Hold the fan t firmly and tighten the blade bolt z with the spanner u provided.
Operation position
Adjustment is not required to move the handle to the operating position. Simply pull down from the forward position or lift up from the down position until the handle is in the most comfortable operating position.
To start the mower

To start:
The product is provided with a two-handed safety device (start lever i and safety lock-off button 5) to prevent the product from being turned on by accident. There are two start levers i fitted. Either one has to be used to start.
- Push the safety lock-off button 5 with one hand and pull the start lever i with the other hand. The mower starts.
- Release the safety lock-off button 5.
To prevent a ring being cut in the lawn and to clear any residual grass, tilt the mower slightly. When the lawnmower has reached full speed gently lower it onto the lawn.
To stop:
Release the start lever The mower stops.
Tips to use the mower

Mow twice a week during the growing season. The lawn will suffer if more than a third of its length is cut at one time. For the best results mow the outside edge of the lawn in a clockwise direction first. Start to mow the edge of the lawn nearest to the powerpoint. So the cable is laid out on the lawn you have already cut. For the best cutting results mow in straight lines with an overlap of approximately 8 – 10 cm on each pass with the mower. Do not overload the mower. To mow long thick grass may cause the motor speed to drop and you will hear a change in the motor sound. If the motor speed drops you may overload the mower which may cause damage. When you mow in long thick grass a first cut with the cutting height set higher will help reduce the load. See To adjust the cutting height.
MAINTENANCE
To clean the outside of the mower

STORAGE
To put into storage:
The product must be stored away from children.
- Disconnect the product from the mains.
- Clean the mower (see 4. MAINTENANCE).
- Store the mower in a dry, enclosed and frost-free place.
Storage positions

- Push the lower handle 1 inwards from both sides simultaneously.
- Rotate the handle 1 to the desired position, either forward for the fold-ing storage position or backward for the wall mounting storage position.
- Loosen the handle knobs 6 and fold the upper handle 4. Make sure that the cable is not locked between the lower and the upper handle.
Folding storage position Wall mounting storage position

NOTE: When wall-mounting storage, always hang the mower from the lower handle 1 cross-section.
Disposal:
(in accordance with RL2012/19/EC) The product must not be disposed of to normal household waste. It must be disposed of in line with local environmental regulations.
IMPORTANT!
Dispose of the product through or via your municipal recycling collection centre.
TROUBLESHOOTING
DANGER! Risk of injury!
Cut injury when the product starts accidentally. Wait for the blade to stop, disconnect the product from the mains and use gloves before you troubleshoot the product.
To replace the blade:
- Do not use the mower when the blade is damaged, bent, out of balance or has chipped edges.
- Do not regrind the blade.
The FLYMO spare parts are available from your FLYMO dealer or from the FLYMO service. Only use an original FLYMO blade:
FLYMO Replacement Blade for 30 cm:
- FLYMO Replacement Blade for 30 cm: Reference no. FLY094 Part no. 529370590
- FLYMO Replacement Blade for 33 cm: Reference no. FLY095 Part no. 529370790
- FLYMO Replacement Blade for 36 cm: Reference no. FLY096 Part no. 529370890


TECHNICAL DATA

NOTE: The stated vibration emission value has been measured according to a standardised test procedure and can be used for comparison of one electric power tool with another. It can also be used for preliminary evaluation of expo- sure. The vibration emission value can vary during actual use of the electric power tool.
Please consult the supply authority, if necessary, that the equipment is connected only to a supply of an impedance no more than 0.354 Ω. This maximum permissible system impedance at the interface point of the user’s supply is according to the test value of SimpliGlide 360V.
ACCESSORIES

SERVICE / WARRANTY
Service:
Please contact the address on the back page.
Warranty statement:
In the event of a warranty claim, no charge is levied to you for the services provided. FLYMO grants a warranty for all original FLYMO new products for two years from the date of original purchase from the retailer, provided that the devices have been for private use only. This manufacturer’s warranty does not apply to products acquired second hand. This warranty includes all significant defects of the product that can be proved to be material or manufacturing faults. This war ranty is fulfilled by supplying a fully functional replacement product or by repairing the faulty product sent to us free of charge; we reserve the right to choose between these options. This ser-vice is subject to the following provisions:
- The product has been used for its intended purpose as per the recommendations in the operating instructions.
- Neither the purchaser nor a third party has attempted to open or repair the product.
- Only Original FLYMO replacement parts and wear parts have been used for operation.
- Presentation of the receipt
Normal wear and tear of parts and components (such as blades, blade fixing parts, turbines, light bulbs, V-belts / toothed belts, impellers, air filters, spark plugs), visual changes, wear parts and consumables are excluded from the warranty. This manufacturer’s warranty is limited to the replacement and repair of products in accordance with the abovementioned conditions. The manufacturer’s warranty does not constitute an entitlement to lodge other claims against us as a manufacturer, such as for damages. This manufacturer’s warranty does not, of course, affect statutory and contractual warranty claims against the dealer / retailer. The manufacturer’s warranty is governed by the law of the Federal Republic of Germany. In case of a warranty claim, please return the faulty product, together with a copy of the receipt and a description of the fault, with postage paid to the service address.
Consumables:
The blade is a consumable and is not included in the warranty
Our policy of continuous improvement means that the specification of products may be altered from time to time without prior notice. Copyright © 2020 Flymo S.A. All rights reserved. Flymo® and other product and feature names are registered or unregistered trademarks of Flymo S.A.
References
Anasayfa
Husqvarna UK | Chainsaws, Lawn Mowers & Garden Tools
Husqvarna Forest & Garden
Husqvarna Australia | Tools & Equipment for Lawn, Garden and Forestry
Husqvarna Brasil
Husqvarna Ecuador
Husqvarna Magyarország
Husqvarna Group
一瀬製作所 | ステンレス建具のプロフェッショナル■設計・製作・施工
www.net.ve - This website is for sale! - www Resources and Information.
GARDENA - Garden tools - GARDENA
GARDENA - Garden tools - GARDENA
GARDENA – Hageredskaper – GARDENA
Садовый Инвентарь | Садовые Инструменты | GARDENA



















