
Intelligent
Robot Cleaner
Instruction Manual
Thank you for your purchase. Please read this product manual carefully before use. Please save it after reading for future reference.

Design, features, and specifications subject to change without prior notice and we reserve the right to update product at any time.
Thank you for purchasing Robot Vacuum Cleaner, read all instructions before using this product, and keep it properly for future reference.
Important Safety Instructions
To reduce the risk of injury or damage, read these safety instructions carefully and keep them at hand when setting up, using, and maintaining this device.
WARNING SYMBOLS USED
This is the safety alert symbol. This symbol alerts you to potential hazards that could result in property damage and/or serious bodily harm or death.
- This device can be used by children aged from 8 years and above and persons with reduced physical, sensory or mental capabilities or lack of experience and knowledge if they have been given supervision or instruction concerning use of this device in a safe way and understand the hazards involved.
- Children should be supervised to ensure they do not play with this device.
- Cleaning and maintenance should not be performed by children without adult supervision.
- This device is only to be used with the power supply unit provided.
- For the purposes of recharging the battery, only use detachable power supply unit provided with this device.
- The battery must be removed from this device before this device is disposed of. To remove the battery from this device, first remove the screws on the bottom, then remove the main PCB and unscrew the battery cover using a screwdriver. Remove the battery by disconnecting the quick connector.
- The used battery should be placed in a sealed plastic bag and disposed of safely according to local environmental regulations.
- The external flexible cable of cord of the power supply unit cannot be replaced; if the cord is damaged, the power supply shall be disposed of.
- This device is for indoor use only.
- This device is not a toy. Do not sit or stand on this device. Small children and pets should be supervised when this device is operating.
- Store and operate this device in room temperature environments only.
- Clean with a cloth dampened with water only.
- Do not use this device to pick up anything that is burning or smoking.
- Do not use this device to pick up spills of bleach, paint, chemicals, or anything wet.
- Before using this device, pick up objects like clothing and loose paper. Lift up cords for blinds of curtains, and move power cords and fragile objects out of the way. If this device passes over a power cord and drags it, an object could be pulled off a table or shelf.
- If the room to be cleaned has a balcony, a physical barrier should be used to prevent access to the balcony and to ensure safe operation.
- Do not place anything on top of this device.
- Be aware that this device moves around on its own. Take care when walking in the area where this device is operating to avoid stepping on it.
- Do not operate this device in areas with exposed electrical outlets on the floor.
- Do not expose the electronics of this device, its battery, or the integrated Charging base. There are no user-serviceable parts inside.
- Do not use this device on an unfinished, unsealed, waxed or rough floor. It may result in damage to the floor and this device. Use only on hard floor surfaces or low-pile Carpet.
- This device has been designed to be used on floors without scratching them. We still recommend that you test this device on a small area of the room to be cleaned to ensure no scratches are made before the whole room.
Notice
This symbol on the device or its packaging indicates: Do not dispose of electrical appliances as unsorted municipal waste; use separate collection facilities. Contact your local authority for information regarding the collection systems available. If electrical appliances are disposed of in landfills or dumps, hazardous substances can leak into the groundwater and get into the food chain, damaging your health and well-being. When replacing old appliances with new ones, the retailer is legally obliged to take back your ole appliances for disposal at least free of charge.
About Your Robot Vacuum Cleaner
What’s in the Box

Robot Vacuum Cleaner Anatomy

Top & Side
| 1. Front Bumper 2. Control Button 3. Power on/off button | 4. DC power supply inlet 5. Dust Collector |

Bottom
| 1. Universal wheel 2. Charging electrode 3. Side brush 4. Battery cap | 5. Wheel 6. Rolling brush 7. Dust Collector |
Dust collector
| 1. Prefilter 2. HEPA filter | 3. Dust bin 4. Cover of dust bin |

Water tank (Optional)
- Cap lid
- Water tank
- Mopping cloth

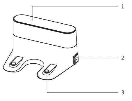
Charging Base
- Light indictor
- DC power inlet
- Charge contactor

Remote Control
| 1. Power on/off 2. LCD Display 3. Auto charging 4. Direction key 5. Clock setting 6. Spot cleaning mode | 7. Edge cleaning mode 8. Scheduled cleaning mode 9. Mopping mode _ 10. Suction setting key 11. Confirmation key 12. Auto mode |
Install 2 AAA batteries before using the remote control for the first go time. Make sure the positive and negative ends are facing the correct polarity direction as marked in the battery compartment.
LED Indication
| Status Light | Status | |
| On/Off Status | Solid Green light on Robot Cleaner | •When Power switch on the Robot Vacuum Cleaner being turned on, Green light appears • control being pressed, Robot Vacuum starts working, Green light appears. |
| Error Status | Flashing Red Light on Robot Vacuum Cleaner | •Check if the roller brush being stuck. •Check if Left wheel or Right wheel being stuck. •Check if the side brushes being stuck. •Check if the Swivel wheel being stuck. •Check if the device is suddenly picked up or cannot return from stairs. Check if the battery is overheated. •Check if the bumper being stuck. |
| Standby Status | Light goes off from green light on Robot Vacuum Cleaner | •If the Robot Vacuum Cleaner does not respond to any instructions over 30 minutes once the power switch is turned on, the device will goes to standby mode, and the green light will be turned off. |
| Charging Status | Green light & Red Light flash alternatively on Robot Vacuum Cleaner | •When the battery power is low, the Robot Vacuum Cleaner will search the Charging Base, Greenlight/Red light will blink alternatively. (Once it finds the Charging base and start charging, the light will turn back to green; when is battery is fully charged, the light will go off automatically) |
| Network Matching Status | Greenlight flash 3 times every second | •When the Robot Vacuum Cleaner being connected to the network through WIFI. |
| Greenlight flash every 1.5 seconds | •When the Robot Vacuum Cleaner being connected to the shared hot-spot or WIFI Modular. |
Using Your Robot Vacuum Cleaner
Important Tips before Use

A) Remove power cords and small objects from the floor that may entangle Robot Vacuum Cleaner.
B) Fold tasseled edges of area rugs underneath to prevent tangling Robot Vacuum Cleaner. Avoid cleaning very dark-colored high-pile rugs or rugs thicker than 1.02 in/26 mm as they may cause Robot Vacuum Cleaner to malfunction.
C) Keep Robot Vacuum Cleaner away from spaces lower than 3.15in/80mm to prevent it from getting stuck. If necessary, place a physical barrier to block off the problem areas.
D) Keep Robot Vacuum Cleaner away from wet areas.
E) Robot Vacuum Cleaner May climb on top of objects less than 0.63in/16mm in height. Remove these objects if possible.
F) Anti-drop sensors prevent Robot Vacuum Cleaner from tumbling down stairs and steep drops. They may work less effectively if dirty or used on reflective/ very dark-colored floors. It is recommended to place physical barriers to block off areas where Robot Vacuum may fall.
Place physical barriers in front of fireplaces and areas that may cause damage to Robot Vacuum Cleaner if entered.
Preparation
- Install the side brushes before use.

- Turn on the main power switch on the bottom of Robot Vacuum Cleaner.

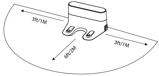
Remove the sticker next to the power switch, and the foam blocks beside the bumper before use. - Place the Charging Base on a hard, level surface and against a wall.

- Remove objects within 3ft/1m of the left and right side and within 6ft/2m of the front of the charging base.

- Connect the round connector of the adapter into the power socket on the Charging Base and the other end into a wall outlet.

– Install the Charging Base in a location that Robot Vacuum Cleaner can easily access. It is recommended to place the Charging Base against a wall, and on a hard-level surface rather than on rugs or carpets.
– Always keep the Charging Base plugged in, otherwise Robot Vacuum Cleaner will not automatically return to it.
Charge Your Robot Vacuum Cleaner
- Robot Vacuum Cleaner has a pre-installed rechargeable battery that has to be carefully charged before use.
- Robot Vacuum Cleaner returns to the Charging Base at the end of a cleaning cycle or when its battery is running low.
Method 1: Attach Robot Vacuum Cleaner to the Charging Base by aligning its charging pins with the charging pins on the base (Figure 1).
Method 2: Press 127 on the remote control to return Robot Vacuum Cleaner to the Charging Base (Figure 2).

Turn of the main power switch if Robot Vacuum Cleaner will not be used for a long period of time. To preserve the battery’s lifespan, recharge at least once every 6 months.
Start/Stop Cleaning
Make sure the main power switch on the bottom of Robot Vacuum Cleaner is turned on before use.
- Press
on Robot Vacuum Cleaner or
Pll on the remote control to start cleaning. - Press
on Robot Vacuum Cleaner or
Pll on the remote control to stop cleaning.

Select a Cleaning Mode
- Auto Cleaning
Robot Vacuum Cleaner optimizes its cleaning path by selecting different cleaning modes automatically until cleaning is complete. This is the most commonly used cleaning mode.
Press
on Robot Vacuum Cleaner or
or
on the remote control to start cleaning in Auto mode.
– Robot Vacuum Cleaner will return to the Charging base automatically when the battery level becomes low or when it finishes cleaning.
– By Default, Robot Vacuum Cleaner starts in Auto cleaning mode when it is turned on.
1200pa and 1800pa Two Stages Suction Power Feature
When
is pressed under Auto Cleaning mode, Robot Vacuum Cleaner will automatically switch the suction power between 1200pa and 1800pa, for thicker carpets and hard-to-sweep messes, 1800pa suction power is recommended, which will reduce the total cleaning time, but increase the noise level. If the vacuuming noise caused by this feature disturbed you, you can switch to 1200pa to reduce the noise. (This feature works in Auto mode and Spot mode and Edge mode)
In Auto or Spot cleaning and Edge cleaning mode, press
on the remote control repeatedly to adjust the suction power level.
The corresponding icon is displayed on the remote control
| Icon | Suction Power Level |
| Standard power of 1200pa | |
| Enhanced power of 1800pa |
When Robot Vacuum Cleaner starts cleaning in Auto or Spot cleaning or Edge cleaning mode the next time, it will clean according to the suction power level you previously selected. When Robot Vacuum Cleaner is switched off and started again, it will clean in standard suction power of 1200pa.
2. Edge Cleaning
Robot Vacuum Cleaner reduces its speed when it detects a wall and then follows the all to ensure the edge is cleaned thoroughly.In Edge mode, Robot Vacuum Cleaner will clean for 20 minutes and return to the Charging base.
Press
on the remote control to start cleaning in Edge mode.

3. Spot Cleaning
Press this key to clean the fixed area firstly in spiral way outwards, when the radius of outer circle is close to 0.5 meter, machine will then clean the fixed area in spiral way inwards to starting point.
Press
on the remote control to start cleaning in Spot Mode.

4. Manual Cleaning
You can direct Robot Vacuum Cleaner to clean a particular area by using the directional buttons on the remote control.

5. Mopping mode
Press
this key to switch to low, medium, high level to control water flow of water tank.
Set Time and Scheduled Cleaning
Set Time
Make sure the time is set correctly to your local time before setting a scheduled cleaning.
- Make sure the main power switch on the bottom of Robot Vacuum Cleaner is turned on.
- Press
onthe remote control, the time will blink on the display. - Press
to set the “hour” and “minute” (time is set with 24 hours) - Press
or
to save the setting.

To ensure the time is set successfully, make sure Robot Vacuum Cleaner is turned on.
Set a Scheduled Cleaning
You can schedule Robot Vacuum Cleaner to start cleaning at a specified time.
To cancel a previously scheduled cleaning, press and hold
for 3 seconds until the voice reminder confirms the canceling process is done and
disappears.
Note: Before setting a scheduled cleaning, make sure the time has been set correctly to your local time; refer to the previous section “Set Time” for how to set the time.
- Make sure the main power switch on the bottom of Robot Vacuum Cleaner is turned on.
- Press
on the remote control, the time will blink on the display. - Press
to set the “hour” and “minute” (time is set with 24 hours) - Press
or
to save the setting.
will appear on the screen, and the voice reminder will confirm that the scheduled cleaning is successfully set.

To ensure the time is set successfully, make sure Robot Vacuum Cleaner is turned on. You will hear the voice reminder telling you the scheduled cleaning is set.
Cleaning and Maintenance
For optimal performance, follow the instructions below to clean and maintain Robot Vacuum Cleaner regularly. The cleaning/replacement frequency will depend on your usage habits of Robot Vacuum Cleaner.
Recommended cleaning/replacement frequency:
| Robot Vacuum Cleaner Part | Maintenance Frequency | Replacement Frequency |
| Side Brush | Once every 2 weeks | Every 3-6 months |
| Rolling Brush | Once every week | Every 6-12 months |
| HEPA filter | Once every week | Every 3-6 months |
| Swivel Wheel Anti-drop sensors Bumper Charging Pins Charging Dock | Once every week | N/M |
Clean the Dust Collector and Filters
- Press the dust collector release button to pull the dust collector out.

- Open and empty the dust collector.

- Remove the pre-filter by pulling the hooks as shown.
Take out the pre-filter and HEPA filter.
- Clean the dust collector and filters with a vacuum cleaner or a cleaning brush.

- Put the filters back together in the dust collector.

- Push the dust collector back to the main unit.
You can wash the dust collector, pre-filter with water. Be sure to air-dry them thoroughly before reassembling. Do not wash the high-performance filter with water, as it may damage the filter and reduce the suction power.
Clean the Rolling Brush
- Pull on the release tabs to unlock the brush guard as shown.
- Lift the rolling brush to remove.
- Clean the rolling brush with the provided cleaning tool or a vacuum cleaner.
- Reinstall the rolling brush by inserting the fixed protruding end first and then clicking into place.
- Press down to snap the brush guard into place.


Clean the Side Brushes
Foreign substances, such as hair, can easily get tangled in the side brushes, and dirt may adhere to them. Be sure to clean them regularly.
- Remove the side brushes.
- Carefully unwind and pull off any hair or string that is wrapped between the main unit and the side brushes.
- Use a cloth dampened with warm water to remove dust from the brushes or to gently reshape them.

Only use the side brushes when they are completely dry.
Replace the Side Brushes
The side brushes may become bent or damaged after being used for a period of time. Follow the instructions below to replace them.
Pull off the old side brushes and snap the new ones into place.

Clean the Sensors and Charging Pins
To maintain the best performance, clean the drop sensors and charging pins regularly.
- Dust off the drop sensors and charging pins using a cloth or cleaning brush.

Clean the Swivel Wheel
Hair or dust particles can easily get tangled in the swivel wheel. Be sure to clean the swivel wheel periodically and as needed.

- Pull out the swivel wheel.

- Clean any hair or debris wrapped around the wheel or entangles inside the wheel cavity.
- Reinstall the wheel and push in until it clicks into place.
– You can clean the swivel wheel with water.
– Use swivel wheel only when it is completely dry.
Troubleshooting
Frequently asked questions.
| Problems | Solutions |
| Robot Vacuum Cleaner cannot be activated | • Make sure the main power switch is in the ON position. • Make sure the battery is fully charged. • Replace the batteries (2 AAA) in the remote control. • Make sure the remote control is within range (16ft/5m) of Robot Cleaner. • If you still have trouble, turn off the main power switch and then turn it back on. |
| The remote control does not work | • Replace the batteries in the remote control. • Make sure Robot Cleaner is turned on and fully charged. |
| Robot Vacuum Cleaner stops working suddenly | • Check if Robot Cleaner is trapped or stuck on an obstacle. • Check if the battery Is too low. • If you still have trouble, turn off the main power switch, wait for 2 seconds, and then turn it back on. |
| You cannot schedule cleanings | • Make sure main power switch on the bottom is turned on. • Make sure the time, and the scheduled time have been set correctly. • Check if Robot Cleaner power is too low to start cleaning. |
| Suction power is weak | • Check if any obstructions are blocking the suction inlet. • Empty the dust collector. • Clean the filters with a vacuum cleaner or a cleaning brush. • Check if the filters are wet due to water or other liquid on the floor, air-dry the filters completely before use. |
| Robot Vacuum Cleaner cannot be charged | • Check if the indicator on the Charging Base lights up. If not, contact Hikins service team to repair or replace the Charging base. • Dust off the charging contact pins with a dry cloth. • Check if you can hear a beep and voice reminder of charging started. If not, contact Hikins service team to repair or replace the charging base. |
| Robot Vacuum Cleaner cannot return to charging base | • Remove objects within 3ftitm to the left and right side and within 6ft/2m of the front side of the charging base. • When Robot Cleaner is in the vicinity of the charging base, it will return more quickly. However, if the charging base is located far away, Robot Cleaner need more time to return. Please be patient as it works its way back. • Clean the charging contact pins. |
| The rolling brush does not rotate | • Clean the rolling brush. • Check if the rolling brush and brush guard have been installed properly. |
| Robot Vacuum Cleaner’s movement or travel path are abnormal | • Clean the sensors carefully with a dry cloth. • Restart Robot Cleaner by turning the power switch off and on. |
Specifications
| 1 | Rated voltage | DC14.8V |
| 2 | Applicable voltage range | DC14—DV17V |
| 3 | Lithium battery capacity | 2600mAh |
| 4 | Powered by | Rechargeable lithium battery(charging duration:3-4hours) |
| 5 | Cleaning hour on a charge | 60-100mins |
| 6 | Rated power | 24W |
| 7 | Working temperature range | -10`C 55’C |
| 8 | Working humidity range | 90RH |
| 9 | Standby current | 565mA |
| 10 | Working noise level | 568dB |
| 11 | Power adaptor voltage | 18V |
| 12 | Machine lifespan | 57200-8000 hours continuous working or 3 years for intermittent use |
| 13 | Dimension | 330(diameter) x 79mm(height) |
| 14 | Net weight | 3.0KG |
| 15 | Charging mode | Auto recharge /Manual |
| 16 | Charging duration | 3-4h |
| 17 | Product conforms to national standards below: QB51130-2015 : Light industry standard cleaning robots for household and type purposes in China | |
| Cleaning modes | Auto mode, Edge mode, Spot mode |
| Cleaning parts(Suction port, roller brush, both are replaceable) | roller brush and suction port |
| Dustbin capacity | 600ML |
| Dustbin filtration components | Washable pre-filter, sponge (not washable) and HEPA filter(not washable) |
| Suction port | Removable, not washable |
| Size of roller brush | 155*40mm |
| Ground identification | Infrared sensor |
| Water tank | Electrically controlled |
| Water flow control(0/1/2/3) | Adjustable third gear |
| Water tank capacity ( ml) | 400m1 |
| Working hour with a full water tank | 120/90/60 min |
| Water tank automatic detection | Support |
| Mop cloth size (mm) ) | 175*90mm |








Take out the pre-filter and HEPA filter.






















