Furniture of America CM7383N Night Stand Drawer

TOOLS REQUIRED

ASSEMBLY RATING

The Assembly Rating is a 5-point system showing the level of effort needed to assemble a specific product.
CHECK BEFORE STARTING
- Are you missing anything?
Double-check all parts, hardware and accessories listed on Page 6 are accounted for. - Should we send any replacements?
Are there any irregularities or flaws in the parts? We can send replacements! - Check out our Quick Tips!
We recommend reviewing the pre-assembly handouts. Even experts need a refresher now and then! - Prep Time!
Please review the assembly instructions and all diagrams prior to assembling. Arrange parts as recommended on Page 7 and group identical hardware together to make assembling easier.
PRE ASSEMBLY INTRODUCTION
We understand building ready-to-assemble furniture can be a challenging experience for some. To help avoid confusion, we have provided some helpful tips that may speed up the process.
- Teamwork
ALWAYS have at least two people to help with transporting and assembling the product to avoid potential injury and/or damage.
- Suitable Location
Assembling near the area of the intended location is highly recommended.
- Sufficient Space
Make sure you have enough space to move around during the assembly.
- Avoid Scratches
Use cardboard, blankets or a carpeted area while assembling furniture to prevent scratches.
- Flat Surface
Make sure the furniture rests on a flat and level surface with each leg evenly touching the floor.
ASSEMBLY AND CARE ADVICE
FAILURE TO FOLLOW THE GUIDELINES BELOW MAY RESULT IN INJURY AND/OR PROPERTY DAMAGE.
- Position each part correctly and insert screws or bolts into their respective holes.

- Turn clockwise to tighten and only tighten when step is completed or when instructed to do so.

- Use the appropriate hand tools or power tools for assembly. Select steps, such as tightening screws and/or bolts, may require hand tools to avoid causing damage during assembly.

- Save the instructions and store any supplied tools for later maintenance.

- After two weeks, check and tighten any loose hardware and repeat again every six months thereafter.

IT IS THE USER’S RESPONSIBILITY TO MAINTAIN THE FURNITURE. THE HARDWARE MAY LOOSEN OVER TIME AND MAY CAUSE THE FURNITURE TO BE WOBBLY AND UNABLE TO SUPPORT ITS INTENDED WEIGHT CAPACITY. THIS MAY LEAD TO COLLAPSE AND MAY CAUSE SERIOUS INJURY.
NIGHTSTAND
- Please keep instructions for future reference.
- Check the quantity and irregularity of parts and hardware before you start.
PARTS

HARDWARE

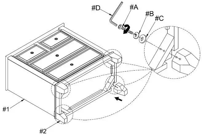
Exploded View

ASSEMBLY INSTRUCTIONS
Align legs (#2) to the nightstand (#1), then secure by using bolts (#A) with washers (#B, C).
- Part # x1pc
- Part # x4pcs
- Hardware #Ax 8pcs
- Hardware#B) x 8pcs
- Hardware #x 8pcs

- Hardware #3 X 1set

ASSEMBLY COMPLETED
Please ensure the furniture rests on an even and flat surface. If the product wobbles or feels loose, double-check all bolts and/or screws are properly tightened and secured.
- Keep this handy!
Please retain this instruction manual and any order-related information for future reference. - Lift, don’t drag!
To avoid damage to product please always LIFT the product when transporting of adjusting the placement.
Wall Mounting and Fixing
EXPANSION WALL ANCHOR
Our provided expansion wall anchors are only suitable for masonry walls, such as drywall, plaster or concrete, and are best for holding lightweight items or for anti-tip prevention. If you are unsure of the correct wall anchor to use with the product, please request professional guidance. liability for product damage or failure due to using the incorrect anchors will fall on the installer.
CHECK BEFORE PROCEEDING
Prior to drilling or hammering, please check for wires or pipes. We recommend using a stud finder to locate a stud, which will offer more appropriate resistance and hold more weight.
QUICK TIPS
- If unsure of the proper size, always choose a larger screw and wall anchor.
- Match the drill bit to the wall anchor and hole size.

- Only drill horizontally. Do not force the drill or enlarge the hole for the wall anchor.
- Take extra care when drilling into high walls or ceramic tiles. Wall anchors should be a tight fit for the hole. Never use wall anchors in ceilings.

MAINTENANCE
Yearly Check
We recommend a yearly check to see if the wall anchor or screw has loosened. If so, please remove the existing wall anchor and screw, and use a new anchor.

































