Whirlpool ADG 4554 M Dishwasher User Manual

BEFORE USING THE DISHWASHER/CONNECTIONS
- Removing the packaging and controls: After unpacking, make sure that the dishwasher is undamaged and that the door closes correctly. If in doubt, contact a qualified technician or your local retailer.
- Keep the packaging materials (plastic bags, polystyrene parts, etc.) out of reach of children, as they are potentially dangerous.
- This dishwasher has been factory tested to ensure it functions correctly.
- Such testing may leave slight water marks that will disappear with the first wash.
- Water and electrical connections:
- All water and electrical connections must be carried out by a qualified technician in compliance with the manufacturer’s instructions (refer to the enclosed installation booklet) and current local safety regulations.
- The appliance must only be used in the household for the prescribed uses.
- Do not use the dishwasher if it has been damaged in transit. Consult your local retailer or our After-Sales Service.
- (Refer to the separate installation instructions booklet)
- Water inlet and drain:
- Observe any special regulations issued by your local Water Board.
- Water supply pressure: 0.3 – 10 bar.
- Make sure the inlet and drain hoses are kink-free and are not crushed.
- If the hose length is not sufficient, please contact your local dealer or our After-Sales Service.
- The inlet hose must be securely clamped to the water tap to prevent leaks.
- the inlet water temperature varies according to the model installed. Inlet hose marked “25°C Max”: maximum temperature 25°C.
- All other models: maximum temperature 60°C.
- When installing the appliance, make sure the drain water discharges correctly (if necessary, remove the wire gauze from the sink siphon).
- Fix the drain hose to the spigot with a clamp to prevent it from coming off during operation.
- For appliances with a water-stop system only: If the water connections are made correctly, the water-stop system safeguards your home against damage caused by flooding.
- Electrical connection:
- Closely adhere to local Electricity Board regulations.
- Voltage information is shown on the rating plate mounted inside the door on the right-hand side.
- The appliance must be earthed as prescribed by law.
- Do not use extension leads or multiple adapters.
- Before carrying out maintenance, disconnect the mains plug.
- If necessary, the power cable may be replaced with one the same obtained from our After-Sales Service. The power cable must only be replaced by a qualified technician.
- Warning for models provided with LCD display:
- the main plug must be positioned in an easily accessible place.
- For Austria:if the apparatus is series connected to a fault current switch, this must be sensitive to the pulsating current.
ELECTRICAL CONNECTION
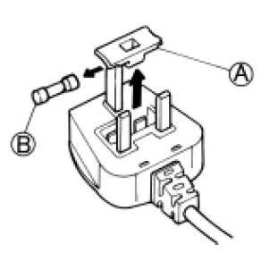
For Great Britain only
Warning – this appliance must be earthed
Fuse replacement
If the mains lead of this appliance is fitted with a BS 1363A 13amp fused plug, to change a fuse in this type of plug use an A.S.T.A. approved fuse to BS 1362 type and proceed as follows:
- Remove the fuse cover (A) and fuse (B).
- Fit replacement 13A fuse into fuse cover.
- Refit both into the plug.
Important
The fuse cover must be refitted when changing a fuse and if the fuse cover is lost the plug must not be used until a correct replacement is fitted. Correct replacements are identified by the color insert or the color embossed in words on the base of the plug. Replacement fuse covers are available from your local electrical store.
For the Republic of Ireland only
The information given in respect of Great Britain will frequently apply, but a third type of plug and socket is also used, the 2-pin, side earth type.
Socket outlet/plug (valid for both countries)
If the fitted plug is not suitable for your socket outlet, please contact Whirlpool Service for further instructions. Please do not attempt to change the plug yourself. This procedure needs to be carried out by a qualified Whirlpool technician in compliance with the manufactures instructions and current standard safety regulations.
PRECAUTIONS AND GENERAL RECOMMENDATIONS
- Packing:
- The packing box may be fully recycled as confirmed by the recycling symbol.
- Energy and water-saving tips:
- Do not rinse the crockery under running water.
- Always fully load the dishwasher before switching on or set the wash program to half load/Multizone (if available) if one rack only is loaded.
- If ecological energy sources are available such as solar panel heating, heat pumps or centralized heating systems, the appliance may be connected to the hot water mains up to a maximum temperature of 60°C. Make sure the water inlet hose is of the correct type. Refer to the “Connections” chapter in these user instructions.
- Disposal:
- The appliance is built from reusable materials. If you decide to scrap the dishwasher, it must be disposed of in compliance with local waste disposal laws.
- Before scrapping, cut off the power cable so that the appliance cannot be connected to the mains.
- To prevent situations of potential danger to children (e.g. danger of suffocation), break the lock of the door so that it can no longer be closed.
- Child safety:
- Children must not be allowed to play with the dishwasher.
- Store the detergent, rinse aid, and salt in a dry place out of the reach of children.
- Safety warnings:
- The open dishwasher door can only support the weight of the loaded rack when pulled out. Do not rest objects on the open door or sit or stand on it: the appliance may topple over!
- Do not use solvents inside the dishwasher: risk of explosion!
- Sharp knives and forks that might cause injury must be placed in the cutlery basket with the sharp end facing downwards.
- Long-handled utensils must be arranged horizontally in the upper rack, with the sharp end facing away from the front of the appliance.
- Before cleaning or carrying out maintenance, switch off the appliance, disconnect the mains plug and turn off the water tap. If a fault occurs, switch off the appliance and turn off the water tap.
- On completion of the program switch off the dishwasher and turn off the water tap.
- Repairs and technical modifications must be carried out exclusively by a qualified technician.
- The water in the dishwasher is not potable.
- Do not store inflammable liquids near the dishwasher.
- Do not operate the appliance in the open air.
- Resistance to frost
- If the appliance is placed in surroundings exposed to the risk of frost, it must be drained completely. Turn off the water tap, remove the flexible inlet and outlet hoses, and let all the water run out.
- For appliances with water stop system:
- The water inlet hose and plastic casing contain electrical components. Do not, therefore, cut the hose or immerse the plastic casing in water. If the hose is damaged switch off the appliance immediately.
- The appliance must be used at temperatures between 5°C and 45°C.
EC Declaration of conformity
This appliance has been designed, constructed, and distributed in compliance with the safety requirements of EC Directives:
- 73/23/EEC
- 89/336/EEC
- 93/68/EEC
Load capacity: 12 place settings.
HOW TO FILL THE SALT CONTAINER

From a water hardness category of 1–2 (medium), before using the dishwasher, fill the salt container with regeneration salt (to find out the hardness level of water in your area, contact your local Water Board or check the last bill you received). If the water hardness level does not correspond to position 3 on the selector (factory setting) or if the water hardness level changes: Turn the selector to the correct position (for dishwashers without salt sensor only): Set the water hardness by turning the selector (if fitted) inside the door (top left) using a screwdriver. Use the table below to set the dial to the correct setting:
| Hardness level | German degrees °dH | French degrees °fH | mmol/l | Clarke scale or English degrees °eH | Setting |
| 1 soft | 0 – 5 | 0 – 9 | 0 – 0,9 | 0 – 6,3 | 0 |
| 1 – 2 medium | 6 – 10 | 10 – 18 | 1,0 – 1,8 | 7 – 12,6 | 1 |
| 2 average | 11 – 15 | 19 – 27 | 1,9 – 2,7 | 13,3 – 18,9 | 2 |
| 3 medium- hard | 16 – 21 | 28 – 37 | 2,8 – 3,7 | 19,6 – 25,9 | 3 |
| 4 hard | 22 – 28 | 38 – 50 | 3,8 – 5,0 | 26,6 – 35 | 4 |
| 4 very hard | 29 – 35 | 51 – 63 | 5,1 – 6,3 | 35,7 – 44,1 | 5 |
| 4 extremely hard | 36 – 60 | 64 – 107 | 6,4 – 10,7 | 44,8 – 74,9 | 6 |
How to fill the salt container
Warning: Only use regeneration salts for use in domestic dishwashers!
Do not fill the salt container with unsuitable substances, such as detergent, as this will cause irreparable damage to the water softener system.
- Remove the lower rack.
- Unscrew the cap by turning it counterclockwise.
- When first using the dishwasher: fill the salt container to the rim with water.
- Fill the salt container to the rim with salt (using the filler provided) (when filling for the first time use min. 1.5 kg and max. 2 kg) and stir with a spoon handle.
- Screw the cap back on by turning it clockwise.
- Fit the lower rack.
- If regeneration salt is to be added, immediately start a wash program (rinsing alone is not sufficient) in order to eliminate any residual saline solution straight away and avoid corrosion.
Salt level indicator
The dishwasher is equipped with an electric or visual salt level indicator (depending on the model installed).
Electric indicator
The salt level indicator lamp on the control panel lights up when the salt container is empty.
Visual indicator
The float is clearly visible in the cap window when the salt container is full. The float lowers and is no longer visible when the salt container is empty. For dishwashers without salt sensors only! In appliances provided with a salt sensor, the selector automatically turns to the correct position.
If the water hardness level falls within category 1 (soft), no salt is required.
HOW TO FILL THE RINSE AID DISPENSER

The rinse aid facilitates drying and prevents the formation of unsightly spots and streaks on crockery. Before using the dishwasher for the first time, fill the rinse aid dispenser. Only use rinse aids recommended for use in domestic dishwashers.
- Press button A to open the cover (see drawing).
- Fill the dispenser with rinse aid up to the dotted line (about 100 ml maximum). Immediately wipe away any rinse aid spilled accidentally! This prevents the formation of excess suds which may spoil washing results.
- Close the cover. Thereafter, regularly check the rinse aid level.
How to adjust the rinse aid dosage regulator

Factory setting: Position 4.
If you are not satisfied with the washing or drying results, change the rinse aid dosage setting.
- Press button A to open the cover (see drawing).
- If crockery is prone to whitish streaks: reduce the dosage by turning the dial to a lower setting (1-3) using a coin or the like. If the crockery is not perfectly dry: increase the dosage by turning the dial to a higher setting (5-6).
- light add rinse aid
- dark sufficient rinse aid.
Electric indicator (if provided)
The indicator lamp on the control panel lights up when more rinse aid needs to be added.
HOW TO FILL THE DETERGENT DISPENSER

Only use detergents recommended for use in domestic dishwashers. Only fill the detergent dispenser prior to starting a wash program (see the Quick Reference Guide).
- Press button C to open the cover.
- How to fill the detergent dispenser.
- Programs with pre-rinse:
- Powder and/or liquid detergent: pour two-thirds of the recommended dosage into compartment (A); pour one-third into compartment (B).
- Tablets: place a tablet in compartment (A) and/or follow the directions on the detergent pack.
- Programs without pre-rinse: Powder and/or liquid detergent, tablets: pour the entire recommended dosage into the compartment (A).
- For programs with an additional “Half load/Multizone” function selected (if provided):
- When using powder or liquid detergent the dosage can be reduced by 1/3.
- Close the cover.

Detergent
Use good quality liquid or powder dishwasher detergents and/or tablets (do not use hand dishwashing detergents). In order to safeguard the environment, follow the manufacturer’s directions for use. Do not use more than the amount of detergent that is recommended. Observe the manufacturer’s safety warnings. Keep these products out of reach of children. If you use detergents in tablet form, follow the manufacturer’s directions for use. If you use multi-action dishwasher detergents that incorporate rinse aid and regeneration salt, follow the directions below:
- products that incorporate the rinse aid enhance the detergent action only with some programs.
- products that do not require using regeneration salt may be used only in areas with specific water hardness levels.
Read the product user instructions carefully. If in doubt, contact the detergent manufacturer. The guarantee is not applicable if faults are caused by the use of these products.
CARE AND MAINTENANCE
Before cleaning or carrying out maintenance, switch off the appliance, disconnect the mains plug and turn off the water tap.
Cleaning the outside of the appliance:
To clean the outside of the appliance, use a neutral detergent and a damp cloth. Clean the control panel with a damp cloth only. Do not use abrasive detergents.
Cleaning the inside of the dishwasher:
Regularly wipe the door seal and inside of the door with a damp cloth to remove any food residue.
Upper spray arm:

- Slacken the fixing nut (A) (by turning it counter-clockwise) and detach the spray arm (B) by pulling it down.
- Rinse the nozzles.
- To remount the spray arm, align it and then tighten the fixing nut (by turning it clockwise), paying attention not to bend it. The fixing nut must be tightened until it clicks! Make sure the spray arm rotates freely.
Lower spray arm:
- Slacken the fixing nut (C) (by turning it counter-clockwise) and detach the spray arm (D) by pulling it upwards.
- Rinse the nozzles.
- To remount the spray arm, align it and then tighten the fixing nut (by turning it clockwise), paying attention not to bend it. The fixing nut must be tightened until it clicks.
Make sure the spray arm rotates freely.
CARE AND MAINTENANCE

Cleaning the filters

- Rotate the microfilter counter-clockwise (in the direction of the arrow “0”) and extract it (E).
- Remove the wide-mesh filter (F).
- Remove the fine-mesh filter (G).
- Clean all filters under running water, paying attention not to bend the fine-mesh filter. Check that no impurities are left inside the dishwasher!
- To reassemble: insert the wide-mesh filter into the microfilter so it clicks into place. Insert the fine-mesh filter.
The filter must be fitted under both tabs (H). Insert the wide-mesh filter/microfilter unit and turn clockwise (in the direction of the arrow “1”), until the dashed lines on the microfilter and fine-mesh filter are aligned. The filter unit must be correctly assembled to ensure good wash results!



















