HILTI TE DRS-B Dust Removal System
Instruction Manual
TE DRS-B Dust Removal System




Information about the documentation
1.1 About this documentation
- Read this documentation before initial operation or use. This is a prerequisite for safe, trouble-free handling and use of the product.
- Observe the safety instructions and warnings in this documentation and on the product.
- Always keep the operating instructions with the product and make sure that the operating instructions are with the product when it is given to other persons.
1.2 Explanation of symbols
1.2.1 Warnings
Warnings alert persons to hazards that occur when handling or using the product. The following signal words are used:
DANGER
DANGER !
▶ Draws attention to imminent danger that will lead to serious personal injury or fatality.
WARNING
WARNING !
▶ Draws attention to a potential threat of danger that can lead to serious injury or fatality.
CAUTION
CAUTION !
▶ Draws attention to a potentially dangerous situation that could lead to personal injury or damage to the equipment or other property.
1.2.2 Symbols in the operating instructions
The following symbols are used in these operating instructions:
| Comply with the operating instructions | |
| Instructions for use and other useful information | |
| Dealing with recyclable materials | |
| Do not dispose of electric equipment and batteries as household waste | |
| Hilti Liion battery | |
| Hilti charger |
1.2.3 Symbols in illustrations
The following symbols are used in illustrations:
| 2 | These numbers refer to the illustrations at the beginning of these operating instructions. |
| 3 | The numbering reflects the sequence of operations shown in the illustrations and may deviate from the steps described in the text. |
| 11 | Item reference numbers are used in the overview illustration and refer to the numbers used in the key in the product overview section. |
| These characters are intended to specifically draw your attention to certain points when handling the product. |
1.3 Product-dependent symbols
1.3.1 Symbols on the product
The following symbols can be used on the product:
| The product supports near-field communication (NFC) technology compatible with iOS and Android platforms. | |
| Hilti Li-ion battery type series used. Observe the information given in the section headed Intended use. | |
| Li-ion battery | |
| Never use the battery as a striking tool. | |
| Do not drop the battery. Never use a battery that has suffered an impact or is damaged in any other way. | |
| Wear protective goggles | |
| Always work with both hands. | |
| Rated speed | |
| Revolutions per minute | |
| Revolutions per minute | |
| Diameter | |
| If applied on the product, the product has been certified by this certification body for the US and Canadian markets according to the applicable standards. |
1.4 Product information
products are designed for professional users and only trained, authorized personnel are permitted to operate, service and maintain the products. This personnel must be specifically informed about the possible hazards. The product and its ancillary equipment can present hazards if used incorrectly by untrained personnel or if used not in accordance with the intended use.
The type designation and serial number are printed on the rating plate.
▶ Write down the serial number in the table below. You will be required to state the product details when contacting Hilti Service or your local Hilti organization to inquire about the product.
Product information
| Cordless satin finisher | GPB 6X-22 |
| Generation | 2 |
| Serial no. |
Safety
2.1 General power tool safety warnings
WARNING Read all safety warnings, instructions, illustrations and specifications provided with this power tool. Failure to follow all instructions listed below may result in electric shock, fire and/or serious injury.
Save all warnings and instructions for future reference.
The term “power tool” in the warnings refers to your mains-operated (corded) power tool or battery-operated (cordless) power tool.
Work area safety
- Keep work area clean and well lit. Cluttered or dark areas invite accidents.
Do not operate power tools in explosive atmospheres, such as in the presence of flammable liquids, gases or dust. Power tools create sparks which may ignite the dust or fumes. - Keep children and bystanders away while operating a power tool. Distractions can cause you to lose control.
Electrical safety
- Power tool plugs must match the outlet. Never modify the plug in any way. Do not use any adapter plugs with earthed (grounded) power tools. Unmodified plugs and matching outlets will reduce risk of electric shock.
- Avoid body contact with earthed or grounded surfaces, such as pipes, radiators, ranges and refrigerators. There is an increased risk of electric shock if your body is earthed or grounded.
- Do not expose power tools to rain or wet conditions. Water entering a power tool will increase the risk of electric shock.
- Do not abuse the cord. Never use the cord for carrying, pulling or unplugging the power tool. Keep cord away from heat, oil, sharp edges or moving parts. Damaged or entangled cords increase the risk of electric shock.
- When operating a power tool outdoors, use an extension cord suitable for outdoor use. Use of a cord suitable for outdoor use reduces the risk of electric shock.
- If operating a power tool in a damp location is unavoidable, use a residual current device (RCD) protected supply. Use of an RCD reduces the risk of electric shock.
Personal safety
- Stay alert, watch what you are doing and use common sense when operating a power tool. Do not use a power tool while you are tired or under the influence of drugs, alcohol or medication. A moment of inattention while operating power tools may result in serious personal injury.
- Use personal protective equipment. Always wear eye protection. Protective equipment such as a dust mask, non-skid safety shoes, hard hat or hearing protection used for appropriate conditions will reduce personal injuries.
- Prevent unintentional starting. Ensure the switch is in the off-position before connecting to power source and/or battery pack, picking up or carrying the tool. Carrying power tools with your finger on the switch or energising power tools that have the switch on invites accidents.
- Remove any adjusting key or wrench before turning the power tool on. A wrench or a key left attached to a rotating part of the power tool may result in personal injury.
- Do not overreach. Keep proper footing and balance at all times. This enables better control of the power tool in unexpected situations.
- Dress properly. Do not wear loose clothing or jewellery. Keep your hair and clothing away from moving parts. Loose clothes, jewellery or long hair can be caught in moving parts.
- If devices are provided for the connection of dust extraction and collection facilities, ensure these are connected and properly used. Use of dust collection can reduce dust-related hazards.
- Do not let familiarity gained from frequent use of tools allow you to become complacent and ignore tool safety principles. A careless action can cause severe injury within a fraction of a second.
Power tool use and care
- Do not force the power tool. Use the correct power tool for your application. The correct power tool will do the job better and safer at the rate for which it was designed.
- Do not use the power tool if the switch does not turn it on and off. Any power tool that cannot be controlled with the switch is dangerous and must be repaired.
- Disconnect the plug from the power source and/or remove the battery pack, if detachable, from the power tool before making any adjustments, changing accessories, or storing power tools.
- Such preventive safety measures reduce the risk of starting the power tool accidentally.
- Store idle power tools out of the reach of children and do not allow persons unfamiliar with the power tool or these instructions to operate the power tool. Power tools are dangerous in the hands of untrained users.
- Maintain power tools and accessories. Check for misalignment or binding of moving parts, breakage of parts and any other condition that may affect the power tool’s operation. If damaged, have the power tool repaired before use. Many accidents are caused by poorly maintained power tools.
- Keep cutting tools sharp and clean. Properly maintained cutting tools with sharp cutting edges are less likely to bind and are easier to control.
- Use the power tool, accessories and tool bits etc. in accordance with these instructions, taking into account the working conditions and the work to be performed. Use of the power tool for operations different from those intended could result in a hazardous situation.
- Keep handles and grasping surfaces dry, clean and free from oil and grease. Slippery handles and grasping surfaces do not allow for safe handling and control of the tool in unexpected situations.
Battery tool use and care
- Recharge only with the charger specified by the manufacturer. A charger that is suitable for one type of battery pack may create a risk of fire when used with another battery pack.
- Use power tools only with specifically designated battery packs. Use of any other battery packs may create a risk of injury and fire.
- When battery pack is not in use, keep it away from other metal objects, like paper clips, coins, keys, nails, screws or other small metal objects, that can make a connection from one terminal to another. Shorting the battery terminals together may cause burns or a fire.
- Under abusive conditions, liquid may be ejected from the battery; avoid contact. If contact accidentally occurs, flush with water. If liquid contacts eyes, additionally seek medical help. Liquid ejected from the battery may cause irritation or burns.
- Do not use a battery pack or tool that is damaged or modified. Damaged or modified batteries may exhibit unpredictable behaviour resulting in fire, explosion or risk of injury.
- Do not expose a battery pack or tool to fire or excessive temperature. Exposure to fire or temperature above 130° C (265 °F) may cause explosion.
- Follow all charging instructions and do not charge the battery pack or tool outside the temperature range specified in the instructions. Charging improperly or at temperatures outside the specified range may damage the battery and increase the risk of fire.
Service
- Have your power tool serviced by a qualified repair person using only identical replacement parts. This will ensure that the safety of the power tool is maintained.
- Never service damaged battery packs. Service of battery packs should only be performed by the manufacturer or authorized service providers.
2.2 Additional safety instructions
Personal safety
- Use the product and accessories only when they are in perfect working order.
- Never tamper with or modify the product or accessories in any way.
- Avoid touching rotating parts – risk of injury!
- Always hold the tool with both hands on the grips provided. Keep the grips clean and dry.
- Wait until the product stops completely before you lay it down.
- Wear protective gloves when changing the accessory tool. Touching the accessory tool can result in cuts and burns.
- Dust produced by grinding, sanding, cutting and drilling can contain dangerous chemicals. Some examples are: lead or lead-based paints; brick, concrete and other masonry products, natural stone and other products containing silicates; certain types of wood, such as oak, beech and chemically treated wood; asbestos or materials that contain asbestos. Determine the exposure of the operator and bystanders by means of the hazard classification of the materials to be worked. Implement the necessary measures to restrict exposure to a safe level, for example by the use of a dust collection system or by the wearing of suitable respiratory protection. The general measures for reducing exposure include:
▶ working in an area that is well ventilated,
▶ avoidance of prolonged contact with dust,
▶ directing dust away from the face and body,
▶ wearing protective clothing and washing exposed areas of the skin with water and soap. - Take frequent breaks and do physical exercises to improve the blood circulation in your fingers. High vibration during long periods of work can lead to disorders of the blood vessels and nervous system in the fingers, hands and wrists.
- Risk of injury by falling tools and/or accessories. Before starting work, check that the battery and installed accessories are secure.
- Do not secure a belt hook to this power tool.
- Keep the air vents clear at all times. Risk of burn injuries due to blocked air vents!
Power tool use and care
- Do not set the product down with its weight resting on the battery.
2.3 Battery use and care
- Comply with the following safety instructions for the safe handling and use of Li-ion batteries.
Failure to comply can lead to skin irritation, severe corrosive injury, chemical burns, fire and/or explosion. - Use only batteries that are in perfect working order.
- Treat batteries with care in order to avoid damage and prevent leakage of fluids that are extremely harmful to health!
- Do not under any circumstances modify or tamper with batteries!
- Do not disassemble, crush or incinerate batteries and do not subject them to temperatures over 80 °C (176 °F).
- Never use or charge a battery that has suffered an impact or been damaged in any other way. Check your batteries regularly for signs of damage.
- Never use recycled or repaired batteries.
- Never use the battery or a battery-operated power tool as a striking tool.
- Never expose batteries to the direct rays of the sun, elevated temperature, sparking, or open flame. This can lead to explosions.
- Do not touch the battery poles with your fingers, tools, jewelry, or other electrically conductive objects.
This can damage the battery and also cause material damage and personal injury. - Keep batteries away from rain, moisture and liquids. Penetrating moisture can cause short circuits, electric shock, burns, fire and explosions.
- Use only chargers and power tools approved for the specific battery type. Read and follow the relevant operating instructions.
- Do not use or store the battery in explosive environments.
- If the battery is too hot to touch, it may be defective. Put the battery in a place where it is clearly visible and where there is no risk of fire, at an adequate distance from flammable materials. Allow the battery to cool down. If it is still too hot to touch after an hour, the battery is faulty. Consult Hilti Service or read the document entitled “Instructions on safety and use for Hilti Li-ion batteries”.
Observe the special guidelines applicable to the transport, storage and use of lithium-ion batteries. → page 11
Read the instructions on safety and use of Hilti Li-ion batteries that you can access by scanning the QR code at the end of these operating instructions.
Description
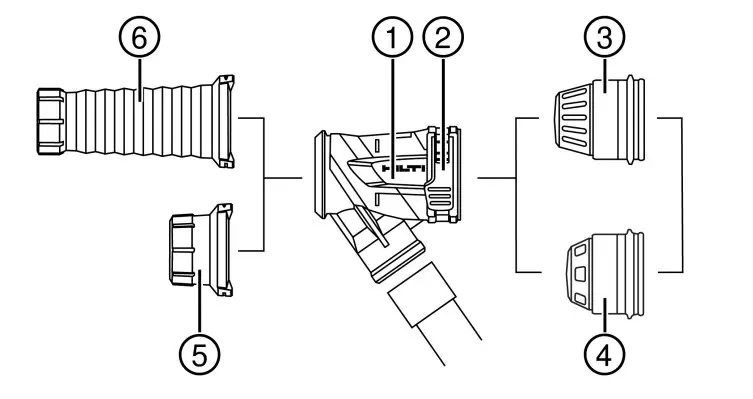
3.1 Product overview
| 1 | Suction base | 4 | S adapter |
| 2 | Toggle lever | 5 | Suction head, short |
| 3 | Y adapter | 6 | Suction head, long |
3.2 Intended use
The product described is a hand-held, cordless satin finisher. It is designed for use in surface finishing processes such as satinizing, structuring, polishing, brushing, smoothing, derusting or deburring steel, stainless steel or non-ferrous metals.
- For this product, use only Hilti Nuron lithium-ion batteries of the B 22 series. For optimum performance, Hilti recommends the batteries stated in the table at the end of these operating instructions for this product.
- For these batteries, use only Hilti chargers of the type series stated in the table at the end of these operating instructions.
3.3 Possible misuse
Do not use the product for wet grinding.
Do not use the product to work on hazardous or flammable materials (e.g. asbestos, magnesium, wood).
3.4 Items supplied
Satin finisher, pneumatic rubber roller, air pump, operating instructions.
Other system products approved for use with this product can be found at your local Hilti Store or at: www.hilti.group
3.5 Temperature-dependent motor protection
The temperature-dependent motor protection system monitors current input and motor temperature and thus prevents the power tool overheating.
If the motor is overloaded through application of excessive working pressure, the product’s performance drops noticeably or it might stall completely.
If the product stalls or slows significantly due to overloading, relieve the pressure applied to the product and then allow it to run under no load for approx. 30 seconds.
3.6 Status indicators of the Liion battery
Hilti Nuron Li-ion batteries can indicate state of charge, fault messages and the battery’s state of health.
3.6.1 Indicators for state of charge and fault messages
WARNING
Risk of injury by a falling battery!
▶ If the release button is pressed with a battery inserted in the product, subsequently check that the battery is correctly re-engaged and secure.
Short-press the release button of the battery to get whichever of the following status indications is applicable at the time.
State of charge and, if applicable, faults are indicated constantly as long as the connected product is switched on.
| Status | Meaning |
| Four (4) LEDs show constantly green | State of charge: 100 % to 71 % |
| Three (3) LEDs show constantly green | State of charge: 70 % to 51 % |
| Two (2) LEDs show constantly green | State of charge: 50 % to 26 % |
| One (1) LED shows constantly green | State of charge: 25 % to 10 % |
| One (1) LED slow-flashes green | State of charge: < 10 % |
| One (1) LED quick-flashes green | The Li-ion battery is completely discharged. Recharge the battery. If the LED again starts quick-flashing after the battery has been charged, consult Hitti Service. |
| One (1) LED quick-flashes yellow | The Li-ion battery or the product in which it is inserted is overloaded, too hot or too cold, or experiencing some other fault. Bring the product and the battery to the recommended working temperature and do not overload the product when it is in use. If the message persists, consult Hitti Service. |
| One (1) LED shows yellow | The Li-ion battery and the product in which it is inserted are not compatible. Consult Hitti Service. |
| One (1) LED quick-flashes red | The Li-ion battery is locked and cannot be used. Consult Hitti Service. |
3.6.2 Indicators showing the battery’s state of health
To check the battery’s state of health, press the release button and hold it down for longer than three seconds. The system does not detect a potential malfunction of the battery due to misuse, for example battery dropped or pierced, external heat damage, etc.
| Status | Meaning |
| All LEDs show in sequence, followed by one (1) LED showing constantly green. | The battery can remain in use. |
| All LEDs show in sequence, followed by one (1) LED quick-flashing yellow. | The check to ascertain the battery’s state of health did not complete. Repeat the procedure, or consult Hifti Service. |
| All LEDs show in sequence, followed by one (1) LED showing constantly red. | If a connected product can still be used, the re-maining battery capacity is below 50 %. If a connected product can no longer be used, the battery has reached the end of its useful life and has to be replaced. Consult Hiiti Service. |
Technical data
4.1 Product
| Weight without battery B22 | 2.4 kg (5.3 lb) |
| Rated voltage | 21.6 V |
| Speed range | 1,220 /min … 2,750 /min |
| Maximum tool diameter | 4 in |
| Maximum tool width | 100 mm (3.9 in) |
| Chuck | 19 mm (0.7 in) |
| Ambient temperature for operation | -17 °C … 60 °C (1 °F … 140 °F) |
| Storage temperature | -20 °C … 70 °C (-4 °F … 158 °F) |
4.2 Battery
| Battery operating voltage | 21.6 V |
| Weight, battery | See the end of these operating instructions |
| Ambient temperature for operation | -17 °C … 60 °C (1 °F … 140 °F) |
| Storage temperature | -20 °C … 40 °C (-4 °F … 104 °F) |
| Battery charging starting temperature | -10 °C … 45 °C (14 °F … 113 °F) |
Preparations at the workplace
WARNING
Risk of injury by inadvertent starting!
- Before inserting the battery, make sure that the product is switched off.
- Remove the battery before making any adjustments to the power tool or before changing accessories.
Observe the safety instructions and warnings in this documentation and on the product.
5.1 Charging the battery
- Before charging the battery, read the operating instructions for the charger.
- Make sure that the contacts on the battery and the contacts on the charger are clean and dry.
- Use an approved charger to charge the battery. → page 5
5.2 Inserting the battery
WARNING
Risk of injury by short circuit or falling battery!
- Before inserting the battery, make sure that the contacts on the battery and the contacts on the product are free of foreign matter.
- Make sure that the battery always engages correctly.
1. Charge the battery fully before using it for the first time.
2. Push the battery into the product until it engages with an audible click.
3. Check that the battery is seated securely.
5.3 Removing the battery
- Press the battery release button.
- Remove the battery from the product.
5.4 Installing the tool 2
- Press and hold down the spindle lock button.
- With the keyway correctly aligned, slip the tool on to the chuck.
- Press the tool firmly on to the chuck against the action of the spring and turn the tool clockwise.
▶ The chuck is locked.
Narrow accessory tools less than 100 mm in width need spacer rings to make up the difference in width. - Release the spindle lock button.
- Insert the battery. → page 8
- Perform a test run. Run the satin finisher for 30 seconds without load and check for vibration and imbalance.
▶ If vibration or imbalance is perceptible, remove the tool and reinstall it correctly. Make sure it is correctly seated. Do not use damaged tools or spacer rings.
5.5 Pneumatic rubber roller 3
- If necessary,deflate the pneumatic rubber roller by opening the valve. Use the back of the valve dustcap for this purpose.
- If applicable, ease the abrasive belt off the pneumatic rubber roller.
- Slip a new abrasive belt on to the pneumatic rubber roller. Make sure that the abrasive belt does not project on either side.
- Tension the abrasive belt by inflating the pneumatic rubber roller with the air pump provided for the purpose. Then screw the valve dustcap back on to the valve.
5.6 Adjusting the guard and grip 4
Always adjust the guard to a position at which the material removed by grinding is directed away from you.
- Open the clamping lever for adjusting the grip and the guard.
- Turn the grip and the guard to the desired position.
- Close the clamping lever.
5.7 Fall arrest
WARNING
Risk of injury by falling tool and/or accessory!
- Use only the Hilti tool tether recommended for your product.
- Prior to each use, always check the attachment point of the tool tether for possible damage.
Comply with the national regulations for working at heights.
As drop arrester for this product, use only a combination of the Hilti retaining strap and the Hilti tool tether #2261970.
- Secure the retaining strap to the installation openings for accessories. Check that it holds securely.
- Secure one carabiner of the tool tether to the retaining strap and secure the second carabiner to a load-bearing structure. Check that both carabiners hold securely.
Comply with the operating instructions of the Hilti retaining strap and those of the Hilti tool tether.
Operation
Observe the safety instructions and warnings in this documentation and on the product.
6.1 Switching on
- Press the rear section of the on/off switch.
- Slide the on/off switch forward.
▶ The motor runs. - Lock the on/off switch.
6.2 Setting the speed
▶ Use the adjusting knob to set the speed.
| Stage 1 | 1,220 /min |
| Stage 2 | 1,460 /min |
| Stage 3 | 1,710 /min |
| Stage 4 | 1,970 /min |
| Stage 5 | 2,450 /min |
| Stage 6 | 2,750 /min |
6.3 Grinding 5
CAUTION
Risk of injury! Grinding makes the workpiece hot.
▶ Do not attempt to touch the workpiece immediately after grinding and always wear suitable protective gloves to prevent burns. Keep everyone clear of your work zone.
- Lift the satin finisher clear of the work surface.
- Switch the tool on. → page 9
▶ The power tool then runs in sustained operating mode. - Set the speed. → page 9
- Bring the satin finisher with the tool into contact with the work surface and keep it moving with a steady back-and-forth action.
- Apply moderate pressure and do not press the abrasive belt into the material.
- For a decorative surface finish, move the satin finisher only with a steady back-and-forth, linear action.
Avoid movements at angles to the work.
6.4 Using the fence 6
The fence ensures precision in-line action for working on profiles.
- Release the locking screw on the fence.
- Adjust the fence.
- Tighten the locking screw.
6.5 Switching off
▶ Press the rear section of the on/off switch.
▶ The on/off switch jumps into the off position and the motor stops.
Optional accessories
7.1 Installing the extractor hood 7, 8
- Remove the securing screw for the guard.
- Turn the locking ring for guard attachment to open it.
- Pull the guard up toward the grip and off the gear head.
- From above, slip the extractor hood into the holder.
- Tighten the locking ring to secure the hood.
- Reinstall the securing screw.
Care and maintenance
WARNING
Risk of injury with battery inserted !
▶ Always remove the battery before carrying out care and maintenance tasks!
Care of the product
- Carefully remove stubborn dirt.
- Carefully clean the air vents, if present, with a dry, soft brush.
- Use only a slightly damp cloth to clean the housing. Do not use cleaning agents containing silicone as these can attack the plastic parts.
- Use a dry, clean cloth to clean the contacts of the product.
Care of the Liion batteries
- Never use a battery with clogged air vents. Clean the air vents carefully using a dry, soft brush.
- Avoid unnecessary exposure of the battery to dust and dirt. Never expose the battery to high levels of moisture (e.g. by being dipped in water or left in the rain).
If a battery has been soaked by moisture, treat it as a damaged battery. Isolate it in a non-flammable container and consult Hilti Service. - Keep the battery free of extraneous oil and grease. Do not permit dust or dirt to accumulate unnecessarily on the battery. Clean the battery with a dry, soft brush or a clean, dry cloth. Do not use cleaning agents containing silicone as these can attack the plastic parts.
Do not touch the contacts of the battery and do not remove the factory-applied grease from the contacts. - Use only a slightly damp cloth to clean the housing. Do not use cleaning agents containing silicone as these can attack the plastic parts.
Maintenance
- Check all visible parts and controls for signs of damage at regular intervals and make sure that they all function correctly.
- Do not use the product if signs of damage are found or if parts malfunction. Immediately have the product repaired by Hilti Service.
- After cleaning and maintenance, install all guards and protective devices and check that they are in full working order.
To help ensure safe and reliable operation, use only genuine Hilti spare parts and consumables. Spare parts, consumables and accessories approved by Hilti for use with your product can be found at your Hilti Store or online at: www.hilti.group
8.1 Changing the fence 9
A worn fence can be replaced.
- Remove the securing screw of the fence.
- Remove the worn fence and insert the new fence.
- Reinstall the securing screw with washer and O-ring.
Transport and storage of cordless tools and batteries
Transport
CAUTION
Accidental starting during transport !
- Always transport your products with the batteries removed!
- Remove the battery/batteries.
- Never transport batteries loose and unprotected. During transport, batteries should be protected from excessive shock and vibration and isolated from any conductive materials or other batteries that may come in contact with the terminals and cause a short circuit. Comply with the locally applicable regulations for transporting batteries.
- Do not send batteries through the mail. Consult your shipper for instructions on how to ship undamaged batteries.
- Prior to each use and before and after prolonged transport, check the product and the batteries for damage.
Storage
WARNING
Accidental damage caused by defective or leaking batteries !
- Always store your products with the batteries removed!
- Store the product and the batteries in a cool and dry place. Comply with the temperature limits stated in the technical data.
- Do not store batteries on the charger. Always remove the battery from the charger when the charging operation has completed.
- Never leave batteries in direct sunlight, on sources of heat, or behind glass.
- Store the product and batteries where they cannot be accessed by children or unauthorized persons.
- Prior to each use and before and after prolonged storage, check the product and the batteries for damage.
Troubleshooting
If a problem occurs, always observe the status indicator of the battery. See the section headed Status indicators of the Liion battery.
If the trouble you are experiencing is not listed in this table or you are unable to rectify the problem by yourself, contact Hilti Service.
| Trouble or fault | Possible cause | Action to be taken |
| The battery runs down more quickly than usual. | Very low ambient temperature. | ►Allow the battery to warm up slowly to room temperature. |
| The battery doesn’t engage with an audible click. | The retaining lug on the battery is dirty. | ►Clean the retaining lug and re-insert the battery. |
| The product or battery gets very hot. | Electrical fault | ►Switch the product off immediately, remove the battery, keep it under observation, allow it to cool down and contact Hilti Service. |
| Product does not develop full power. | A battery with inadequate capacity was used. | ►Use a battery with adequate capacity. |
Disposal
WARNING
Risk of injury due to incorrect disposal! Health hazards due to escaping gases or liquids.
- DO NOT send batteries through the mail!
- Cover the terminals with a non-conductive material (such as electrical tape) to prevent short circuiting.
- Dispose of your battery out of the reach of children.
- Dispose of the battery at your Hilti Store, or consult your local governmental garbage disposal or public health and safety resources for disposal instructions.
Most of the materials from which Hilti products are manufactured can be recycled. The materials must be correctly separated before they can be recycled. In many countries, your old tools, machines or appliances can be returned to Hilti for recycling. Ask Hilti Service or your Hilti sales representative for further information.
▶ Do not dispose of power tools, electronic equipment or batteries as household waste!
Manufacturer’s warranty
▶ Please contact your local Hilti representative if you have questions about the warranty conditions.
Further information
For more information on operation, technology, environment and recycling, follow this link: qr.hilti.com/manual/?id=2332217
This link is also to be found at the end of the documentation, in the form of a QR code.

https://hilti.to/ontrackapp
Hilti Corporation LI-9494 Schaan
Tel.:+423 234 21 11
Fax:-F423 234 29 65
www.hilti.group
Hilti = registered trademark of Hilti Corp., Schaan



















