ARCPAR 150 Oudtoor Flood and Spot Lighting
Instruction Manual
ARCPAR 150 Oudtoor Flood and Spot Lighting
QR code for Installations Instructions
https://www.anolislighting.com/resource/arcpar-150-outdoor-installation-instructions
Fixture must be installed by a qualified electrican in accordance with all national and local electrical and construction codes and regulations. This device falls under class one and must be grounded! ![]()
STEP 1A
LUMINAIRE INSTALLATION USING YOKE
Drill holes to the mounting surface according to brackets spacing.
Use fasteners that are appropriate for use with your mounting surface. ![]()
Secure holder by screws and tight them properly.
For securing the Luminaire fixture to the surface, install a safety wire which can hold at least 10 times the weight of the Luminaire.
STEP 1B
LUMINAIRE INSTALLATION USING CLAMP
Fasten the luminaire with one M10x30 screw, washer and nut intoto the clamp.
For securing the Luminaire fixture to the construction, install a safety wire which can hold at least 10 times the weight of the Luminaire.
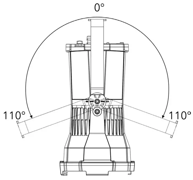
STEP 2
LUMINAIRE INSTALLATION USING CLAMP
Loosen slightly the locking screw on each side.
Set up the angle of the fixture to desired position and tighten the locking screws on each side.
STEP 3A
ACCESSORIES INSTALLATION (TOP HAT, HALF TOP HAT)
Unscrew the countersun screw.
Pull the retaining clip right and up according to arrows on sketch upward.
Slip the hat into the first groove (closer to the luminaire).
Put the retaining clip into the prime position and secure it with the M3x8 countersun screw.
STEP 3B
ACCESSORIES INSTALLATION (BARNDOOR)

Pull the retaining clip right and up according to arrows on sketch upward.
Slip the barndoor into the second groove (further from the luminaire).
Move the fuse back to the original position.
ROBE lighting s. r. o.
Palackeho 416
757 01 Valasske Mezirici
Czech Republic
Tel.: +420 571 751 500
E-mail: [email protected]
www.anolislighting.com
VERSION 2.0 / 2_2023



















