GOLDEN LIGHTING 3124-1W Clemence Dark Rust One-Light Wall Sconce

INTRODUCTION
Thank You for Choosing Golden Lighting for Your Lighting Needs!
- Pendants & Linear Pendants Above a Kitchen Island

Center a linear pendant over the island. If hanging pendants, use one pendant for every 24″ of island. Fixtures should hang at least 30″ above the countertop. - Pendants & Chandeliers Above a Dining Room Table

Fixtures should stay at least 30″ above the table. Use a fixture that is 12″ narrower than the width of the table. - Pendants and Chandeliers in Open Areas

The bottom should hang at least 7.5 feet from the floor. Allow clearance for any opening doors.
We appreciate your business and hope you love your new light
Great lighting can add value and enhance the look of your home. To ensure the best lighting in your space, remember to layer your lighting. This ensures that your space will have both task and ambient lighting. Coordinating fixtures like sconces, flush mounts, and pendants can help you meet your layered lighting needs and reinforce your desired aesthetic. Install the lights with dimmers that allow you to control the level of light output at any given moment. Get function and style! Browse our site for coordinating lights and expert lighting advice. To help create the perfect look, visit www.GoldenLighting.com.
Assembly Instructions


How to Identify the Fixture’s Wires
- Hot: Smooth, Black, or Transparent with Black Inner Thread
- Neutral: Ribbed, White or Transparent with White Inner Thread
- Ground: Copper, Bare Metal, Green, or Transparent Inner Thread
IMPORTANT:
- All installation work should be done by an accredited professional.
- Shut off power supply at fuse or circuit breaker!
- Use only the specified bulbs. Do not exceed the maximum wattage!
PREPARING FOR INSTALLATION
Carefully remove the new fixture from the carton as well as the yellow bag that holds all of the parts. See the important notes above. Shut off power at the circuit breaker and remove old fixture from wall, including the old mounting strap. THIS FIXTURE CAN BE INSTALLED ON THE WALL OR CEILING. PLEASE REVIEW THESE INSTRUCTIONS FULYLY BEFORE PROCEEDING.
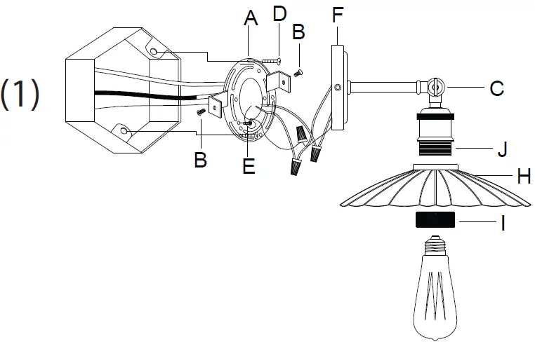
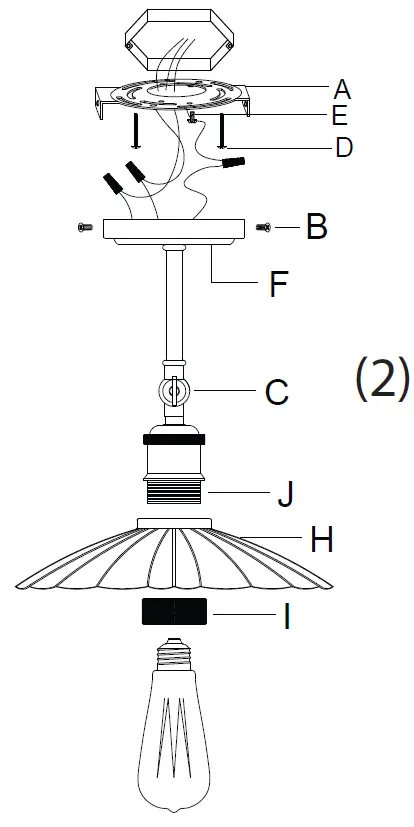
- Mounting strap (A) may be attached to backplate (F). If the mounting strap is attached, remove small screws (B) to detach. Mounting strap (A) contains several pairs of threaded holes. Find the pair of holes that matches the spacing of the holes on the junction box and your fixture’s backplate. Test backplate (F) on mounting strap (A) to ensure that the backplate will hang straight. Place the fixture aside for future use. 2. Pull the house wires through the center of mounting strap (A). Place mounting strap (A) over the junction box so that mounting screws (D) may be inserted. Secure mounting strap (A) to the junction box with mounting screws (D) and a screwdriver. Tighten the screws (D) securely.
- ASSEMBLING THE FIXTURE
No Assembly Required – This item arrives assembled and ready for installation. Please proceed to the next step. - CONNECTING THE WIRES
Have an assistant support the fixture’s weight while completing the wiring. Refer to the wiring diagram and attach the fixture’s wires to the power supply wires from the junction box. Attach the fixture’s wires to the power supply wires from the junction box. Connect Hot to Hot (transparent wire with black inner thread, black, or smooth wire) Neutral to Neutral (transparent wire with white inner thread, white, or ribbed wire), and Ground to Ground (transparent wire with green inner thread, green wire, or copper). Twist the ends of the wire pairs together, and then twist on a wire connector. Make sure all twists are in the same direction. If there is no house ground wire coming from the junction box, locate ground screw (E) on the mounting bracket/mounting strap and wrap the fixture’s ground wire around the ground screw. Use a screwdriver to tighten the top of ground screw (E) onto the wires and into the mounting bracket/mounting strap. Tuck the wires into the junction box.
FINISHING THE INSTALLATION
IF INSTALLING FIXTURE ON THE WALL REFER TO THE DIAGRAM LABELED“(1)”. 4. Place the fixture’s backplate (F) over mounting strap (A) so that the holes in the side of mounting strap (A) line up with the holes in backplate (F). Use a screwdriver to thread screws (B) into backplate (F) until backplate (F) is snug against the wall. 5. Slide shade (H) over the socket (J) and secure in place with socket ring (I). Adjust arm by loosening thumbscrew (C) and positioning the arm to the desired placement. Retighten thumbscrew (C) to secure arm in place. Install a light bulb (not included) in accordance with the fixture’s specifications. Do not exceed the maximum recommended wattage. Your installation is complete. Turn on the power and test the fixture.
IF INSTALLING FIXTURE ON THE CEILING REFER TO THE DIAGRAM LABELED “(2)”. 4. Place the fixture’s canopy (F) over mounting strap (A) so that the holes in the side of mounting strap (A) line up with the holes in canopy (F). Use a screwdriver to thread screws (B) into the holes found on the side of the canopy (F) until canopy (F) is snug against the ceiling. 5. Slide shade (H) over the socket (J) and secure in place with socket ring (I). Adjust arm by loosening thumbscrew (C) and positioning the arm to the desired placement. Retighten thumbscrew (C) to secure arm in place. Install a light bulb (not included) in accordance with the fixture’s specifications. Do not exceed the maximum recommended wattage. Your installation is complete. Turn on the power and test the fixture.
Get help, quick tips, and explore curated content
















