AA-2254591-4-1 TILLREDA
Portable Induction Hob
Instructions
Content
| Safety information | 3 |
| Safety instruction | 6 |
| Product description | 8 |
| Indicators | 9 |
| Daily use | 9 |
| Cookware guidance | 11 |
| Care and cleaning | 12 |
| Troubleshooting | 13 |
| Technical data | 14 |
| Environmental concerns | 14 |
| IKEA Warranty | 15 |
Safety information
For your safety and correct operation of the appliance, read this manual carefully before installation and use. Always keep these instructions with the appliance even if you move or sell it. Users must fully know the operation and safety features of the appliance.
Correct use
- Do not leave the appliance unattended during operation.
- The appliance is designed exclusively for domestic use.
- The appliance is designed exclusively for indoor use.
- The appliance must not be used as a work surface or as a storage surface. Do not place or store flammable liquids, highly inflammable materials or fusible objects (e.g. plastic flm, plastic, aluminium) in or near the appliance.
- Watch out when connecting electric appliances to sockets nearby. Do not allow connecting leads to come into contact with or to catch underneath the appliance or hot cookware.
- Do not do repairs yourself to prevent injury and damage to the appliance. Always contact your nearest IKEA store.
Child and vulnerable people safety
- This appliance can be used by children aged from 8 years and above and persons with reduced physical, sensory or mental capabilities or lack of experience and knowledge if they have been given supervision or instruction concerning use of the appliance in a safe way and understand the hazards involved.
- Keep all packaging away from children. There is a risk of suffocation.
- Keep children away from the appliance while in operation as when not in use.
- Children less than 8 years of age shall be kept away unless continuously supervised.
- Children shall not play with the appliance. Cleaning and user maintenance shall not be made by children without supervision.
Warning! Activate child lock to avoid small children and pets unintentionally switching the appliance on.
General safety
- This appliances is intended to be used in household and similar applications such as:
-Staff kitchen areas in shops, offices and others working environments;
-farm houses;
-by clients in hotels, motels and other residential type environments;
-bed and breakfast type environments. - Keep ventilations openings, in the appliance enclosure or in the built-in structure, clear of obstruction.
- Do not touch the panel when the residual heat indicator is still lit in order to prevent injury.
- Do not insert any object into the induction hob during operation to prevent electric shock.
- Do not wrap the cord around the neck to prevent strangulation hazard.
- Astea cleaner is not to be used for cleaning the appliance.
- Metallic objects such as knives, forks, spoons and lids should not be placed on the hob surface since they can get hot.
- After use, switch off the hob element by its control and do not rely on the pan detector.
- This appliance is not intended to be operated by means of an external timer or separate remote-control system.
- Care should be taken to avoid touching heating elements.
- If the supply cord is damaged, it must be replaced by the manufacturer, the Authorised Service Centre or similarly qualified persons in order to avoid a hazard. Please contact nearest IKEA store.
WARNING: If the surface is cracked, switch off the appliance to avoid the possibility of electric shock. Please contact nearest IKEA store.
WARNING: The appliance and its accessible parts become hot during use.
WARNING: Unattended cooking on a hob with fat or oil can be dangerous and may result in fire. NEVER try to extinguish a fire with water, but switch off the appliance and then cover flame e.g. with a lid or a fire blanket.
Safety instruction
Installation
- Manufacturer is not responsible for any injury to persons and pets or damage to property caused by failure to comply following requirements.
Caution! To proceed with the installation refer to the Safety Information.
Warning! Installation process must follow the laws, ordinances, directives and standards (electrical safety rules and regulations, proper recycling in accordance with the regulations, etc.) in force in the country of use! - Avoid installing the appliance next to doors and under windows as hot cookware may be knocked off the hob when doors and windows are opened.
- Make sure that the appliance is not damaged because of transport. Do not connect a damaged appliance.
- Do not install the appliance if it is damaged during the transportation.
- Do not connect the hob with extension cords and do not place the hob with cord across working areas.
- Do not change the specifications or modify this product. Risk of injury and damage to the appliance.
Warning! Carefully obey the instructions for electrical connections.
Electrical connections
- Before connecting, check that the nominal voltage of the appliance stated on the rating plate, corresponds to the available supply voltage. Also, check the power rating of the appliance and ensure that the home’s electrical installation is suitably sized to suit the appliance power rating (refer to the Technical data chapter).
- The rating plate is located on the lower casing of the hob.
Warning! Risk of injury from electrical current. - Loose and inappropriate plug and socket connections can make the terminal overheat.
Before Use:
Please pay attention to the following instructions before use.
- Please use the standard main power supply socket, and regularly check the socket to prevent any damage.
- Do not open the appliance by yourself or any unqualified person. Only repair the appliance by its service agent or similarly qualified technician.
- Please check with the power cord and plug.
If the power cord or plug is damaged, please do not use the appliance. Do not pull out the plug with wet hand. - Do not use the extension power cord, and please use the main power supply socket only.
- If the appliance is not in use for along period of time, please turn on the appliance to stabilize the electronic component for 10 minutes first. Then, you can start to operate the appliance.
- Do not use the appliance near water, fire or damp area. The appliance is intended to use in indoor household ONLY.
- Remove all packaging, stickers and film remove the appliance before the first use.
- Switch the cooking zones off after each use by its controls and do not rely on pan detector.
- Risk of burns! Do not place objects made of metal, such as knives, forks, spoons and saucepan lids on the cooking surface, as they can get hot.
Warning! Fire hazard! Overheated fats and oils can ignite very quickly.
Warning! Users with implanted pacemakers should keep their upper body at least 30 cm from induction cooking zones that are switched on.
Warning! Do not operate the appliance with wet hands and keep control panel surface dry. Lot of water on control panel keys will make them no longer operable.
Warning! If the surface is cracked, switch off the appliance to avoid possibility of an electric shock.
During & After use:
Please pay attention to the following instruction to prevent ignition and accidents.
- Please place the appliance on flat and solid surface ONLY.
- Children should be supervised to ensure that they do not play with the appliance.
- Do not place any following objects on the panel when the appliance is operating.
a) Stainless steel
b) Tron
c) Cast-iron
d) Aluminum
e) Lid and enamel
f) Knife, folk or spoon
g) Plate made of iron, stainless steel, cast iron or aluminum
h) Empty cookware
- Do not carry or move the appliance with cookware on top during heating.
- Please maintain a good surrounding environment for ventilation during heating.
- Do not insert any wire or metal objects into the air inlet or air outlet of the appliance.
- How to take care of the panel
a) Do not drop any heavy objects to the panel.
b) Do not pour water, acid or any liquid to the panel.
c) Do not burn anything with fire on the panel.
d) Do not place any hot cookware on top when the appliance is not in use.
e) If the surface (panel) is cracked, turn off the appliance immediately to avoid electric shock, and return to nearest IKEA store.
f) Some of the cookware may generate a noise during use. Please slightly move the cookware, and the noise may disappear or reduce. If not, please change the cookware.
- Do not place the appliance on carpet, cloth or paper material when the appliance is operating.
- Do not touch the panel while it is hot. The panel is still hot until the residual heat indicator is removed, even if the power is off.
- Do not unplug the appliance by pulling the cable.
- Please turn off the appliance and let cool down before unplug. Please unplug the power cord when the appliance is not going to use for long period of time.
- Keep the cookware away from the appliance after use.
How to avoid damage to the appliance
- The glass ceramic can be damaged by objects falling onto it, or knocked by the cookware.
- Cookware made of cast iron, cast aluminum or with damaged bottoms can scratch the glass ceramic if slide on the surface.
- Glass ceramic can be damaged if also dropped on the floor.
- To avoid damaging cookware and glass ceramics, do not allow saucepans or frying pans to boil dry.
- Do not use the cooking zones with empty cookware or without cookware.
- Never line any part of the appliance with aluminium foil. Never place plastic or any other material which may melt in or on the appliance.
Warning! Keep product connected to power socket after use until the fan and the heat indicator has shut off.
Information on acrylamides
Important! According to the latest scientific knowledge, intensive browning of food, especially in products containing starch, can constitute a health risk due to acrylamides.
Therefore, we recommend cooking at the lowest possible temperatures and not browning foods too much.
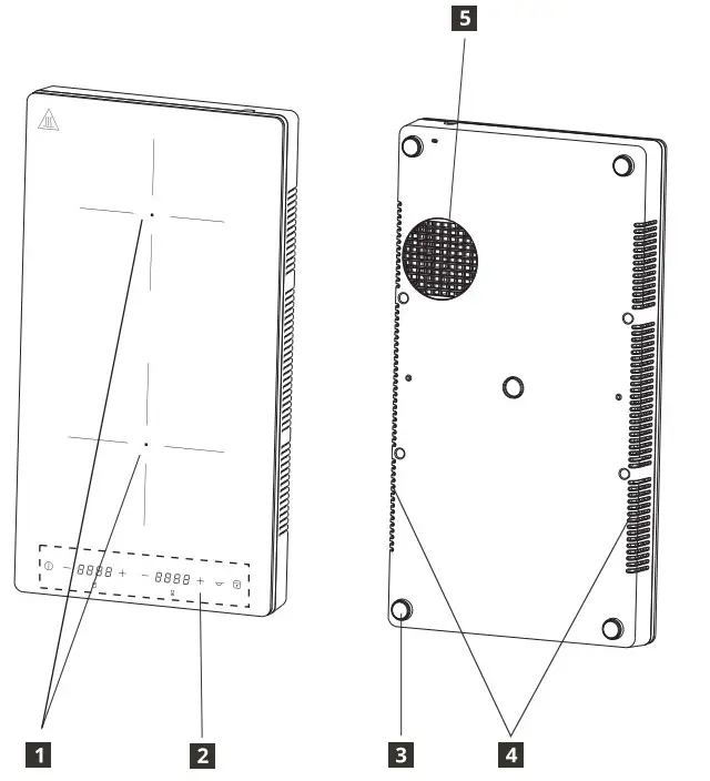
Product description

- Heating area
Front cooking zone 170mm 2000W
Rear cooking zone 158mm 1200W - Control panel
- Silicone feet
- Air outlet
- Air inlet

Control panel layout
- On/Off
- Power display
- Fry function
- Lock/Child lock
- Power level setting -/+
Touch Control sensor fields and displays
You operate the hob by touching sensor fields.
Displays and acoustic signals (short beep) confirm the selection of a function.
| Power Level | 1 | 2 | 3 | 4 | 5 | 6 | 7 | 8 | 9 |
| Power of front zone | 150W | 300W | 600W | 900W | 1100W | 1300W | 1500W | 1700W | 2000W |
| Power of rear zone | 100W | 300W | 500W | 700W | 800W | 900W | 1000W | 1100W | 1200W |
Indicators
Pot incorrectly positioned or missing
This symbol appears if the pot is not suitable for induction cooking, is not positioned correctly or is not of an appropriate size for the cooking zone selected. If no pot is detected within 30 seconds of making the selection, the cooking zone switches off.
Residual heat
If display shows “H””, the cooking zone is still hot. When the cooking zone cools down, the display goes off.
Warning! Risk of burns from residual heat!
After you switch the appliance off, the cooking zones need some time to cool down. Look at the residual heat indicator
.
Use residual heat for melting and keeping food warm.
Don’t disconnect the
product without waiting for the “YU to be removed from display.
Daily use
Connecting to socket
- After insert the plug into main supply, threshold lock will be activated. Press and hold the Child Lock key for 3 seconds to deactivate.
ON/OFF
- Press the ON/OFF key, the screen will display “00” as in standby mode and the power indicator light will light up. If there is no heat setting selected within 30 seconds, the hob will switch off automatically without pressing the ON/ OFF key.
- Press ON/OFF key during operation, the hob will switch off.
![]()
Power level setting
Front cooking zone
- Press — or + to control the power level during operation.
- Press —, the power level will go straight to “2000”. Press to decrease the power level from “2000” to “150”.
- Press +, the power level will increase from “150”. Press to increase the power level from “150” to “2000”.
Rear cooking zone
- Press — or + to control the power level during operation.
- Press —, the power level will go straight to “1200”. Press to decrease the power level from “1200” to “100”.
- Press +, the power level will increase from “100”. Press to increase the power level from “100” to “1200”.
![]()
Fry function
The hob can reach the maximum power output immediately by pressing the fry function key.
- When the hob is in normal heating mode, press the Fry function key, the indicator will light and display “HI”. This means the hob is in fry function and will heat in maximum power level. In the fry function mode, you can not adjust the power level by pressing – or +.
- When the hob is in fry function mode, press the Fry function key, the indicator will go off and display the previous power level described in W. This means the hob is back to the normal heating mode setting by you.
Note: The fry function mode only can be activated on the front cooking zone.
![]()
Lock function
When the cooking zone operate, you can lock the control panel, for example in order to clean the hob. It prevents an accidental change of the power level setting. The hob can still be shut off by the ON/OFF key.
Activate lock
- Set wanted power level.
- Press the Lock key for 3 seconds. The function is activated when Lock key indicator is lit up and a sound is given.
Deactivate lock
- Press the Lock key for 3 seconds. The function is deactivated when the Lock key indicator goes off and a sound is given.
- The power level will return to the previous setting.
Child lock function
You can also keep control panel locked when the hob is not operating. This function prevents an accidental operation of the appliance.
Activate the child lock
- Activate the appliance with the ON/OFF key.
Do not set any power level. - Press the Lock key for 3 seconds. The function is activated when Lock key indicator is lit up and a sound is given.
- Deactivate the appliance with the ON/OFF key.
Deactivate the child lock
- Press the Lock key for 3 seconds. The function is deactivated when the Lock key indicator goes off and a sound is given.
Automatic switch off
The function switches the hob off automatically if:
- All cooking zones are switched off.
- YOU do not set the power level after switching on the hob within 30 seconds.
- YOU do not switch a cooking zone off or you do not modify the power level after 2 hours, or if the overheating occurs (e.g. when a pan boils dry).
Cookware guidance
What pots to use
Only use pots and pans with bottom made from ferromagnetic material which are suitable for use with inductions hobs:
- cast iron
- enameled steel
- carbon steel
- stainless steel (although not all)
- aluminium with ferromagnetic coating or ferromagnetic plate
To determine if a pot or pan is suitable, check for the symbol (usually stamped on the bottom). You can also hold a magnet to the bottom. If it clings to the underside, the cookware will work on an induction hob.
To ensure optimum efficiency, always use pots and pans with a flat bottom that distributes the heat evenly. If the bottom is uneven, this will affect power and heat conduction.
How to use
Minimum diameter of pot/pan base for the different cooking areas
To ensure that the hob functions properly, the pot must cover one or more of the reference points indicated on the surface of the hob, and must be of a suitable minimum diameter.
Always use the cooking zone that best corresponds to the diameter of the bottom of the pan.
| Cooking zone | Recommended cookware diameter [mm] |
| Front cooking zone | 120-200 |
| Rear cooking zone | 120-200 |
Empty or thin-based pots/pans
Do not use empty or thin-based pots/pans on the hob as it will not be able to monitor the temperature or turn off automatically if the temperature is too high, damaging the pan or the hob surface. If this occurs, do not touch anything and wait for all components to cool down.
If an error message appears, refer to “Troubleshooting”.
Hint/tips
Noise during cooking
When a cooking zone is active, it may hum briefly. This is a characteristic of all ceramic glass cooking zones and does not impair the function or life of the appliance. The noise depends on the cookware used. If it causes considerable disturbance, it may help to change the cookware.
Care and cleaning
Warning! Switch the appliance off and let it cool down before disconnecting it.
Warning! Switch the appliance off and let it cool down before you clean it.
Warning! For safety reasons, do not clean the appliance with steam blasters or high-pressure cleaners.
Warning! Sharp objects and abrasive cleaning agents will damage the appliance.
Clean the appliance and remove the residues with water and washing up liquid after each use. Remove also the remnants of the cleaning agents!
Scratches or dark stains on the glass ceramic that cannot be removed do not affect the functioning of the appliance.
Removing the residues and stubborn residues:
- Food containing sugar, plastics, tin foil residues should be removed at once, best tool for cleaning glass surface is a scraper (not included with the appliance). Place a scraper on the glass ceramic surface at an angle and remove residues by sliding the blade over the surface. Wipe the appliance with a damp cloth and a little washing up liquid. Finally, rub the appliance dry using a clean cloth.
- Limescale rings, water rings, fat splashes, shiny metallic discolorations should be removed after the appliance has cooled down using cleaner for glass ceramic or stainless steel.
Troubleshooting
| Problem | Possible Cause | Solution |
| The appliance does not operate. | Power shortage or power short circuit in the power source of your home. | |
| Power connection to socket not performed properly. | Overlook the power supply to hob for correct connection. | |
| More than 10 seconds have passed since the appliance was switched on. | Switch the appliance on again. | |
| Child lock is switched on. | Deactivate Child lock. (See the section “Child safety device”). | |
| Several sensor fields were touched at the same time. | Only touch one sensor field. | |
| Appliance stops operating. Error indication: | The cookware is not suitable for induction. | Change to a cookware suitable for induction. |
| No cookware on cooking zone or cookware diameter is less than 120mm. zone. | Place cookware on the cooking | |
| Appliance stops operating. Error indication: | The cookware is empty (dry-boiling) or cooking temperature is too high. | Turn off the appliance and restart after 5 minutes. If E2 persists, please contact nearest IKEA store. |
| The air inlet and outlet is being blocked. | ||
| Surrounding temperature is too high. | ||
| Appliance stops operating. Error indication: | The main power supply is over AC 275V. | Change to product suitable power supply. |
| Appliance stops operating. Error indication: | The main power supply is lower than AC 100V. | Change to product suitable power supply. |
| Appliance stops operating. Error indication: | The temperature sensor of the appliance is not working. | Please contact nearest IKEA store. |
| Appliance stops operating. Error indication: | The cookware is empty (dry-boiling) or cooking temperature is too high. | Let appliance cool down and prevent dry-boiling. |
| Appliance stops operating. Error indication: | Internal exception | Turn off the appliance and restart after 5 minutes. If E0 persists, please contact nearest IKEA store. |
Error code shows when the hob is powered on and error is detected, E and numbers are displayed intermittently (1 second).
If there is a fault, try to resolve it by following the troubleshooting guidelines. If the problem cannot be resolved, contact your nearest IKEA store.
If you operated the appliance wrongly, dealer may not take place free of charge, even during the warranty period.
Technical data
| Rated Power | 2800W |
| Rated Voltage | 220-240V~ |
| Rated Frequency | 50-60Hz |
| Depth | 520mm |
| Width | 280mm |
| Height | 62mm |
| Net Weight | 4.5kg |
Environmental concerns
Disposal of household appliances
The symbol on the product or on its packaging indicates that this product may not be treated as household waste. Instead it should be taken to the appropriate collection point for the recycling of electrical and electronic equipment. By ensuring this product is disposed of correctly, you will help prevent potential negative consequences for the environment and human health, which could otherwise be caused by inappropriate waste handling of this product. For more detailed information about recycling of this product, please contact your local council, your household waste disposal service or the shop where you purchased the product.
Warning! Do these steps to dispose the appliance:
- Pull the mains plug out of the mains socket.
- Cut off the mains cable and discard it.
Disposal of packaging materials
The materials with the symbol are recyclable. Dispose the packaging in a suitable collection container to recycle it.
Energy saving
- If possible, always place lids on the pans.
- Place cookware on the cooking zone before you switch it on.
- The bottom of the cookware should be as thick and flat as possible
IKEA Warranty
How long is the IKEA Warranty valid?
This warranty is valid for two (2) years from the original date of purchase of your appliance at IKEA. The original sales receipt, is required as proof of purchase. If service work is carried out under warranty, this will not extend the warranty period for the appliance.
Who will execute the service?
Contact nearest IKEA store.
What does this warranty cover?
The warranty covers faults of the appliance, which have been caused by faulty construction or material faults from the date of purchase from IKEA. This warranty applies to domestic use only. The exceptions are specified under the headline ”What is not covered under this warranty?” Within the warranty period, the costs to remedy the fault e.g. repairs, parts, labour and travel will be covered, provided that the appliance is accessible for repair without special expenditure. Replaced parts become the property of IKEA.
What will IKEA do to correct the problem?
IKEA will examine the product and decide, at its sole discretion, if it is covered under this warranty. If considered covered, IKEA will then, at its sole discretion, either repair the defective product or replace it with the same or a comparable product.
What is not covered under this warranty?
- Normal wear and tear.
- Deliberate or negligent damage, damage caused by failure to observe operating instructions, incorrect installation or by connection to the wrong voltage, damage caused by chemical or electrochemical reaction, rust, corrosion or Water damage including but not limited to damage caused by excessive lime in the water supply, damage caused by abnormal environmental conditions.
- Consumable parts including batteries and lamps.
- Non-functional and decorative parts which do not affect normal use of the appliance, including any scratches and possible colour differences.
- Accidental damage caused by foreign objects or substances and cleaning or unblocking of filters, drainage systems or soap drawers. • Damage to the following parts: ceramic glass, accessories, crockery and cutlery baskets, feed and drainage pipes, seals, lamps and lamp covers, screens, knobs, casings and parts of casings. Unless such damages can be proved to have been caused by production faults.
- Repairs not carried out by our appointed service providers and/or an authorized service contractual partner or where nonoriginal parts have been used.
- Repairs caused by installation which is faulty or not according to specification.
- The use of the appliance in a non- domestic environment i.e. professional use.
- Transportation damages. If a customer transports the product to his home or another address, IKEA is not liable for any damage that may occur during transport. However, if IKEA delivers the product to the customer’s delivery address, then damage to the product that occurs during this delivery will be covered by IKEA.
- Cost for carrying out the initial installation of the IKEA appliance. However, if an IKEA appointed Service Provider or its authorized service partner repairs or replaces the appliance under the terms of this warranty, the appointed Service Provider or its authorized service partner will reinstall the repaired appliance or install the replacement, if necessary.
How country law applies
The IKEA warranty gives you specific legal rights, which cover or exceed all the local legal demands. However these conditions do not limit in any way consumer rights described in the local legislation.
Area of validity
This warranty is valid only in the country where the product has been purchased; the services will be provided in the framework of the warranty conditions.
An obligation to carry out services in the framework of the warranty exists only if the appliance complies and is installed in accordance with:
- the technical specifications of the country in which the warranty claim is made;
- the Assembly Instructions and User Manual Safety Information.
AFTER SALES for IKEA appliances
Please don’t hesitate to contact IKEA to:
- make a service request under this warranty;
- ask for clarification on functions of IKEA appliances.
To ensure that we provide you with the best assistance, please read carefully the Assembly Instructions and/or the User Manual before contacting us.
How to reach us if you need our service
![]()
The IKEA after sales customer service centre will assist you on the phone with basic trouble shooting for your appliance at the time of service call request. Please see the IKEA catalogue or visit www.ikea.com to find your local store phone number and opening time.
In order to provide you a quicker service, please also always refer to the IKEA article number (8 digit code) placed on the rating plate of your appliance.
SAVE THE SALES RECEIPT!
It is your proof of purchase and required for the warranty to apply. The sales receipt also reports the IKEA name and article number (8 digit code) for each of the appliances you have purchased.
Do you need extra help?
For any additional questions not related to After Sales of your appliances please contact your nearest IKEA store call centre. We recommend you read the appliance documentation carefully before contacting us.



















