ECOUS1100W Pure Sine Wave Inverter
Instruction Manual
ECOUS1100W Pure Sine Wave Inverter
IMPORTANT: Please read this manual carefully before running this power inverter and save it for reference.
Save these instructions
This manual contains important safety and operating instructions. Read all TE0′ instructions and follow them with use of this product.
SAFETY INFORMATION
WELCOME
Please read this manual thoroughly before installing and operating your new Eco-worthy inverter. This manual contains information you need to obtain the performance required for your application. Keep this manual for future reference.
This Eco-worthy inverter converts low voltage direct current (DC) to 115 V pure sine wave (PSW) alternating current (AC). The inverter draws power from 12 V deep-cycle batteries such as those used for marine, golf cart, and fork-lift applications, or from other high-current 12 V sources.
This model has been performance tested by ETL and complies with UL and with the Canadian Standards Association safety standards.
A HIGHER WATTAGE INVERTER MAY
BE REQUIRED
To determine whether the power inverter’s wattage capacity is within your power requirements, turn on the highest wattage appliance first and then all other devices in order of highest wattage to lowest. This inverter is designed to automatically shut down in the event of power overload. While running this test, if inverter shuts down due to power
overload, you may require a larger capacity inverter or run the devices separately to stay within the inverter’s capacity.
WARNINGS, CAUTIONS AND NOTES
It is very important that any operator and installer of this inverter read and follow all WARNINGS, CAUTIONS AND NOTES and all installation and operation instructions. In particular, comply with WARNINGS (possibility of serious injury or death), CAUTIONS (possibility of damage to the inverter and/or other equipment), and NOTES (included to assist you in achieving the maximum performance and longest working life from this advanced design inverter).
WARNINGS: INVERTER OUTPUT
This is a heavy-duty device that produces voltages similar to commercial AC power.
- Danger of shock or electrocution—treat inverter output the same as commercial AC power.
- Do not use the inverter near flammable materials or in any locations that may accumulate flammable fumes or gases.
- This is an electrical device that can briefly spark when electrical connections are made or broken.
- Do not allow water or other liquids to contact the inverter.
- Do not use appliances with damaged or wet cords.
CAUTIONS: INVERTER OPERATING ENVIRONMENT
- Surrounding air temperature should be between -20°C and 40°C (4°F and 104°F) — ideally between 15°C and 25°C (60°F and 80°F).
- Keep the inverter away from direct sunlight if at all possible.
- Keep the area surrounding the inverter clear to ensure free air circulation around the unit.
- Do not place items on or over the inverter during operation. The unit will shut down if the internal temperature gets too hot. Restart the inverter after it cools.
- This Krieger inverter will only operate from a 12 V power source. Do not attempt to connect the inverter to any other power source, including any AC power source.
- Do not reverse DC input polarity — this will void the warranty.
CAUTIONS
- Loose connections can result in a severe decrease in voltage that can cause damage to cables and insulation.
- Failure to make correct polarity (pos, neg) connection between the inverter and the battery bank can result in blowing fuses in the inverter and can permanently damage the inverter. Damage caused by reversed polarity is not covered under the Krieger warranty.
- Making the connection to the positive terminal may cause a spark as a result of current flowing to charge capacitors within the inverter. This is a normal occurrence.
- Because of the possibility of sparking, however, it is extremely important that both the inverter and the 12 V battery be positioned far from any possible source of flammable fumes or gases. Failure to heed this warning could result in fire or explosion.
- Operating the inverter without correctly grounding the unit may result in electric shock.
POWER REQUIREMENTS
When a motorized appliance or a tool turns on, there is an initial surge of power to start. This surge of power is referred to as the “starting load” or “peak load.” Once started, the tool or appliance requires less power to operate. This is referred to as the “continuous load” in terms of power requirements. You will need to determine how much power your tool or appliance requires to start up (starting load) and its continued running power requirements (continuous load).
Power consumption is rated in watts, or it can be calculated from amperes (amps). This information is usually stamped or printed on most appliances and equipment. If this information is not indicated on the appliance or equipment, check the owner’s manual.
Multiply: AC AMPS X 110 (AC voltage) = WATTS
This formula yields a close approximation of the continuous load of your appliance.
Multiply: WATTS X 2 = starting load for most appliances
This formula yields a close approximation of the starting load of most appliances. Exceptions are motorized appliances such as pumps, freezers and air conditioners. These appliances can have startup loads of up to eight times the rated watts.
WARNING! DANGER OF BATTERY EXPLOSION — INSTALL A FUSE
Battery banks can deliver very high levels of current that can vaporize metal, start fires and cause explosions. Krieger ® recommends installing one ANL type fuse and fuse holder close to the positive battery bank terminal. This fuse protects the batteries from accidental DC cable shorts, which can cause batteries to explode. anl fuses holders are available at most marine supply stores.
GETTING STARTED
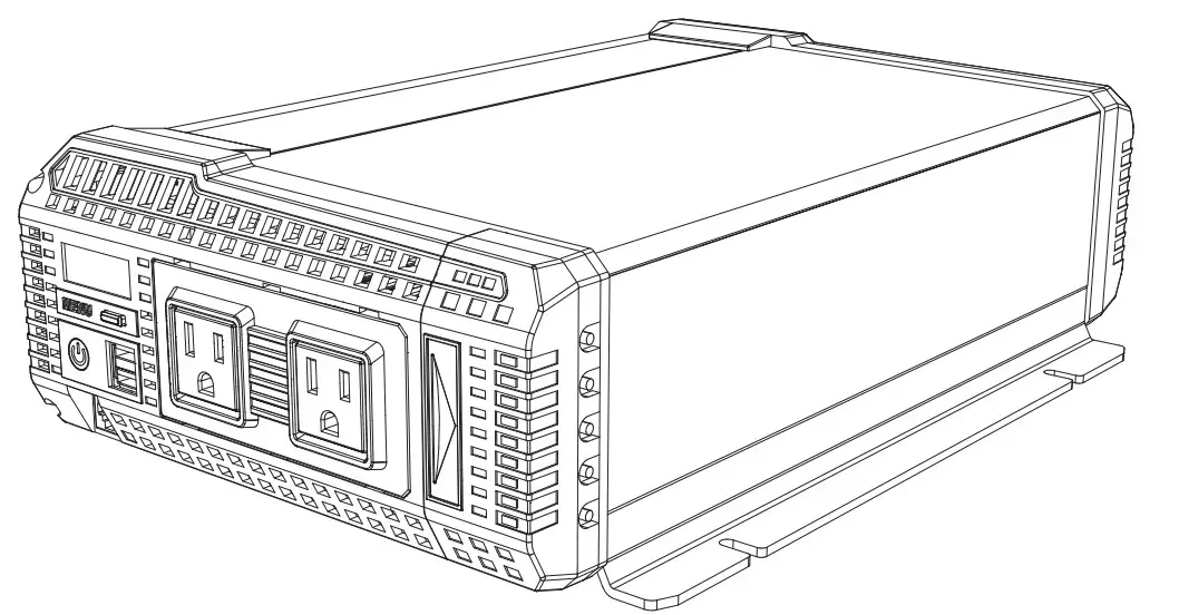
FRONT PANEL
A. LCD Digital Display (see LCD diagram on next page).
B. MENU Button: Pressing the button will change the display between OUTPUT WATTAGE, INPUT/OUTPUT VOLTAGE or INTERNAL TEMPERATURE
C. ON/OFF Power button Wired remote control receptacle
E. Two USB Ports QC3.0 (5V/3A, 9V/2A, 18W max)
F. Two standard North American AC outlets, each rated at 15 A
G. Hardwire terminals
LCD DISPLAY
- Battery Level (25%, 50%, 75%, 100%).
- Output Wattage (W), Input Voltage (VDC) or Output Voltage (V) Display.
- Temperature Shutdown.
- Warning Indicator:
a. High voltage b. Low voltage c. Overload - Error.

Remote Instructions
The included remote control features an LED indicator showing on/off light, push button and 20′ (6 m) cable that simply plugs into the inverter.
Features
A: LCD display
B: Power button
C: Power ON/OFF Indicator
D: Menu button
Indicator
Solid Green: Inverter “on”
Solid Red: Inverter fault
No Colour: Inverter “off”
REAR PANEL
E. Positive Power Input Terminal.
F. Negative Power input Terminal.
G. Thermal Activated High-Speed Cooling ; Fans. When temperature inside inverter exceeds a preset limit, the cooling fans automatically turn on to cool the inverter.
When the temperature reduces, the fans turn off.
H. Ground Terminal.
CABLE GAUGES
When connecting the inverter to a battery bank use the thickest stranded insulated copper wire available, in the shortest length practicable. Recommended cable gauges are as follows:
| Model | Description | Recommended Gauges |
| KP1100 | 1100 W POWER INVERTER | 4 AWG (3’/0.9 in included W/ 100 A inline ANL fuse) |
| KP2000 | 2000 W POWER INVERTER | 2 AWG (3’/0.9 in included W/ 200 A inline ANL fuse) |
HARDWIRE INSTRUCTIONS
This inverter comes equiped with an optional AC output hardwire connection to allow for direction connection to an off-grid electrical panel. All AC wiring ( inverter to AC panels, AC panels to circuit breakers, and GFCls) must be rated to at the current rating of the fuses and/or circuit breakers. Multistrand wire is required. Typically, 15A circuit breaker requires a 12 AWG wire.
Always make sure unit is completely disconnected from any power source while insalling or adjusting any AC output connections.
Begin by unscrewing the front plate which is located under the 2 x AC outlets at the front of the inverter. You will then see the 3 connecting terminals, as illustrated below:
SELECT BATTERY TYPE
Select 12V “Deep Cycle” batteries to receive optimum performance from your power inverter. If connected to a vehicle, boat or RV, we recommend to keep engine running while inverter is in use. If the batteries you connect to the power inverter are not true Deep Cycle batteries, their operational lifetimes may be significantly shortened. If you are using the same battery bank to power the inverter as well as DC loads, your battery bank will need to be appropriately sized (larger loads will require a battery bank with a larger amp-hour capacity) or the operational lifetimes of the batteries may be significantly reduced.
UNDERSTANDING BATTERY AMP-HOUR CAPACITY WITH YOUR APPLICATION
Determine Total Wattage Required:
Add the wattage ratings of all equipment you will connect to your inverter. Wattage ratings are usually listed in equipment manuals or on nameplates. If your equipment is rated in amps, multiply that number times AC utility voltage to estimate watts. (Example: a drill requires 2.5 amps. 2.5 amps x 120 volts = 300 watts.)
Determine DC Battery Amps Required
Divide the total wattage required by the nominal battery voltage to determine the DC amps required. (Example: total wattage required 900 watts: 900 + 12V = 75 DC Amps.)
Estimate Battery Amp-Hours Required
Multiply the DC amps required by the number of hours you estimate you will operate your equipment exclusively from battery power before you have to recharge your batteries with utility- or generator-supplied AC power. Compensate for inefficiency by multiplying this number by 1.2. This will give you a rough estimate of how many amp-hours of battery power (from one or several batteries) you should connect to your Inverter/Charger. (Example: 75 DC Amps x 5 Hrs. Runtime x 1.2 Inefficiency Rating = 450 Amp-Hours.)
NOTE: The type of batteries you use to power your high-power inverter is important. Operating a high-power inverter will routinely discharge batteries and they will require frequent recharging. Batteries used to start engines are not designed to repeatedly charge and discharge. Eco-worthy recommends using “deep-cycle” or “marine” rated batteries.
UNDERSTANDING CONTROLS AND FEATURES
INSTALLING THE INVERTER
Your Eco-worthy inverter should not be mounted under the hood of a vehicle
If installing in a vehicle, choose a dry, cool, ventilated area as close to the battery as practical. Before drilling any mounting holes, make sure that there are no wires, fuel lines or tanks directly behind the surface to be drilled to install the inverter:
- Inverter must be off.
- The inverter should be mounted horizontally to avoid any foreign objects from falling into the inverter from ventilation openings.
- Position the inverter against the mounting surface and mark locations of the mounting screw openings.
- Remove the inverter and drill four mounting holes.
- Fasten the inverter to the mounting surface using corrosion-resistant fasteners sized #10 or larger.
CONNECTING THE INVERTER
- Inverter must be off.
- Prepare 1 set of positive and negative cables to connect to battery. Ring terminals are recommended. It is highly recommended to use red cable for the positive terminal and black cable for the negative terminal. The copper cables gauge should be:
LENGTH CABLE GAUGE 1100 W 2000 W <=6′ 4 AWG 0 AWG <=10′ 2 AWG 2/0 AWG - Remove the nuts, washers and bolts from the positive and negative DC terminals.
- With the positive cable, connect the ring connector of the positive (red) battery cable to the positive (red) DC terminal (1) of the inverter.
- With the negative cable, connect the ring connector of the negative (black) battery cable to the negative (black) DC terminal (2) of the inverter.
- Insert the nuts on both DC terminals and tighten them with washers. Do not overtighten.
- Connect the negative (black) battery cable ring terminal to the negative (black) post of the battery (5). Tighten the nut with washer firmly. Do not overtighten.
- Connect the positive (red) battery cable ring terminal to the positive (red) post of the battery (4). Tighten the nut with washer firmly. Do not overtighten.
- Prepare a 14 AWG copper wire with enough length to connect the inverter to a ground. Strip the insulation at both sides. Connect one end of the copper wire to the ground terminal (3) of the inverter, and the other end of the wire to the chasis or ground.
NOTE: If connecting the inverter in a vehicle, connect the copper wire to the chassis of the vehicle. If connecting the inverter in a boat, connect the copper wire to the boat grounding system. If connecting the inverter in a fixed location, connect the copper wire to a ground rod (a metal rod pounded into the earth) or other proper service entrance ground.
OPERATION
- Ensure the inverter is OFF.
- Ensure the appliance to be operated is turned OFF and plug it’s electrical cord into one of the AC outlet on the front of the inverter.
- Turn the inverter ON.
- Turn the appliance ON.
- Plug in and turn ON additional appliances as needed.
OPERATING A MICROWAVE OVEN WITH YOUR POWER INVERTER
The power rating used with microwave ovens is the “cooking power” which means the power being “delivered” to the food being cooked. The actual operating power rating is listed on the back of the microwave. If the operating power cannot be found on the back of the microwave, check the owner’s manual or contact the manufacturer.
MORE EFFICIENT USE OF THE BATTERY
Make sure any appliances are energy efficient and turned off after use. Use LED lighting when ever possible. Wherever possible, charge with solar panels or wind generators. Do not allow lead acid batteries to remain discharged for long periods of time; they lose capacity (amp-hours).
DISPOSAL / RECYCLING OF INVERTER
Electronic products are known to contain toxic materials if not properly disposed of. Contact local authorities for information on disposal and recycling.
This inverter is certified “lead free”. The converters in this inverter contain nickel components. Nickel is known to be neurotoxic if ingested.
REMARQUE
Sparks are normal for the first connection. Make sure you have good secure connections – do not overtighten.
TROUBLESHOOTING
| PROBLEM | POSSIBLE CAUSE | SOLUTION |
| The digital display shows “LOW VOLTAGE”. | •Low battery voltage shutdown feature turns OFF the inverter. •DC wiring is incorrect. •Battery condition is poor. | •Recharge the battery. Check if cables and connections are secure. •Use proper cable length and gauge. Refer assembly instructions •Charge or replace the battery if needed. |
| The digital display shows “HIGH VOLTAGE”. | High battery voltage shutdown feature turns OFF the inverter. | Make sure the inverter is connected to a 12 V battery. |
| AC output overload or device short circuit shutdown feature turns the inverter OFF. | Make sure the load attached to the inverter is within the operating limit. | |
| The digital display shows “OVERLOAD” | ||
| The digital display shows: | Over temperature shutdown feature turns OFF the inverter. | Make sure the inverter is placed in a well-ventilated area and ventilation openings are not obstructed. Reduce the ambient temperature if possible. Refer technical specifications. |
| No output voltage and voltage indication. | •The inverter is in OFF position. •There is no power supply to the inverter. •Reversed DC polarity. | •Turn ON the inverter. •Check the wiring to the inverter. •Reverse DC polarity will damage the inverter and voiding the warranty. Have a qualified service technician to repair. |
SPECIFICATIONS
ECOUS1100W/ECOEU1100W/ECOUK1100W – 12V
| Output Continuous Watts (W) | 1100 W + 18 W USB |
| Surge Capacity (Peak Power) | 2200 W |
| Rated Input DC (V, A) | 12 V battery, 100 A |
| Input Voltage Range | 10.5 to 16 VDC +/-0.3V |
| Rated Frequency (Hz) | 50/60 Hz + 1 |
| Rated Output AC (V, A) | 115 Vac +/- 10%, 9.5A |
| Rated Output USB (V, A) | 2* USB ports QC3.0 (5V/3A, 9V/2A, 18W max) |
| No Load Current | <1 ADC |
| Optimum Efficiency | 85% min. |
| Fuse (A) | (30 A*4) |
| Fuse Type | Internal Blade |
| Output Wave Form | Pure Sine Wave = |
| Touch Temperature | 65°C (149°F) Max. |
| Operating Temperature | -20 to 40°C (4 to 104°F) a |
| Operating/Storage Humidity RH | 5 to 95% (ae) |
| Cooling System | Thermo Fan |
| THD | <4.5% id |
| Dimensions LxWxH | 13.5×9.8x 4.1″ |
| Assembled Weight | 8.05 Ibs (3.65 kg) |
| Output Continuous Watts (W) | 2000 W + 18 W USB |
| Surge Capacity (Peak Power) | 4000 W |
| Rated Input DC (V, A) | 12 V battery, 200 A |
| Input Voltage Range | 10.5 to 16 VDC +/- 0.3V |
| Rated Frequency (Hz) | 60 Hz+1 |
| Rated Output AC (V, A) | 115 V +/- 10%, 18A |
| Rated Output USB (V, A) | 2* USB ports QC3.0 (5V/3A, 9V/2A, 18W max) |
| No Load Current | <1.2ADC |
| Optimum Efficiency | 85% min. |
| Fuse (A) | (40 A*6) |
| Fuse Type | Internal Blade |
| Output Wave Form | Pure Sine Wave |
| Touch Temperature | 65°C (149°F) Max. |
| Operating Temperature | -20 to 40°C (4 to 104°F) |
| Operating/Storage Humidity RH | 5 to 95% |
| Cooling System | Thermo Fan |
| THD | <45% |
| Dimensions LxWxH | 16.8 x 9.8 x 4.1” |
| Assembled Weight | 10.89 Ibs (4.94 kg) |
WARRANTY AND RETURNS
No responsibility is assumed by ECO-WORTHY for any infringement of patents or other rights of third parties, which may result from the use of the PV product. No license is granted by implication or otherwise under any patent or patent rights. The information in this manual is based on ECO-WORTHY’s knowledge and experience and is believed to be reliable, but such information including product specification (without limitations) and suggestions do not constitute a warranty, expresses or implied.
ECO-WORTHY reserves the right to change the manual, the PV products, the specifications, or product information sheets without prior notice. This product is covered by a1 year warranty provided by ECO-WORTHY
Ltd. We will refund or partial refund or replace any products with defects due to our imprudence.
If you are experiencing technical problems and cannot find a solution in this manual, please contact ECO-WORTHY for further assistance.
Contact number:
US 1-866-939-8222
UK +44 20 7570 0328
Email: [email protected]


















