

FreeSpace FS4SE
Surface-mount Loudspeaker
Important Safety Instructions
Please read and keep all safety and use instructions.
This product is intended for installation by professional installers only! This document is intended to provide professional installers with basic installation and safety guidelines for this product in typical fixed-installation systems. Please read this document and all safety warnings before attempting installation.
Do not attempt to service this product yourself. Refer all servicing to authorized service centers, installers, technicians, dealers or distributors. To contact Bose Professional or to find a dealer or distributor near you, visit PRO.BOSE.COM.
- Read these instructions.
- Keep these instructions.
- Heed all warnings.
- Follow all instructions.
- Do not block any ventilation openings. Install in accordance with the manufacturer’s instructions.
- Do not install near any heat sources such as radiators, heat registers, stoves, or other apparatus (including amplifiers) that produces heat.
- Only use attachments/accessories specified by the manufacturer.
WARNINGS/CAUTIONS 
This product contains magnetic material. Consult your physician on whether this might affect your implantable medical device.
Contains small parts which may be a choking hazard. Not suitable for children under age 3.
- It is the responsibility of the installer to use a support system which has sufficient wind load strength to comply with the applicable codes and standards.
- All Bose products must be installed in accordance with local, state, federal and industry regulations. It is the installer’s responsibility to ensure installation of the loudspeakers and mounting system is performed in accordance with all applicable codes, including local building codes and regulations. Consult the local authority having jurisdiction before installing this product.
- Unsafe mounting or overhead suspension of any heavy load can result in serious injury or death, and property damage. It is the installer’s responsibility to evaluate the reliability of any mounting method used for their application. Only professional installers with the knowledge of proper hardware and safe mounting techniques should attempt to install any loudspeaker overhead.
- Do not mount on surfaces that are not sturdy, or that have hazards concealed behind them, such as electrical wiring or plumbing. Ensure the bracket is installed by a qualified professional installer and in accordance with local building codes.
- Use only the hardware and accessories included or specified by Bose for use with FreeSpace FS4SE loudspeakers. Hardware for securing the loudspeaker to the mounting surface is not supplied. For information on compatible accessories, see the product’s technical data sheet at PRO.BOSE.COM.
- Keep the product away from fire and heat sources. Do not place naked flame sources, such as lighted candles, on or near the product.
- Do not make unauthorized alterations to this product.
- The FreeSpace FS4SE wall-mounting bracket is only for use with model FS4SE.
- Do not expose loudspeaker or mounting components to any chemical substances that are not specified by Bose, including but not limited to lubricants, cleaning agents, contact sprays, or hydrocarbon-based solvents. Exposure to such substances can lead to degradation of the plastic material, resulting in cracking and creating a falling hazard.
- Clean speakers using only a dry cloth. Do not expose loudspeaker to soap, detergent, mineral oil, alcohol or other cleaning agents or chemicals.
Product Ratings:
Input Voltage: 70V/100V
Impedance: 8Ω, 40 W
Current or Power: (70V): 2.5W, 5W, 10W, 20W, 40W; (100V): 5W, 10W, 20W, 40W
Regulatory Information
Do not paint or modify factory-applied finishes.
This product conforms to all applicable EU directive requirements. The complete declaration of conformity can be found at: www.Bose.com/compliance.
This symbol means the product must not be discarded as household waste, and should be delivered to an appropriate collection facility for recycling. Proper disposal and recycling helps protect natural resources, human health and the environment. For more information on disposal and recycling of this product, contact your local municipality, disposal service, or the shop where you bought this product.
China Restriction of Hazardous Substances Table
Names and Contents of Toxic or Hazardous Substances or Elements | ||||||
Toxic or Hazardous Substances and Elements | ||||||
| Part Name | Lead (Pb) | Mercury (Hg) | Cadmium (Cd) | Hexavalent (CR(VI)) | Polybrominated Biphenyl (PBB) | Polybrominated diphenylether (PBDE) |
| PCBs | X | O | O | O | O | O |
| Metal Parts | X | O | O | O | O | O |
| Plastic Parts | O | O | O | O | O | O |
| Speakers | X | O | O | O | O | O |
| Cables | X | O | O | O | O | O |
| This table is prepared in accordance with the provisions of SJ/T 11364. O: Indicates that this toxic or hazardous substance contained in all of the homogeneous materials for this part is below the limit requirement of GB/T 26572. | ||||||
| X: Indicates that this toxic or hazardous substance contained in at least one of the homogeneous materials used for this part is above the limit requirement of GB/T 26572. | ||||||
Taiwan Restriction of Hazardous Substances Table
Equipment name: FreeSpace FS4SE, Type designation: 841155 | ||||||
Restricted substances and its chemical symbols | ||||||
| Unit | Lead (Pb) | Mercury (Hg) | Cadmium (Cd) | Hexavalent chromium (Cr+6) | Polybrominated biphenyls (PBB) | Polybrominated diphenyl ethers (PBDE) |
| PCBs | – | o | o | o | o | o |
| Metal Parts | – | o | o | o | o | o |
| Plastic Parts | o | o | o | o | o | o |
| Speakers | – | o | o | o | o | o |
| Cables | – | o | o | o | o | o |
| Note 1: “o” indicates that the percentage content of the restricted substance does not exceed the percentage of reference value of presence. Note 2: The “-” indicates that the restricted substance corresponds to the exemption. | ||||||
Date of Manufacture: The eighth digit in the serial number indicates the year of manufacture; “7” is 2007 or 2017.
China Importer: Bose Electronics (Shanghai) Company Limited, Part C, Plant 9, No. 353 North Riying Road, China (Shanghai) Pilot Free Trade Zone
EU Importer: Bose Products B.V., Gorslaan 60, 1441 RG Purmerend, The Netherlands
Mexico Importer: Bose de México, S. de R.L. de C.V. , Paseo de las Palmas 405-204, Lomas de Chapultepec, 11000 México, D.F. For importer & service information: +5255 (5202) 3545
Taiwan Importer: Bose Taiwan Branch, 9F-A1, No. 10, Section 3, Minsheng East Road, Taipei City 104, Taiwan. Phone Number: +886-2-2514 7676
Bose Corporation Headquarters: 1-877-230-5639
Bose and FreeSpace are trademarks of Bose Corporation.
©2020 Bose Corporation. No part of this work may be reproduced, modified, distributed or otherwise used without prior written permission.
Warranty Information
This product is covered by a limited warranty.
For warranty details, visit PRO.BOSE.COM.
Overview
Package Contents



×2 ×2 ×4


×2 ×2 ×2

×2 ×4
Product Dimensions

Technical Specifications
For additional specifications, see the FreeSpace FS4SE technical data sheet at PRO.BOSE.COM. For EN 54-24 specifications, see the FreeSpace FS4SE EN 54-24 certified ratings (AM857615 Rev. 00) at PRO.BOSE.COM.
| Physical | |
| Product Dimensions | Height: 277 mm (10.91 in) |
| Width: 171 mm (6.73 in) | |
| Depth: 196 mm (7.72 in) | |
| Net Weight, Loudspeaker with grille and bracket (single) | 3.42 kg (7.55 lb) |
| Shipping Weight (pair) | 8.32 kg (18.35 lb) |
| Environmental | Suitable for use outdoors in wet locations with included weather-resistant input cover (IP55 per EN60529; IP33C per EN 54-24). Optional accessory aluminum grille for harsh environments to prevent red corrosion is available. |
Important Installation Information
Before installing the loudspeaker, review Important Safety Instructions on page 2.
For fire and evacuation notification applications, environmental rated to IP33C per EN 54-24.
For general purpose audio installation applications, environmental rated to IP55 per EN60529.
Setup
Installation Options
(1) (2)(3) (4)


Installation Options and Accessories
(1) Mounting bracket (included)
(2) WBPWR-50 pan-and-tilt bracket (optional; for outdoors)
(3) RMUBRKT1 pan-and-tilt bracket (optional; for indoors)
(4) CMBS2 ceiling-mount bracket (optional; for indoors only)
Single In In and Out Wide Open

Preparing the Input Cover
The input cover is designed for three different wiring scenarios (see above). To change the configuration of the input cover to support your wiring scenario, cut along the perforation on the rubber conduit. Use one 1/2-inch to 1/2-inch threaded coupling and two 3/8-inch trade size conduit fittings for 1/2-inch knockouts (see diagram below).

CAUTION: Do not use the wide open wiring scenario when installing the input cover with a flexible conduit.
CAUTION: To prevent water ingress, do not install the input cover facing upward.
Note: It is the installer’s responsibility to seal against water ingress into the Euroblock connector. Use outdoor or marine-grade silicone to seal all wiring connections to ensure a tight seal.
Note: Flexible conduits and couplings must be UL Listed, suitable for the application, and installed in accordance with the local authorities having jurisdiction.

![]()

![]()


Wiring the Loudspeaker
Wire Gauge
The FreeSpace FS4SE loudspeaker is designed to work with 18 AWG (0.8 mm²) to 14 AWG (2.1 mm²) size wire only.
Connection Diagrams
Expose six millimeters (¼ inch) of bare wire to attach to the terminals.
Note: The loudspeaker is not rated for use with a rigid conduit. The loudspeaker is suitable for a flexible conduit or wiring connection only.
Note: Wiring method must be in accordance with:
In Canada, CSA C22.1, Canadian Electrical Code, Part I, Safety Standard for Electrical Installations, Section 32;
In the United States, The National Electrical Code, NFPA 70, and the National Fire Alarm and Signaling Code, NFPA 72.


70/100V 8Ω
Loudspeaker Settings

70V | |||||
2.5W | 5W | 10W | 20W | 40W* | 8Ω |
5W | 10W | 20W | 40W | NC** | |
100V | |||||
* Factory default ** NC: No Connection (do not use)
Transformer Tap Setting
Set tap by turning. Use a flat head screwdriver.
Using a Safety Cable
Some regional construction codes require the use of a secondary method of securing loudspeakers to support structures to provide additional safety. Choose a mounting position, method, and hardware consistent with local building codes and regulations.
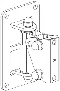
A safety cable can be attached to the loudspeaker using one of the threaded inserts on either the rear or the sides of the enclosure. If installing the loudspeaker using the included mounting bracket, use one of the rear threaded inserts (2). If installing the loudspeaker with one of the optional accessory brackets (see page 4), use one of the side threaded inserts (1). See the diagram to the right for safety attachment points.
The side inserts (1) are sized for M8 screws (not included) with a depth of 11 millimeters (0.43 inches). The rear inserts (2) are sized for M8 screws with a depth of 15 millimeters (0.59 inches).

Installation
Loudspeaker Orientation
Choose the loudspeaker orientation best suited for your installation.
(1) Horizontal
(2) Vertical
(1) (2)

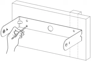
Installing the Bracket
Note: When choosing an installation location, at least two of the mounting bracket’s attachment points must be secured to a support structure. Attachment points not secured to a support structure must be secured using appropriate hardware for the installation. Choose fasteners that are consistent with all local building codes and requirements.
Note: Choose appropriate fasteners to support the weight of the loudspeaker (3.42 kg [7.55 lb]).
- Mark the drill holes.
- Drill four holes (sized for appropriate fasteners) into the wall.
- Secure the bracket to the wall with two screws (not included). Note: Use M6 or 1/4″-20 sized screws.
(1) (2) (3)



Wiring the Connector
1. Feed the wires through the center hole of the bracket.
2. Insert the wires through the bottom of the input cover. See Preparing the Input Cover on page 4.
3. Wire the connector. For wiring information, see Wiring the Loudspeaker on page 5.
(1) (2)



Ceramic Terminal Attachment Point
The FreeSpace FS4SE is compatible with an optional ceramic terminal accessory. See the diagram for the location of the ceramic terminal attachment point. For more information on the ceramic terminal, see the ceramic terminal installation guide at PRO.BOSE.COM.
Installing the Loudspeaker
WARNING: Failure to follow the steps below could lead to an unsafe mounting condition, which could create a falling hazard.
- Attach the wired connector to the loudspeaker.
- Place the input cover over the connector and press it firmly against the loudspeaker to create a tight seal. Use the two included input cover screws to secure the input cover. See Preparing the Input Cover on page 4.
- Hold the loudspeaker in between the bracket arms and insert one of the included bracket screws into each side of the loudspeaker using the threaded inserts.
- Align the pins on the mounting bracket with the angle slots appropriate for your installation and snap the bracket into the loudspeaker.
Note: The angle of the loudspeaker can be adjusted to 0°, ±15°, ±30°, or ±45°.
Note: In outdoor applications, do not install the loudspeaker with an upward pitch. - Tighten the screws on both sides of the loudspeaker to secure the loudspeaker to the mounting bracket. Do not over-torque the screw.
Note: Before attaching the grille, adjust the loudspeaker tap settings to the appropriate setting for the installation. See Loudspeaker Settings on page 5. - Locate the extended grille tab on the inside of the grille. Attach the grille by sliding it into place. Be sure the extended grille tab attaches to the grille lock on the loudspeaker enclosure.




Removing the Grille
The grille is secured to the loudspeaker by the grille lock. Disengage the grille lock by inserting a small tool through the grille perforation (no larger than 1.5 millimeters in diameter). While depressing the grille lock, slide the grille away from the loudspeaker to detach it.
Note: The grille lock is located on the loudspeaker opposite of the tap switch. See the diagram below for the grille lock location.

Adjusting the Logo
The FreeSpace FS4SE comes with a pre-installed Bose logo for horizontal installations. The loudspeaker also comes with a separate logo for vertical installations. To remove the logo, peal it away from the loudspeaker grille. To apply the vertical logo, find the center of the grille and align the notches on the back of the logo with the grille perforation. Press to affix it to the loudspeaker grille.
Safety and Regulatory Compliance
The Bose FreeSpace FS4SE loudspeaker has passed testing and complies with the following specifications and uses:
Listed to ANSI/UL 1480-2016, CAN/ULC-S541
Fire Protective Signaling Use – UL Category UUMW/UUMW7, File Number S 3241. Control Number 42S9.
Not for use with DC-supervised systems.
Suitable for use outdoors in wet locations.
EN 54-24: 2008, Loudspeaker for Voice Alarm Systems for Fire Detection and Fire Alarm Systems for Buildings
Environmental: Type B (outdoor applications)
Suitable for installation using Class 1, Class 2, or Class 3 wiring methods in accordance with NFPA 70, National Electric Code, 2002, Article 640.
Suitable for use with fire alarm circuit wiring methods in accordance with NFPA 70, National Electric Code, 2002, Article 760.
NFPA 70, National Electric Code, 2002, Article 300-22 (c).
NFPA 90-A, 2002, Installation of Air Conditioning and Ventilation Systems, Paragraph 4.3.10.2.6.5.
EMC Directive 89/336/EEC and Article 10 (1) of the directive, EN50081-1 and EN50082-1 as signified by the CE mark.
The Bose FreeSpace FS4SE has been designed to the requirements defined in the following European regulatory specifications for combination systems:
British Standard Code of Practice BS 5839, Part 8, when used with the ceramic terminal block and thermal fuse.
Tested to IEC60268-5.
Nominal Coverage Angle (per UL 1480) Vertical : 115°/65° at –3 dB; 145°/40° at –6 dB
Horizontal: 120°/60° at –3 dB; 145°/35° at –6 dB
UL Sensitivity Wattage Tap Sound Pressure Level dBA at 3.1 meters (10 feet):
| Wattage | CAN/ULC-S541 Canada | |
| Tap | 70 V | 100 V |
| 2.5 W | 85.6 dBA | — |
| 5 W | 88.2 dBA | 88.4 dBA |
| 10 W | 91.1 dBA | 90.8 dBA |
| 20 W | 93.8 dBA | 93.4 dBA |
| 40 W | 96.2 dBA | 96.1 dBA |
| 8 Ω | 95.3 dBA | — |
| Wattage | ANSI/UL 1480-2016 United States | |
| Tap | 70 V | 100 V |
| 2.5 W | 79.3 dBA | — |
| 5 W | 81.9 dBA | 82.3 dBA |
| 10 W | 84.8 dBA | 84.8 dBA |
| 20 W | 87.6 dBA | 87.6 dBA |
| 40 W | 90.1 dBA | 90.2 dBA |
| 8 Ω | 90.3 dBA | — |
SPLs given are per the UL 1480 specified reporting method.
Frequency response:
Fire alarm (UL): 80 Hz to 17000 Hz
![]() 2531 |
Bose Corporation 20 DOP 434849-10 |
EN 54-24: 2008 Loudspeaker for voice alarm systems for fire detection and fire alarm systems for buildings FreeSpace FS4SE Provided options: For DOP 434849-10, see pro.Bose.com/FS4SEDOP_UK |

©2020 Bose Corporation, All rights reserved.
Framingham, MA 01701-9168 USA
PRO.BOSE.COM
AM861345 Rev. 02
December 2020

















