HERCULES HA024 4 Inch 5 Inch Surface Grinding Dust Shroud

WARNING: To prevent serious injury, User must read and understand Owner’s Manual. SAVE THIS MANUAL.
When unpacking, make sure that the product is intact and undamaged.
If any parts are missing or broken, please call 1-888-866-5797 as soon as possible. Reference 57486.
IMPORTANT SAFETY INFORMATION
INSTRUCTIONS PERTAINING TO A RISK OF FIRE, ELECTRIC SHOCK, OR INJURY TO PERSONS
![]()
Read all safety warnings and all instructions.
Failure to follow the warnings and instructions may result in electric shock, fire and/or serious injury.
- Do not leave appliance when plugged in. Unplug from outlet when not in use and before servicing.
- Do not use outdoors or on wet surfaces.
- Do not allow to be used as a toy. Close attention is necessary when used by or near children.
- Use only as described in the manual. Use only manufacturer’s recommended attachments.
- Do not use with damaged cord or plug.
If appliance is not working as it should, has been dropped, damaged, left outdoors, or dropped into water, return it to a service center. - Do not pull or carry appliance by cord, use cord as a handle, close a door on cord, or pull cord around sharp edges or corners. Do not run appliance over cord. Keep cord away from heated surfaces.
- Do not unplug appliance by pulling on cord.
To unplug, grasp the plug, not the cord. - Do not handle plug or appliance with wet hands.
- Do not put any object into openings. Do not use with any opening blocked; keep free of dust, lint, hair, and anything that may reduce air flow.
- Keep hair, loose clothing, fingers, and all parts of body away from openings and moving parts.
- Turn off all controls before unplugging.
- Use extra care when cleaning on stairs.
- Do not use to pick up flammable or combustible liquids, such as gasoline, or use in areas where they may be present.
- Connect appliance to a properly grounded outlet only.
- Do not pick up anything that is burning or smoking, such as cigarettes, matches, or hot ashes.
- Do not use without dust bag and/or filters in place.
- Use only 4″/5″ diamond cup wheels with the 4″/5″ shroud. Using the incorrect size or type of accessory may cause personal injury or damage to the shroud or tool.
- FOR HOUSEHOLD USE ONLY.
- Stay alert, watch what you are doing and use common sense when operating an appliance.
Do not use an appliance while you are tired or under the influence of drugs, alcohol or medication.
A moment of inattention while operating appliances may result in serious personal injury. - Maintain labels and nameplates on the appliance. These carry important safety information. If unreadable or missing, contact Harbor Freight Tools for a replacement.
- People with pacemakers should consult their physician(s) before use. Electromagnetic fields in close proximity to heart pacemaker could cause pacemaker interference or pacemaker failure.
- The warnings, precautions, and instructions discussed in this instruction manual cannot cover all possible conditions and situations that may occur.
It must be understood by the operator that common sense and caution are factors which cannot be built into this product, but must be supplied by the operator.
SAVE THESE INSTRUCTIONS
Specifications
| Compatible Dust Tubes | 1-1/4″, 1-7/8″, 2-1/2″ |
| Wheel Capacity | 4″ - 5″ |
| Compatible Brands | Hercules® Bauer™ Warrior® (May fit some Non-Harbor Freight Brands) |
Setup – Before Use
![]()
TO PREVENT SERIOUS INJURY FROM ACCIDENTAL OPERATION:
Turn the Power Switch of the appliance off and unplug the appliance from its electrical outlet before performing any procedure in this section.
Note: For additional information regarding the parts listed in the following pages, refer to the Parts List near the end of this manual.
- Carefully inspect the condition of the Dust Shroud parts before use. Check for damaged parts.
Do not use and replace any damaged part. - Use only identical replacement parts. Use of any other part will void warranty.
- Use the right part for the job. Do not modify the Dust Shroud or use its parts for a purpose for which they were not intended.
- Do not place the Vacuum Hose in walkways or in any trafficked location. Setup the Dust Shroud in a location where people or vehicles will not trip or run over the hose.
- Keep hose away from sharp objects and excessive heat.
OPERATION
Read the ENTIRE IMPORTANT SAFETY INFORMATION section at the beginning of this manual including all text under subheadings therein before set up or use of this product
Attaching Tool to Dust Shroud
- Remove the tool’s battery pack, guard, and any accessories.
- Open Clamping Lever and loosen the Band Clamp Nut 1/4″ to allow enough room for the tool to fit securely.
- Turn the tool upside down and place on an even surface.
- Turn Shroud upside down and place over the tool’s spindle, making sure the tabs on the Shroud align with corresponding slots on the tool. See below.

- Turn Shroud and tool upright and rotate Shroud to the desired position.
- Make sure Shroud is centered on the spindle. Close Clamping Lever, then retighten Band Clamp Nut.
- Attach the desired accessory to the tool according to instructions in the tool’s manual.
- Insert Vacuum Hose into the dust port.
MAINTENANCE AND SERVICING
Procedures not specifically explained in this manual must be performed only by a qualified technician.
![]()
TO PREVENT SERIOUS INJURY FROM ACCIDENTAL OPERATION:
Turn the Power Switch of the appliance off and unplug the appliance from its electrical outlet before performing any procedure in this section.
TO PREVENT SERIOUS INJURY FROM APPLIANCE FAILURE:
Do not use damaged equipment.
If abnormal noise or vibration occurs, have the problem corrected before further use.
CAUTION! After installation, check the condition of accessory parts during use. If any damage is seen, stop immediately and replace part before continuing use.
Cleaning, Maintenance, and Lubrication
- BEFORE EACH USE, inspect the general condition of the appliance. Check for:
• loose hardware,
• misalignment or binding of moving parts,
• cracked or broken parts,
• damaged electrical wiring, and
• any other condition that may affect its safe operation. - AFTER USE, wipe external surfaces of the appliance with clean cloth. Store in an indoor dry area out of reach of children.
- DAILY: With a soft brush, cloth, or vacuum, remove debris from the Dust Collector Accessory Kit. If necessary, a mild detergent may be used.
PLEASE READ THE FOLLOWING CAREFULLY
THE MANUFACTURER AND/OR DISTRIBUTOR HAS PROVIDED THE PARTS LIST AND ASSEMBLY DIAGRAM IN THIS MANUAL AS A REFERENCE TOOL ONLY. NEITHER THE MANUFACTURER OR DISTRIBUTOR MAKES ANY REPRESENTATION OR WARRANTY OF ANY KIND TO THE BUYER THAT HE OR SHE IS QUALIFIED TO MAKE ANY REPAIRS TO THE PRODUCT, OR THAT HE OR SHE IS QUALIFIED TO REPLACE ANY PARTS OF THE PRODUCT. IN FACT, THE MANUFACTURER AND/OR DISTRIBUTOR EXPRESSLY STATES THAT ALL REPAIRS AND PARTS REPLACEMENTS SHOULD BE UNDERTAKEN BY CERTIFIED AND LICENSED TECHNICIANS, AND NOT BY THE BUYER. THE BUYER ASSUMES ALL RISK AND LIABILITY ARISING OUT OF HIS OR HER REPAIRS TO THE ORIGINAL PRODUCT OR REPLACEMENT PARTS THERETO, OR ARISING OUT OF HIS OR HER INSTALLATION OF REPLACEMENT PARTS THERETO.
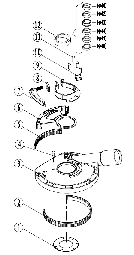
PARTS LIST AND DIAGRAM
Parts List
Part | Description | Qty |
| 1 | Flange | 1 |
2 | Long Brush | 1 |
| 3 | Grinding Guard | 1 |
4 | Rivet | 1 |
| 5 | Short Brush | 1 |
6 | Swivelling Cover | 1 |
| 7 | Clamping Lever | 1 |
8 | Washer | 1 |
| 9 | Band Clamp | 1 |
10 | Band Clamp Nut | 1 |
| 11 | Rivet | 4 |
12 | Ring | 1 |
| 13 | Vacuum Hose (not shown) | 1 |
Assembly Diagram

Record Product’s Serial Number Here:__________________________
Note: If product has no serial number, record month and year of purchase instead.
Note: Replacement parts are not available. Reference UPC 193175497703
LIMITED 90 DAY WARRANTY
Harbor Freight Tools Co. makes every effort to assure that its products meet high quality and durability standards, and warrants to the original purchaser that this product is free from defects in materials and workmanship for the period of 90 days from the date of purchase. This warranty does not apply to damage due directly or indirectly, to misuse, abuse, negligence or accidents, repairs or alterations outside our facilities, criminal activity, improper installation, normal wear and tear, or to lack of maintenance. We shall in no event be liable for death, injuries to persons or property, or for incidental, contingent, special or consequential damages arising from the use of our product. Some states do not allow the exclusion or limitation of incidental or consequential damages, so the above limitation of exclusion may not apply to you. THIS WARRANTY IS EXPRESSLY IN LIEU OF ALL OTHER WARRANTIES, EXPRESS OR IMPLIED, INCLUDING THE WARRANTIES OF MERCHANTABILITY AND FITNESS.
To take advantage of this warranty, the product or part must be returned to us with transportation charges prepaid. Proof of purchase date and an explanation of the complaint must accompany the merchandise. If our inspection verifies the defect, we will either repair or replace the product at our election or we may elect to refund the purchase price if we cannot readily and quickly provide you with a replacement. We will return repaired products at our expense, but if we determine there is no defect, or that the defect resulted from causes not within the scope of our warranty, then you must bear the cost of returning the product.
This warranty gives you specific legal rights and you may also have other rights which vary from state to state.
Visit our website at: http://www.harborfreight.com
Email our technical support at: [email protected]
For technical questions, please call 1-888-866-5797
Copyright© 2022 by Harbor Freight Tools®. All rights reserved. No portion of this manual or any artwork contained herein may be reproduced in any shape or form without the express written consent of Harbor Freight Tools. Diagrams within this manual may not be drawn proportionally. Due to continuing improvements, actual product may differ slightly from the product described herein. Tools required for assembly and service may not be included.

26677 Agoura Road • Calabasas, CA 91302 • 1-888-866-5797



















