THULE MultiLift 572

Installation



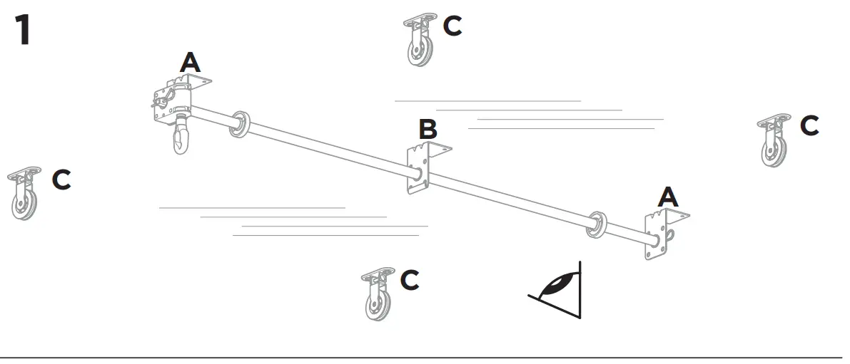
- The hoist must only be fitted to the ceiling by a professional.
- Before the hoist is fitted, the ceiling material must be checked to ensure that it is suitable and strong enough to support the hoist.
















THULE MultiLift 572




















Download manual
Here you can download full pdf version of manual, it may contain additional safety instructions, warranty information, FCC rules, etc.