Ovation OV1506 Nutri Blender
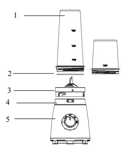
Parts
- Cups (600ml and 300ml)
- Sealing ring
- Blade unit
- Motor Base
- Rotary switch
Important Safety Reminders
When using electrical appliances, basic safety precautions should always be followed, including the following:
- Read all instructions before operating.
- Do not touch hot surfaces. Use handles or knobs.
- To protect against electrical shock, do not immerse the cord, plug or appliance itself in water or other liquids.
- Unplug from outlet when not in use and before cleaning. Allow cooling before putting on or taking off parts.
- The use of accessory attachments not recommended by the appliance manufacturer may cause injuries.
- Do not use outdoors.
- Do not let the cord hang over the edge of the table or counter or touch hot surfaces.
- Do not place on or near a hot gas or electric burner, or in a heated oven.
- Always attach plug to appliance first, then plug cord into wall outlet. To disconnect, turn Rotary switch to OFF position, then remove plug from the wall outlet.
- Oversized foods or metal utensils must not be inserted in the appliance as they may cause fire or risk of electrical shock.
- A fire may occur if the appliance is covered or touching flammable material including curtains, draperies, walls and the like when in operation.
- Do not clean with metal scouring pads. Pieces can break off the pad and touch electrical parts, involving a risk of electrical shock.
- Only accessories supplied by the manufacturer should be used.
- Do not place any of the following materials inside the unit: Paper, cardboard, plastic and the like.
- Do not operate the appliance for more than 3 minutes. Let it cool down to prevent it from overheating.
- If the supply cord is damaged, it must be replaced by the manufacturer, its service agent or similarly qualified persons in order to avoid any accident.
- Care is needed when handling cutting blades, especially when removing the blade from the bowl, emptying the bowl and during cleaning.
- Switch off the appliance and disconnect from supply before changing accessories.
- Warning: Potential injury would result in misuse.
- To avoid any injury, do not put hot liquid in the blender as it can easily be ejected out of the appliance.
- CAUTION: Ensure that the blender is switched off before removing it from the stand.
- This appliance is not intended for use by persons (including children) with reduced physical, sensory or mental capabilities, or lack of experience and knowledge unless they have been given supervision or instruction concerning use of the appliance by a person responsible for their safety. Children should be supervised to ensure that they do not play with appliances.
- Always disconnect the appliance from the power supply before assembling, disassembling or cleaning.
Before first use
Assembling the Jar:
- Put the sealing ring (2) on the inner edge of the blade unit (3) then turn the cup’s inner blade unit clockwise (3)
- Turn clockwise the blade unit with cup into the motor base (4). Make sure that the blender is switched off (switch should be in the “OFF” position).
How to Use3
- Place the food you wish to process into the cup.
- Put the blade unit (3) on the cup (1) and close firmly. Turn clockwise to lock the cup assembly to the motor base (4).
- Switch on and start blending.
Speed setting
- LOW
- HIGH
- OFF
- PULSE
Use
- For light usage with liquids
- For more solid consistency – for mixing liquids and solid
- food
- Stop operation
- For ice crushing or short but powerful blending
(The switch does not permanently engage in the ‘PULSE’ setting. You have to hold the switch in the ‘PULSE’ setting or turn it repeatedly into the OFF setting) After using the blender, always move the switch to the ‘OFF’ position and pull out the mains plug.
Useful tips:
- If you are processing solid ingredients, cut them into small pieces (2-3cm) first.
- When mixing solid ingredients start off first with a small amount of liquid. Gradually add more and more liquid through the opening in the lid.
- Always place your hand on top of the blender when you are operating the device.
- For stirring solid or very thick liquid ingredients we recommend that you use the blender in PULSE mode to prevent the blades from becoming stuck.
Specification:
- Voltage: AC220V-240V 50/60Hz
- Power: 250W
- Short time operation: max. 1min
Motor Base: Never immerse the motor base in water. Wipe it only with a moist cloth.
Simple cleaning/rinsing out the assembled cup:
Empty the cup and fill it with water and then place it on the motor base and turn the switch several times to the PULSE setting. Empty the cup and rinse until clean. We recommend that you clean the cups/blades immediately after use to prevent food from sticking or hardening on the blades and the cups.
SAVE THESE INSTRUCTIONS THIS PRODUCT IS FOR HOUSEHOLD USE ONLY!





















