RYOBI R18LTR10 18V ONE+ Line Trimmer and Blower 4.0Ah Kit Instruction Manual
IMPORTANT!
It is essential that you read the instructions in this manual before assembling, operating, and maintaining the product. Subject to technical modification.
Safety, performance, and dependability have been given top priority in the design of your cordless line trimmer.
INTENDED USE
The cordless line trimmer is intended to be used only by adults who have read and understood the instructions and warnings in this manual and can be considered responsible for their actions.
The product is intended only for outdoor use in a wellventilated area. For safety reasons, the product must be adequately controlled by a two-handed operation.
When fitted with the line trimmer head (and appropriate guard), the product is intended for cutting long grass, pulpy weed, and similar vegetation at or about ground level. The cutting plane should be approximately parallel to the ground surface.
The cutting plane should be approximately parallel to the ground surface when trimming and approximately vertical when edging.
The product should not be used to cut or trim hedges, bushes, or other vegetation where the cutting plane is not parallel to the ground surface.
Do not use the product for any other purpose.
GENERAL SAFETY WARNINGS
WARNING! Read all safety warnings and all instructions. Failure to follow the warnings and instructions may result in electric shock, fire, and/or serious injury.
- may result in electric shock, fire, and/or serious injury.
- When using the product, the safety rules must be followed. For your safety and that of bystanders, read these instructions before operating the product. Keep the instructions safe for later use.
- The product is not intended to be used by children or persons with reduced physical, mental, or sensory capabilities. Children should be adequately supervised to ensure that they do not play with the product.
- Some regions have regulations that restrict the use of the product. Check with your local authority for advice.
TRAINING
- Read the instructions carefully. Be familiar with all controls and the proper use of the product.
- Never allow children or people who are unfamiliar with these instructions to use the product. Local regulations may restrict the age of the operator.
- Keep bystanders, children, and pets 15 m away from the area of operation. Turn off the product if anyone enters the area.
- Never use the product while tired, ill, or under the influence of alcohol, drugs, or medication.
- Keep in mind that the operator or user is responsible for accidents or hazards occurring to other people or their property.
PREPARATION
- Wear full eye and hearing protection while operating the product. If working in an area where there is a risk of falling objects, head protection must be worn.
- The use of hearing protection may restrict the operator’s ability to hear warning sounds. Pay particular attention to potential hazards around and inside the working area.
- Wear heavy, long trousers, boots, and gloves. Do not wear loose-fitting clothing, short trousers, or jewellery of any kind. Do not use the product with bare feet.
- Secure long hair so that it is above shoulder level to prevent entanglement in moving parts.
- Before use and after any impact, check that there are no damaged parts on the product. A defective switch or any part that is damaged or worn should be properly repaired or replaced by an authorised service centre.
- Make sure that the cutting attachment is properly installed and securely fastened.
- Never operate the product unless all guards, deflectors, and handles are properly and securely attached.
- Consider the environment in which you are working. Keep the working area free from wires, sticks, stones, and debris, which if struck by the cutter, can become thrown objects.
BATTERY TOOL USE AND CARE
- Recharge only with the charger specified by the manufacturer. A charger that is suitable for one type of battery pack may create a risk of fire when used with another battery pack.
- Use power tools only with specifically designated battery packs. Use of any other battery packs may create a risk of injury and fire.
- When the battery pack is not in use, keep it away from other metal objects, like paper clips, coins, keys, nails, screws or other small metal objects that can make a connection from one terminal to another. Shorting the battery terminals together may cause burns or a fire.
- Under abusive conditions, liquid may be ejected from the battery; avoid contact. If contact accidentally occurs, flush with water. If liquid contacts eyes, additionally seek medical help. Liquid ejected from the battery may cause irritation or burns.
LINE TRIMMER SAFETY WARNINGS
- Never allow children, persons with reduced physical, sensory, or mental capabilities or lack of experience and knowledge, or people who are unfamiliar with the instructions to use the product.
- Use the product in daylight or with good artificial light.
- Avoid using the product on wet grass.
- Keep firm footing and balance at all times, and be sure of proper footing on slopes.
- Do not walk backwards when using the product. Walk, never run.
- Keep the head attachment below waist level.
- Never use the product with damaged guards or without guards in place.
- Never fit a metal replacement line.
- Keep hands and feet away from the cutting means at all times, especially when turning on the motor. Original Instructions 3
- Beware, the cutting elements continue to rotate after the motor is turned off.
- Beware of objects thrown by the cutting means. Remove debris like small stones, gravel, and other foreign objects from the work area before starting the operation. Wires or string may become entangled with the cutting means.
- To reduce the risk of injury associated with contacting moving parts, always turn off the product, remove the battery pack, and allow both to cool down. Make sure that all moving parts have come to a complete stop:
- before servicing
- before clearing a blockage
- before checking, cleaning, and working on the product
- before changing accessories
- after striking a foreign object
- whenever leaving the product unattended
- whenever performing maintenance
- whenever the product starts to vibrate abnormally
- Wear full eye and hearing protection while operating the product. If working in an area where there is a risk of falling objects, head protection must be worn.
- The use of hearing protection may restrict the operator’s ability to hear warning sounds. Pay particular attention to potential hazards around and inside the working area.
- Wear heavy, long trousers, boots, and gloves. Do not wear loose-fitting clothing, short trousers, or jewellery of any kind. Do not use the product with bare feet.
- Secure long hair so that it is above shoulder level to prevent entanglement in moving parts.
- The small blade fitted to the safety guard is designed to trim the newly extended line to the correct length for safe and optimum performance. The blade is very sharp. Do not touch the blade, particularly when cleaning the product.
- Always ensure that ventilation openings are kept clear of debris.
- Before use and after any impact, check that there are no damaged parts on the product. A defective switch or any part that is damaged or worn should be properly repaired or replaced by an authorised service centre.
- Make sure that the cutting head attachment is properly installed and securely fastened.
- Make sure that all guards, deflectors, and handles are properly and securely attached.
- Do not modify the product in any way. This may increase the risk of injury to yourself or others.
- Use only the manufacturer’s replacement cutting line. Do not use any other cutting attachment.
- Immediately turn off the product and remove the battery pack in the event of an accident or breakdown. Do not operate the product again until it has been fully checked by an authorised service centre.
- Ensure that the cut-off blade in the guard is properly positioned and secured before each use.
ADDITIONAL BATTERY SAFETY WARNINGS
To reduce the risk of fire, personal injury, and product damage due to a short circuit, never immerse the product, battery pack, or charger in fluid or allow fluid to flow inside them. Corrosive or conductive fluids, such as seawater, certain industrial chemicals, and bleach or bleach-containing products, etc., can cause a short circuit.
TRANSPORTATION AND STORAGE
- Turn off the product, remove the battery pack, and allow both to cool down before storing or transporting.
- Remove all foreign materials from the product.
- Do not store or transport the product with the battery pack fitted. Remove the battery pack, and secure it separately. Store the product in a cool, dry, and wellventilated place that is inaccessible to children. Keep the product away from corrosive agents, such as garden chemicals and de-icing salts. Do not store the product outdoors.
- For transportation in vehicles, secure the product against movement or falling to prevent injury to persons or damage to the product.
TRANSPORTING LITHIUM BATTERIES
- Transport the battery pack in accordance with local and national provisions and regulations.
- Follow all special requirements on packaging and labelling when transporting batteries by a third party. Ensure that no batteries can come in contact with other batteries or conductive materials while in transport by protecting exposed connectors with insulating, nonconductive caps or tape. Do not transport batteries that are cracked or leaking. Check with the forwarding company for further advice.
MAINTENANCE
- Use only original manufacturer’s replacement parts, accessories, and attachments. Failure to do so can cause possible injury, can contribute to poor performance, and may void your warranty.
- Servicing requires extreme care and knowledge and should be performed only by a qualified service technician. Have the product serviced by an authorised service centre only.
- Turn off the product and remove the battery back before conducting any maintenance or cleaning work.
- You may make adjustments or repairs described in this manual. For other repairs, contact an authorised service centre.
- For the replacement line, use only a nylon filament line of the diameter described in the specifications table of this manual.
- After each use, clean the product with a soft, dry cloth. Any part that is damaged should be properly repaired or replaced by an authorised service centre.
- Check all nuts, bolts, and screws before each use and at frequent intervals for proper tightness to ensure that the product is in safe working condition. Any part that is damaged should be properly repaired or replaced by an authorised service centre.
- Bring the product to an authorised service centre to replace damaged or unreadable labels.
- Injuries may be caused, or aggravated, by prolonged use of the product. When using the product for prolonged periods, ensure to take regular breaks.
SYMBOLS ON THE PRODUCT

Read and understand all the instructions before operating the product. Follow all the warnings and safety instructions.

Beware of thrown or flying objects. Keep all bystanders, especially children and pets, at least 15 m away from the operating area.

Wear eye protection.

Wear ear protection.

Do not use metal blades on the product.

Do not expose the product to rain or damp conditions.

Keep hands away from blades.

95 Guaranteed sound power level

Regulatory Compliance Mark (RCM). The product meets applicable regulatory requirements.

Waste electrical products should not be disposed of with household waste. Please recycle where facilities exist. Check with your local authority or retailer for recycling advice.
SYMBOLS IN THIS MANUAL

Note

Warning

Parts or accessories sold separately
Know your product

Getting start
Always wear safety goggles or safety glasses with side shields when operating the product. Wear non-slip, heavy-duty protective gloves. Wear non-skid, protective footwear that will protect your feet and improve your footing on slippery surfaces.
Install the safety guard to the trimmer head. Secure the safety guard in place using four screws.
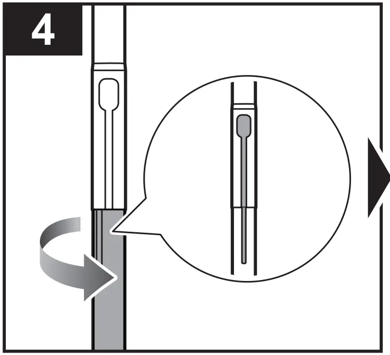
Attach the upper drive shaft to the lower drive shaft.
Rotate the lower drive shaft counterclockwise until the lines on both the lower drive shaft and upper drive shaft are aligned.
Push the upper drive shaft into the lower drive shaft until the lock button clicks into place.
Push the slider. Pull the cutting line until it reaches the cut-off blade.
Insert the battery pack until the latches click into place.
Press and hold the lock-out trigger, and squeeze the on/off trigger to turn on the product.

Operation
OPERATING THE TRIMMER
WARNING: Always use two hands to operate the product. Hold the product with the right hand on the rear handle and the left hand on the front handle.
WARNING: Beware of objects thrown by the cutting means. Remove debris like small stones, gravel, and other foreign objects from the work area before starting operation. Wires or string may become entangled with the cutting means.
WARNING: Exercise extreme caution when using the product. Keep hands and feet away from the cutting means.
- Insert the battery pack until the latches click into place.

- Press and hold the lock-out trigger, and squeeze the on/off trigger to turn on the product.

NOTE: Holding and releasing both the lockout trigger and the on/off trigger automatically releases a quarter inch of line.
NOTE: The cut-off blade fitted to the cutting attachment guard is designed to trim the new extended line.
NOTE: The cut-off blade on the grass deflector cuts the line to the correct length for safe and optimum performance.
NOTE: Cut tall grass from the top down. This prevents grass from wrapping around the shaft housing and bump head, which may cause damage from overheating.
NOTE: Cut grass from the right side to the left side for cutting ease and safety.
OPERATING THE EDGER
- Remove the battery pack.

- Push the edging button. Rotate the upper drive shaft counterclockwise to turn to the edger position.

- Insert the battery pack until the battery latch button clicks into place. Hold the lock-out trigger, and squeeze the on/off trigger to turn on the product.

- Use the edger along sidewalks, driveways, flower beds, curbs, and similar areas.

Maintenance
REPLACING THE SPOOL
- Remove the battery pack.

- Push the slider on the side of the spool retainer, and remove the spool cover.

- Remove the spool.

- Thread the line of the new spool through the eyelet. Install the new spool with the line and slot aligned with the eyelet in the string head. Push the slider, and pull the line extending from the string head.

- Install the spool cover until the spool cover latch clicks into place.

CLEANING THE PRODUCT
- Remove the battery pack.

- Remove all foreign material from the product with a soft, dry brush.

WARNING: Avoid using solvents when cleaning plastic parts. Most plastics are susceptible to damage from various types of commercial solvents and may be damaged by their use.
WARNING: The cut-off blade that is fitted to the safety guard is very sharp. Keep hands away from the cut-off blade at all times.
Storage
STORING THE PRODUCT
WARNING: Make sure that the product is clean before storing.
- Remove the battery pack.

- Store the product in a cool, dry, and well-ventilated place that is inaccessible to children and away from sources of ignition. Do not store the product outdoors.

NOTE: Store the product vertically.
PRODUCT SPECIFICATIONS
| Cordless line trimmer | |
| Model | R18LTR10/R18LTR52 |
| Voltage | 18 V d.c. |
| No-load speed | 9500 +/- 10% rpm |
| Cutting capacity | 25 cm |
| Cutting line diameter | 1.6 mm |
| Vibration level (in accordance with EN 50636-2-91 Annex BB) | |
| Line trimmer | |
| Front handle | ah = 3.9 m/s2 |
| Rear handle | ah = 3.2 m/s2 |
| Uncertainty | K = 1.5 m/s2 |
| Flailing blade | |
| Rear handle | ah = 5.2 m/s2 |
| Front handle | ah = 3.5 m/s2 |
| Uncertainty | K = 1.5 m/s2 |
| Noise emission level (in accordance with EN 50636-2-91 Annex CC) | |
| Line trimmer | |
| A-weighted sound pressure level at the operator’s position | LpA = 77.5 dB(A) |
| Uncertainty | KpA = 3.0 dB |
| A-weighted sound power level (1 sample) | LWA = 91.7 dB(A) |
| Uncertainty | KWA = 3.0 dB |
| LWA +KWA | 95 dB(A) |
| Flailing blade | |
| A-weighted sound pressure level | LpA = 81.4 dB(A) |
| Uncertainty | KpA = 3.0 dB |
| A-weighted sound power level | LWA = 92.6 dB(A) |
| Uncertainty | KWA = 0.8 Db |
| LWA +KWA | 94 dB(A) |
BATTERY AND CHARGER
| Model | R18LTR52 | R18LTR10 |
| Battery pack | RB1820C | – |
| Weight | 0.46 kg | – |
| Charger | RC18115 | – |
| Compatible battery packs | RB18L13, RB18L13Z, RB18L15, RB18L15A, RB18L15B, RB1815C, RB18L20, RB18L20A, RB1820C, RB18L25, RB18L25A, RB1825C, RB18L26, RB18L30, RB18L30A, RB18L40, RB18L40A, RB1840C, RB1840X, RB18L50, RB18L50A, RB1850C, RB1850X, RB18L60, RB18L60A, RB1860X, RB18L90, RB18L90A | |
REPLACEMENT PARTS
- 1.6 mm spool: RAC1211
- Flailing blade head: RLTH1
NOTE: Visit your local special orders desk or contact RYOBI customer service for replacement parts.
WARNING! The declared vibration total values and the declared noise emission values given in this instruction manual have been measured in accordance with a stand ardised test and may be used to compare one tool with another. They may be used for a preliminary assessment of exposure. The declared vibration and noise emission values represent the main applications of the tool. However, if the tool is used for different applications, used with different accessories, or poorly maintained, the vibration and noise emission may differ. These conditions may significantly increase the exposure levels over the total working period. An estimation of the level of exposure to vibration and noise should take into account the times when the tool is turned off or when it is running idle. These conditions may significantly reduce the exposure level over the total working period. Identify additional safety measures to protect the operator from the effects of vibration and noise, such as maintaining the tool and the accessories, keeping the hands warm (in case of vibration), and or ganising work patterns.
Imported by:
Techtronic Industries Australia Pty Ltd
31 Gilby Road, Mount Waverley, VIC 3149 Melbourne, Australia
Techtronic Industries N.Z. Limited
Unit C, 70 Business Parade South, Highbrook, Auckland 2013, New Zealand
RYOBI is a trade mark of Ryobi Limited, and is used under license.
961478301-01

































