ingenuity 12053-ES Snuggity Snug Soothing Vibrations Bassinet

Ity by Ingenuity Snuggity Snug Soothing Vibrations Bassinet
The Ity by Ingenuity Snuggity Snug Soothing Vibrations Bassinet is designed to provide a comfortable sleeping environment for your baby. It features a vibration unit that helps to calm and soothe the baby, and comes with a storage bin for convenience. The bassinet fabric is removable and machine washable for easy cleaning. The product meets the safety standards of EN 1130: 2019 and EN 16890:2017+A1:2021.
Battery Information
The electronic unit requires (1) size C/LR14 (1.5V) alkaline battery (not included). Follow the battery guidelines in the user manual to avoid shortened battery life, battery leaks or ruptures. Dispose of used batteries properly by contacting local authorities for recycling and collection information.
Care and Cleaning
Remove the bassinet fabric from the frame and machine wash separately in cold water, using a mild detergent. Tumble dry on low heat. Wipe the frame of the bassinet with a damp cloth and mild soap. Allow all components to air dry completely before reassembly.
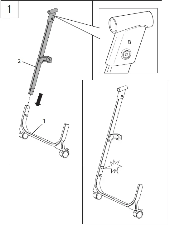
Product Usage Instructions
- Start with the parts listed in the parts list section.
- Connect the two strut bottoms (1) with the cross tube (4) and lock them into place by pressing down on the snap buttons.
- Attach one leg B (2) to each strut bottom (1), making sure to align them with the snap buttons. Press down on the snap buttons to secure them in place.
- Attach one leg A (3) to each strut bottom (1), making sure to align them with the snap buttons. Press down on the snap buttons to secure them in place.
- Attach the two frame middles (5) to the top of each leg A (3), making sure that the snap buttons align. Press down on the snap buttons to secure them in place.
- Attach the two frame ends (6) to the top of each leg B (2), making sure that the snap buttons align. Press down on the snap buttons to secure them in place.
- Place the bassinet fabric (7) onto the frame and secure it in place by tying the ribbons onto the frame.
- Place the mattress (8) onto the bassinet fabric (7).
- Attach the storage bin (9) to the bottom of the bassinet frame, aligning the tabs with the slots and pushing down firmly until they click into place.
- Attach the canopy (10) to the top of the frame by sliding the plastic loops onto the metal tubes.
- Insert one size C/LR14 (1.5V) alkaline battery into the vibration unit (11) and attach it to the bottom of the bassinet frame using the plastic clip and strap.
- Press the button on the vibration unit (11) to activate it.
Note: Never replace original parts with other parts that are not specified for use with this product.
WARNING
Failure to follow these warnings and the instructions could result in serious injury or death. Do not use this product without reading the instructions first.
FALL HAZARD
- To prevent falls, stop using the product when infant:
- begins to push up on hands and knees, OR
- begins to pull up on product sides (approximately 5 months), OR
- begins to roll over OR has reached 15 lbs. (6.8 kg), whichever comes first.
- Stop using the product as soon as the child can sit or kneels or pull itself up.
SUFFOCATION HAZARD – Infants have suffocated
- on added pillows, blankets, and similar soft bedding.
- in gaps between extra padding and the side of the products.
- Only use the mattress sold with this product, do not add a second mattress on this one, suffocation hazards. Do not use more than one mattress in the product. Never place extra padding (pillow, comforter, another mattress, etc) under or beside the infant. Placing additional items in the product may cause suffocation.
- Ensure proper ventilation is maintained in and around the product.
STRANGULATION HAZARD
- Strings can cause strangulation! Never place items with a string around a child’s neck such as hood strings or pacifier cords. Never suspend strings over product or attach strings to toys. Never place product near a window or door where cords from blinds or drapes can strangle a child.
- Do not leave anything in the product or place the product close to another product, which could provide a foothold or present a danger of suffocation or strangulation, e.g. strings, blind/curtain cords, etc.
- Check product before assembly regularly before using it and do not use it if any parts are loose or missing or if there are any signs of damage (broken parts, torn mesh/fabric). Loose parts can trap parts of the body or clothing posing a strangulation risk. Never substitute parts. Contact Kids II if replacement parts or additional instructions are needed.
- To reduce the risk of SIDS, pediatricians recommend healthy infants be placed on their back to sleep, unless otherwise advised by your physician.
- Do not use a sheet designed to fit a full-size crib. If a sheet is used with the pad, only use one specifically designed to fit this mattress.
- Do not move product with child inside.
- Always place on a horizontal floor.
- Product shall not be used without the mattress provided, and the mattress shall not be used without the frame.
- For indoor use only.
- Be aware of the risk of burning cigarettes, open fire and other sources of strong heat, such as electric bar fires, gas fires, etc. in the near vicinity of the product.
- Young children should not be allowed to play unsupervised in the vicinity of this product.
- Ensure wheels are locked in the fixed position when product is not being moved.
- Ensure product is locked in the fixed position before leaving child unattended.
- Keep medication and small items that could choke a child away from the product.
IMPORTANT
- Adult assembly required.
- Care should be taken in unpacking and assembly.
- Examine product frequently for damaged, missing, or loose parts.
- DO NOT use if any parts are missing, damaged, or broken.
- Contact Kids II for replacement parts and instructions if needed. Never substitute parts.
- Check this product for damaged hardware, loose joints, missing parts, or sharp edges before assembly and periodically during use.
Battery Information
The electronic unit requires (1) size C/LR14 (1.5V) alkaline battery (not included).
- CAUTION: Follow the battery guidelines in this section. Otherwise, battery life may be shortened or the batteries may leak or rupture.
- Always keep batteries away from children.
- Do not mix old and new batteries.
- Do not mix alkaline, standard, or rechargeable batteries.
- Only batteries of the same or equivalent type as recommended are to be used.
- Install the batteries so that the polarity of each one matches the markings in the battery compartment.
- Do not short-circuit the batteries.
- Do not store batteries in areas that have extreme temperatures (such as attics, garages, or automobiles).
- Remove exhausted batteries from the battery compartment.
- Never attempt to recharge a battery unless it is specifically marked “rechargeable.”
- Rechargeable batteries are to be removed from the toy before being charged.
- Rechargeable batteries are only to be charged under adult supervision.
- Do not use rechargeable alkaline batteries in a Ni-Cad or Ni-MH battery charger.
- Please use the correct disposal method for batteries.
- Remove batteries before putting the product into storage for a prolonged period of time. Weak batteries cause erratic product operation, including distorted sound, dimming or failed lights, and slow or non-working motorized parts. Because each electrical component requires a different operating voltage, replace the batteries when any function fails to operate.
- Do not dispose of product or batteries in fire, batteries may explode or leak.
This symbol indicates that the product is not to be disposed of in household waste as batteries contain substances that can be damaging to the environment and health. Contact local authority for recycling & collection information.
Care and Cleaning
- Bassinet Fabrics/Storage bin: Remove from frame. Fasten zipper. Machine wash with cold water, gentle cycle. No bleach. Air dry flat. Spot clean with a soft, clean cloth and mild soap.
- Canopy/ Mattress: Spot clean with a soft, clean cloth and mild soap.
Parts List
- (2) Strut Bottom
- (2) Leg B
- (2) Leg A
- (1) Cross Tube
- (2) Frame Middle
- (2) Frame End
- (1) Bassinet Fabric
- (1) Mattress
- (1) Storage Bin
- (1) Canopy
- (1) Vibration Unit

INSTALLATION INSTRUCTIONS
















BATTERY INSTALLATION

Using the Vibration Unit

- Vibration calms and soothes the baby.
- To use the vibration function: Press the button on the Vibration Unit.
Find us on Facebook and Instagram @ingenuitybaby
IS1206216LMANUFACTURED FOR • FABRIQUÉ POUR
©2021 KIDS2, INC. www.kids2.com/help KIDS2, INC. ATLANTA, GA USA 30305 • 1-800-230-8190 IMPORTED BY • IMPORTÉ PARKIDS2 AUSTRALIA PTY LIMITED CASTLE HILL, NSW AUSTRALIA 2154 • (02) 9894-1855KIDS2 SHANGHAI LIMITED Room7401, Shanghai Tower, No.479 Lujiazui Ring Road , Pudong New Area,Shanghai 200120 •+86 21 31025990KIDS2 JAPAN K.K. c/o ARK Outsourcing KK 4-3-5-704, Ebisu, Shibuya-ku, Tokyo, Japan 150-0013 • (03) 5322-6081KIDS2 UK LTD. 725 CAPABILITY GREEN, LUTON, BEDFORDSHIRE, UK, LU1 3LU • +44 01582 816 080KIDS2 EUROPE BV 5 KEIZERS, KEIZERSGRACHT 287, 1016 ED AMSTERDAM, NETHERLANDS • +31 20 2410934 KIDS2 US MÉXICO S.A. DE C.V. • (55) 5292-8488MADE IN CHINA • HECHO EN CHINA • FABRIQUÉ EN CHINE • HERGESTELLT IN CHINA • FABRICADO NA CHINA • PRODOTTO IN CINA

















