LJY-KF250007-01 47.2-in White Modern-
Contemporary Reception Desk
Instruction Manual
LJY-KF250007-01 47.2-in White Modern-Contemporary Reception Desk
THIS INSTRUCTION BOOKLET CONTAINS IMPORTANT SAFETY INFORMATION. PLEASE READ AND KEEP FOR FUTURE REFERENCE.
WARNING
- Unit can tip over causing severe injury or death.
- Anchor unit to stud in wall (if instructed to).
- Do Not allow children to climb on unit.
- Put heavy items on lower shelves or drawers.

Helpful Hints
PEOPLE NEEDED FOR ASSEMBLY: 1 – 2
ESTIMATED ASSEMBLY TIME: 1 HOUR

- Open your item in the area you plan to keep it to avoid excessive heavy lifting.
- Identify, sort and count the parts before attempting assembly.
- Compression dowels are lightly tapped in with a hammer.
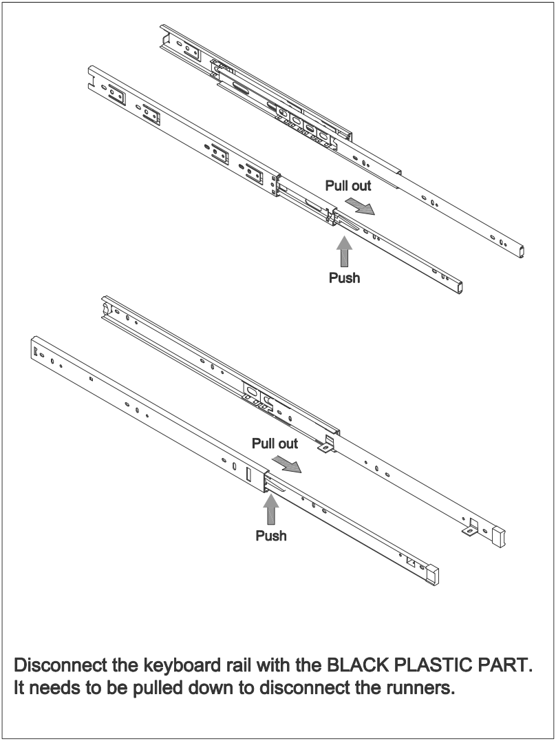
- Slides are labeled with a R (right) and L (left) for proper placement
- Make sure to always face the point on the top of the Cam Lock towards the outer edge.
- Use all the nails provided for the back panel and spread them out equally.
- Back panel must be used to make sure your unit is sturdy.
- Do NOT use harsh chemicals or abrasive cleaners on this item.
- Never push, pull, or drag your furniture.
- Before You Start
- Read through each step carefully and follow the proper order
- Separate and count all your parts and hardware
- Give yourself enough room for the assembly process
- Have the following tools: Hammer
- Caution: If using a power drill or power screwdriver for screwing, please be aware to slow down and stop when screw is tight. Failure to do so may result in stripping the screw.
![]() | ![]() |
![]() | ![]() |
![]() | ![]() |
![]() | ![]() |
![]() | ![]() |
![]() | ![]() |
![]() | ![]() |
![]() | ![]() |
![]() | ![]() |
![]() | ![]() |
![]() | ![]() |









































