INSTRUCTION MANUAL
Model: HLC-1839
ASSEMBLY GUIDE
Congratulations, you are now the owner of a brand new ergonomic chair!
To best enjoy comfort of the chair, you have to put it together first! This assembly guide will take you through the assembly process. To make sure the assembly goes well, please follow the instructions, and especially the important safety information, It is possible to assemble the chair on your own, but it is recommended to have a_second_person to make it easier and safer, Please check if there are any missing parts from the package before starting. If there is any issue, please don’t hesitate to drop us an email and we’ll help you out ASAP.
If you run into any difficulty when assembling the chair, remember to check out the assembly video to see if you’ve missed anything. If you’re unable to resolve the proble from, just send us an email and our support team will assist you.
https://qygjuser.s3.us-east-2.amazonaws.com/HL/16%E3%80%81HLC-1839-BLK.mp4
WARNING
To ensure proper assembly, please follow all steps and use all parts. Failure to follow this warning can result in serious injury to yourself or others.
Package List
- Without further ado, we kindly suggest you to list all parts needed for the chair first.

Assembly Instruction
- Step 1:
Turn the Base (7) upside down, then insert Base Legs (8) one by one to the Base.
Next, screw ten Bolts (9) into the pre-drilled holes with the Wrench (14) to attach the base and the legs.

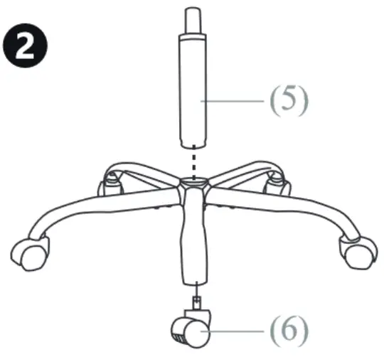
- Step 2:
Press the Casters (6) into the holes at the end of each Base Leg. And then insert the Gas Lift (5) to the base.

- Step 3:
Turn the Seat Cushion (2) upside down and align the hole position of the Armrest (3) with the pre-drilled hole position under the Seat Cushion.
Attach the Annrest (3) to the Seat Cushion (2) with Four Bolts (12) and Four washers (13), using the Wrench (14).

NOTE: Do not tighten all the bolts to 100%, make sure it have space to adjust in the next steps.
The installation of the other side Armrest (3) is the same.
Note 1: The “Front” mark on the Armrests and the “Front” mark on the Seat Cushion should be in the same direction.
Note 2: Armrests are labeled with an “L” (left) or “R” (right) to show which sides they should be placed on.
- Step 4:
Insert the Backrest (1) and attach the Backrest while aligning the holes on the Armrest (3). Attach two Bolts (10) with the Wrench (14).

- Step 5:
Using the Wrench (14) to fully tighten all the Bolts (12) at this step.

- Step 6:
Align the Mechanism (4) over the pre-drilled holes underneath the Seat Cushion (2). make sure the front of the mechanism is facing the front of the Seat.
Attach the Mechanism to the Seat with four Bolts (11 ). and tighten all bolts with the Wrench (14).

- Step 7:
Align the hole at bottom of the seat with the Gas Lift (5), put the body of the chair on the Gas Lift.

Instructions For Use
- Seat Height: Paddle-shaped lever on the right side
At the proper height, your feet should rest flat on the floor. - Tilt Tension: Long stem under the seat with knob
* Set the tilt tension to control the resistance you feel when leaning back. - Operating the rocking function
To let your chair tilt back. pull the control handle out.
To stop your chair from tilting. sit forward, then push the control handle in.
Safety And Maintenance
- Do not stand on the chair. Do not use the chair as stepladder.
- Use this product for seating one person at a time.
- Do not use the chair unless all bolts and screws are firmlv secured.
- Avoid contact with sharp objects to prevent puncturing the fabric.
- Every 6 months, check all bolts and screws to ensure they are tight.
- To clean, spot clean only using a damp towel and mild cleaner, first test on a small. unseen area of fabric.
- Chair weight limit not to exceed 250 lbs.
Safety Information

Limited Warranty
The producer promises to repair or replace any chair that is found to be defective in material or workmanship within one( 1) and year from the date of original purchase so long as you, the original purchaser, still owns it.
This is your sole and exclusive remedy. This warranty is subject to the provisions below.
EXCLUSIONS:
This warranty does not apply and no other warranty applies to:
- Normal wear and tear, which are to be expected over the course of ownership.
- Misuse, abuse or excessive use of the product.
- Modifications or attachments to the product that are not approved by the manufacturer.
- Products that were not installed, used, or maintained in accordance with product instructions and warnings.
- Products used for rental or commercial purposes.
- Damage caused by the carrier in-transit is handled under separate terms.
SEATING USAGE:
Normal use for seating is identified as the equivalent of a single shift, forty- (40) hour workweek. To the extent that a seating product is used in a manner exceeding this, the applicable warranty period will be reduced in a pro-rata manner.
Some retailers might have custom models imported direct from the factory and therefore are not supported by our local service team because we don’t have the correct parts, please contact your retailer directly for support. If you have any questions about that we will be happy to assist and identify those items.
RETURN POLICY:
We adopt a 30 days return policy which means that all products purchased on this website mav be returned to us within the timeframe. You need to contact us within 30 days after the product(s) came into your possession and the product(s) must be returned to us without any undue delays.
Returned products must be returned in the same condition as they were sent and they must be sent in its original packaging.
If the product is not faulty. ( i.e. if you changed your mind or if you are unhappy with the product for some other reason), the cost of shipping will all on you. And it is your responsibility that the package arrives safely to us so we recommend that you use a courier service where it is possible to track the shipment.
If the product is faulty when you receive it please contact us and we will help you out (see more information under Manufacturer Warranty).
We reserve the right to give a partial refund in cases when the product( s) is not in an unused condition, is damaged or have missing parts not due to our error.
HOW RETURNS WORK
Contact us through the contact form on our website and attach the invoice to the message as a proof of purchase. And please also write the reason for return.
We will then get back to you as soon as possible with information on where to send the product(s).
As soon as we have received the product(s) and made an inspection we will inform you of our decision.
If a refund is approved we will automatically credit the purchase to your credit card or original method of payment.
If the product(s) is damaged, not in its original condition or missing parts we will inform you if you are eligible for a partial refund. This is decided from case to case depending on the severity of the damages or what parts are mssmng.
At the proper height, your feet should rest flat on the floor.
* Set the tilt tension to control the resistance you feel when leaning back.
To let your chair tilt back. pull the control handle out.

















