HATOR Arc S Office Chair

G-CHAI RS Contents

G-CHAIRS Assembly Instructions
WARNING!
This furniture contains small parts that present a choking hazard for children under 3 years age. These parts are for adult assembly only and should be permanently affixed to the furniture. Any unused parts should be stored or discarded properly.
- Insert the chair wheels into the chair base by pressing the stud firmly into the holes on the bottom of the base.
- Install the gas lift and gas lift cover into the top of the chair base by placing the larger end into the hole in the center of the chair base. Place the gas lift cover over the gas lift with the larger opening facing down.

- Place the completed chair base assembly aside.
- Chair seat assembly.
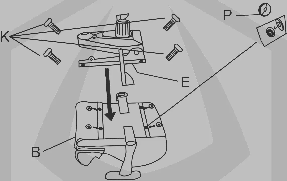
A. Remove the four screws from the seat cushion bottom using the MB Allen key provided. Put an additional Oring seals between the chair seat’s part and the multimechanism to avoid the creaks.
B. Using the four screws from the seat cushion bottom, attach the seat control base to the seat cushion. Since all screw compounds have weakening properties, with time, we recommends to tight all screws and add some lubricants to the all moving parts time to time.
- Place the seat assembly onto the multi-functional seat control base by inserting the gas lift cylinder into the center hole in the seat control base. Make sure the seat assembly is firmly pressed down into place before using the chair.

- Seat back to seat assembly.
A. Remove the screws from the seat back using the M8 Allen key provided.
B. WARNING! Start with the right side of the chair with the recline mechanism. It is much easier to start on this side as the mount point is fixed in place. Do not tighten the screws down completely until you have both sides (all four bolts) started in the seat back.
C. Use the screws taken from the seat back to attach the seat cushion and the seat back together.
- Attach the hinge covers onto the hinge brackets with the screws using the Philips head on the end of the Allen key. Insert the rubber plugs once the hinge covers are fastened.

Additional Features
- Attach Neck Pillow.
The neck pillow has a snap attachment that allows the pillow to be installed in two different ways. You can slide the band over the top of the headrest for taller placement of the pillow or attach the pillow through the holes in the neck area for a lower placement of the pillow. - Attach Lumbar Pillow.
A. The straps for the lumbar pillow will need to be run in two different directions.
B. One set will go through the opening between seat cushion and seat back.
C. The top will be routed through the holes in the shoulder area.
D. Once both sets of straps have been routed, they can be snapped together on the backside of the chair.
E. Slide the lumbar pillow up or down to suit your ergonomic needs.
User manual
WARNING!
Improper use of this chair may cause damage to this chair or result in personal injury. Please use this chair in a non-abusive manner.
Adjustment levers
- Height adjustment lever
To lower the height of the chair, pull the lever up while weight is applied on the chair. To increase the height, pull the lever up while the chair is empty. - Tilt tension knob
A. Rotate this knob to increase(+) or decrease(-) the tilt tension.
B. WARNING! If the chair tilts easily, you may want to increase the tension. Alternatively, decrease the tension if it you find it too hard to lean back while sitting on the chair. - Recline lever
A. Pull this lever up to recline the seat back forward or backward.
B. WARNING! Do not apply pressure to the seat back prior to pulling the recline lever. The sudden shift of weight may cause the chair to become unstable which may cause damage to the chair and/or result in personal injury. - 4D armrests
A. Height adjustment tab
B. Press button «B» and pull the armrest leftwards or rightwards
C. Forward/backward slide button
D. Swivel
Customer Support
Supplier/ Importer in Ukraine: TOV«NVF«ELETEK LTD»»
Address: 33a., Dehtyarivska st., Kiyv, Ukraine, 03057
tel/ fax: +38 (44) 538-15-16 +38 044 383 50 90
Warranty period: 24 months
2021 Hater. All rights reserved. All registered trademarks are property of their respective owners.
www.hator.gg























