Model Number: HG61X0741/HG61Y0742
60×80 Inch Queen Metal Platform Bed Frame
User Manual
HG61Y0742 14 Inch High Full Size Metal Bed Frame W/Clips
Dear Customer,
Thank you for your purchase.
JAXPETY is committed to providing affordable high-quality pet products worldwide.
Each piece is made with the respect for human and the environment.
Thousands of families use JAXPETY products as a home fashion.
When you receive the product, please make sure that all the parts are intact.
Then please browse the entire installation manual before assembly.
If problems occur unsatisfactorily as follows:
a. The outer box is damaged.
b. The product is damaged / bent / cracked while you open the box.
c. The parts / accessories / assembly tools are missing.
d. The product is hard to assemble.
e. The instructions are not clear and can not be referred to.
f. The product has functional problems.
g. Other aspects that you are not satisfied with.
Please do not hesitate to contact us for help (Be sure to mark the SKU NUMBER, e.g., TY91S0320, and the TRACKING NUMBER).
Our JAXPETY team with factory direct after-sales service will reply within 24 hours and will do our best to resolve the problem for you. Our services are available at any time.
For more information, please browse https://www.jaxpety.com/
Sincerely,
JAXPETY Team
JAXPETY Seed in, Home Blossom out!
You need
- Tools required
Double-headed screwdriver is required for the assembly of this product. (not included)
Power tools should not be used to assemble this product. - 2 persons needed


Hardware List

PRODUCT ASSEMBLY

Check the package contents before getting started !
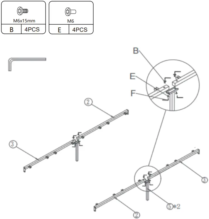
STEP 1
Connect part 2 and part 3 through part 5, using bolt B, Nut E with Allen key F
STEP 2
Connect part 1 and part 2/3/5 together, using bolt A and B, Nut E with Allen key F
STEP 3

Connect part 4 and part 2/3, using bolt C with Allen key F
STEP 4
Connect part 7 and part 1/4 together, using bolt B and D, Nut E with Allen key F
STEP 5

Connect part 6 and part 7 together, using bolt B, Nut E with Allen key F
Contact Us!
Do NOT return this item. Contact our tiredly customer service department for help first
Before You Start
- Read each step carefully before starting. It is very important to ensure each step followed in correct order. otherwise assembly difficulties may occur.
- Most of parts are labeled or stamped on the raw edges. Have a check to make sure all parts are included .
- Work in a spacious a rea. preferably on a carpet close to where the unit will be used.
- Keep the handrolls close at hand, Do not use power tools to assemble your fumitory, They may scratch or damage the parts.


Double-headed screwdriver is required for the assembly of this product. (not included)
Power tools should not be used to assemble this product.


















