
Outdoor Camera 1080p
Instructions
YI Outdoor Camera 1080p Instructions
Official Configuration

Product Configuration

Basic instructions
- First of all pair your camera with your phone app
- Before mounting outside, if you want to pierce through or route along the wall, you should plan the route of the cable from the outlet to the camera.
- Keep closer to your router

- Download YI App
a. Scan QR code to download YI app
b. Open the app and register for YI account
c. If you already have YI account, you can log in directly, add the camera according to prompt voice
d. Follow the instructions and prompt steps of app interface
- Add your camera to YI account
After you log in YI app, and enter the interface of choosing device, you are in the process of pairing. Please wait until yellow light blinks and says ”waiting to connect,” click “the prompt voice has been heard”. After you input SSID and WIFI password, use your camera lens to scan the QR code. When QR code scan is successful, click ”next step” to finish the pairing process. When you hear “pairing is successful”, you can begin to use.
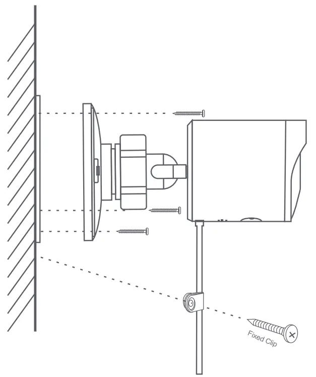
Install devices
- Use screws to fix camera base in spot. Drill directly towards the hole of installation stickers and push in extension screws. Aim camera base to installation stickers and push in screws. If you mount the device on wooden wall, you can directly push in screws to fix.
- Use clip to fasten power cord, keep in mind that don’t pull cable too tightly.

- Bring your camera to the mounting spot.
- Ensure your camera can connect to WIFI in the spot.
- If you pair your camera with your phone successfully before, the camera will connect to WIFI automatically when powered on.
- You can preview the pictures now. If you cannot see the pictures, it maybe caused by poor network, you need to adjust router position.
- When previewing pictures, you should adjust visual angle of the camera and lock universe ball tightly.

Matters need attention when mounting

Basic parameters
- Maximum resolution/pixel: 1920*1080
- Lens: 110°wide angle
- Audio: built-in MIC/speaker
- Video compression: H.264 High Profile
- Photographic enhancement: 3D digital noise reduction, distortion correction
- Alarm mode: Motion detection
- Waterproof grade: IP65
- Day to night conversion: IRCUT automatic switchover
- Support platform: Andriod 4.1 or later/IOS 8.0 or later
- Wireless encryption: WEP/WPA/WPA2
- Length of USB cable: 3 meter
- Power supply: DC5V1A
YI statement
Shanghai YI Technology Co., Ltd. hereby makes a statement that: In order to improve customer experience, products provided by the company is classified into China mainland version and international version. Products of China mainland version are only limited to be used in China mainland, while overseas use needs to purchase products of international version of our company from overseas dealers specified by our company or overseas sales network self-operated by our company. For problems caused by use of incorrect version, our company shall not take any responsibility. Products, applications, functions and interfaces etc. mentioned in this manual may be improved or updated after sales, when actually used product and related applications are different from this manual, please focus instructions in official website of our company: Chinese official website: www.xiaoyi.com International official website: www.yitechnology.com, no further notification about update of this manual will be sent to individuals.
This device implies wit Part 15 of the FCC Rules / Industry Canada icence—exempt RSS standard(s). Operation is subject to the following two calcitions: (1) this device may not cause harmki interference, and (2) this device must accept any deference received, inobing deference that may cause undesired operation.
Changes or modifications not expressly approved by the party responsible for compliance could void the user’s authority to operate the equipment.
This equipment has been tested and found to comply with the limits for a Class B digital device, pursuant to part 15 of the FCC Rules. These limits are designed to provide reasonable protection against harmful interference in a residential installation. This equipment generates uses and can radiate radio frequency energy and, if not installed and used in accordance with the instructions, may cause harmful interference to radio communications. However, there is no guarantee that interference will not occur in a particular installation. If this equipment does cause harmful interference to radio or television reception, which can be determined by turning the equipment off and on, the user is encouraged to try to correct the interference by one or more of the following measures:
- Reorient or relocate the receiving antenna.
- Increase the separation between the equipment and receiver.
- Connect the equipment into an outlet on a circuit different from that to which the receiver is connected.
- Consult the dealer or an experienced radio/TV technician for help.
Under Industry Canada regJations, this radio transnitter may only operate usng an antenna of a type and maidmum (a lesser) gain approved for the transmitter by Industry Canada. To reduce potential redo hterference to other users, The antenna type and is gain should be so chosen that the ectivalent isotropically radiated per (e.i.r.p.) is not more than that necessary for successful anmunicalion.
MPE Requirements To satisfy FCC / IC RF exposure requirements, a separation distance of 20 an a more shoad be maintained between the antenna of this device and persons duriv device operabatTo ensue compliance, operations at closer than this cistance is not recommended.
FCC ID: 2AFIB-YHS3017
Thank you for choosing the YI Outdoor Home Camera
please read the instructions carefully before using the product and keep it in good condition.
Manufacturer:
Shanghai Xiaoyi Technology Co.,Ltd
Website: www.yitechnology.com
Service Telephone: +86-21-6765 6722
E-mail: [email protected]
Address: 6F,Building E, No.2889 Jinke Road,Pudong
District,Shanghai,China






















