AP850 Patio Speaker
Installation Manual
AP850 Patio Speaker
Thank you for giving OSD AUDIO the chance to earn your business! We are confident you will find that OSD offers an outstanding combination of performance and value in everything we make. To ensure you get the most out of your new patio speakers, please take a moment to read this manual before you get started.
Installing Speakers
These weather resistant patio speakers are manufactured to resist a variety of weather condition. The most ideal place to install these speakers is the undersides of most eaves and overhangs as they provide the best protection. Like all speakers, they sound the best when placed no more than seven feet apart from each other, and slightly higher than ear level. If the speakers are more than seven feet apart, toe them in toward the center of the listening area.
These speakers are not waterproof and cannot be submerged under water.
Placing Speakers
If your application requires the speaker to be mounted, please follow these directions. Using the hardware supplied, mount the bracket first. Attach the speakers to the brackets using the large plastic knobs supplied. Never mount a speaker on a wall made of unreinforced drywall or plasterboard. If you are unsure, consult a professional contractor. (See Diagram 1)
Painting the grilles
The metal grilles may also be painted. Use very thin paint (5:1). It will be easier to paint the grilles while it is off the speaker. Avoid plugging up the holes with excess paint. First remove the grille fom the speaker using spray paint lightly go over the front of the grille and then go over the back of the grille. Two coats may be nessesary for desired look.
Diagram 1
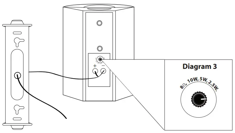
When using a 70V amplifier output, please select the appropriate power setting through the knob switch. When connecting the speakers, it is very important to observe the correct polarity. This means that the wire attached to the (+), red, or positive terminals on one component must be attached to the (+), red, or positive terminal on the corresponding component speaker output terminals. Similarly, the (-), Black, Negative or ground terminals must connect to the respective (-), Black, Negative, or ground terminals. This is easy to do by locating the color stripes that appears on most wire.
Diagram 2
Mounting
To install the bracket on the speaker. Screw the bracket knobs into the cabinet. Point the speaker toward the listening area. Once the direction of the speaker has been determined tighten the bracket knobs securely. (See Diagram 2)
WIRING
Connect the speaker cable to the speaker cable terminals, matching the proper polarity with your amplifier, + to + (red) and – to – (black). Make sure to connect the right channel to the right speaker and the left channel to the left speaker . Either channel may be attached to either terminals set, however, be sure that polarity ( + and -) is correct on each channel or the performance of the speaker will be seriously affected as one channel will cancel out the other.
L/R Pair Speaker
Single – Stereo
70 Volts consideration (Applicable to only 70V tap speakers)
The 70V transformer offers you the ability to daisy chain multiple number of speakers in paralell. In doing so, you would simply connect 1 pair of outputs to each speaker and daisy chain to subsequential speaker/s. If you don’t intend to daisy chain the speakers, set the default setting to 8 ohms. (See Diagram 3)
Warranty & Repair
All OSD AUDIO speaker products have (1) year Limited Warranty against defects in materials and workmanship. Proof of purchase must accompany all claims. During the warranty period OSD AUDIO will replace any defective part and correct any defect in workmanship without charge for either parts or labor
OSD AUDIO may replace returned speakers with a product of equal value and performance. In such cases, some modifications to the mounting may be necessary and are not OSD AUDIO’s responsibility.
For this warranty to apply, the unit must be installed and used according to its written instructions. If necessary, repairs must be performed by OSD AUDIO. The unit must be returned to OSD AUDIO at the owner’s expense and with prior written permission. Accidental damage and shipping damage are not considered defects, nor is damaged resulting from abuse or from servicing performed by an agency or person not specifically authorized in writing by OSD Audio
OSD AUDIO sells products only through authorized dealers and distributors to ensure that customers obtain proper support and service. Any OSD AUDIO product purchased from an unauthorized dealer or other source, including retailers, mail over dealers and online sellers will not be honored or serviced under existing OSD AUDIO warranty policy. Any sale of product by an unauthorized source or other manner not authorized by OSD AUDIO shall void the warranty on the applicable product.
Damage to or destruction of components due to application of excessive power voids the warranty on those parts. In these cases, repairs will be made on the basis of the retail value of the parts and labor. To return for repairs, you must email customer service at [email protected] for a Returned Merchandise Authorization (RMA) number# then the unit must be shipped to OSD AUDIO at the owner’s expense, along with a note explaining the nature of service required.
Be sure to pack the speaker(s) in a corrugated container with at least 3 inches of resilient material to protect the unit from damage in transit.
This Warranty Does Not Cover:
Damage caused by abuse, accident, misuse, negligence, or improper operation (installation)
Any products that have been altered or modified
Any product whose identifying number of decal, serial #, etc. has been altered, defaced or removed
Normal wear and maintenance.
OSD Audio
Brea, CA
osdaudio.com


















