
HUVUDSAKLIG

WELCOME & CONGRATULATIONS

Please refer to the last page of this manual for the full list of IKEA appointed After Sales Service Provider and relative national phone numbers.
Please record your model and serial numbers below for reference.
Purchase Date ____
Model Number ___
Serial Number ____
NOTE: Please attach sales receipt here for future reference.
PRECAUTIONS TO AVOID POSSIBLE EXPOSURE
TO EXCESSIVE MICROWAVE ENERGY
(a) Do not attempt to operate this oven with the door open since an open-door operation can result in harmful exposure to microwave energy. It is important not to defeat or tamper with the safety interlocks.
(b) Do not place any object between the oven front face and the door or allow soil or cleaner residue to accumulate on sealing surfaces.
(c) Do not operate the oven if it is damaged. It is particularly important that the oven door close properly and that there is no damage to the: (1) door (bent), (2) hinges and latches (broken or loosened), (3) door seals and sealing surfaces.
(d) The oven should not be adjusted or repaired by anyone except properly qualified service personnel.
BEFORE YOU BEGIN
• IMPORTANT – Save these instructions for local inspector’s use.
• IMPORTANT – Observe all governing codes and ordinances.
• Note to Installer – Be sure to leave these instructions with the Consumer.
• Note to Consumer – Keep these instructions for future reference.
• Skill level – Installation of this appliance requires basic mechanical and electrical skills.
Read these instructions completely and carefully.
• Proper installation is the responsibility of the installer.
• Product failure due to improper installation is not covered under the Warranty.
• Unplug the microwave oven before attempting the installation of this kit.
• Because the kit includes metal parts, caution should be used in handling and installation to avoid the possibility of injury.
• Do not remove permanently affixed labels, warnings, or plates from the product. This may void the warranty.
FOR YOUR SAFETY:
WARNING – Before beginning the installation, switch power off at the service panel and lockout to prevent being switched on accidentally.
When the service cannot be locked, securely fasten a prominent warning device, such as a tag, to the service panel.
Disconnect from power supply before service.
IMPORTANT – PLEASE READ AND FOLLOW
THIS BUILT-IN KIT IS DESIGNED FOR USE ONLY WITH IKEA HUVUDSAKLIG MICROWAVE OVENS SPECIFYING BUILT-IN KIT IMPORTANT:
IMPORTANT Before installing the exhaust duct, confirm the floor is level.
The level bubble should be equal distance from level guidelines.
QUESTIONS?
Service Call : (833) 337-4006
READ CAREFULLY.
KEEP THESE INSTRUCTIONS.
ASSEMBLY INSTRUCTIONS
PARTS INCLUDED IN THE KIT
- Front Frame Assembly- QTY 1
- Exhaust Duct – QTY 1 Bottom Mounting R ail – QTY 2
- Screw A – QTY 11+3 extra
- Screw B – QTY 4+2 extra
CHOOSING A LOCATION FOR YOUR MICROWAVE OVEN IF BUILT-IN
Built-In Trim Kit allows for the installation of microwaves listed below to be built into a cabinet or wall by itself or over an electric wall oven*.
Microwave Models:
104.621.61 104.660.03
904.621.62 904.660.04
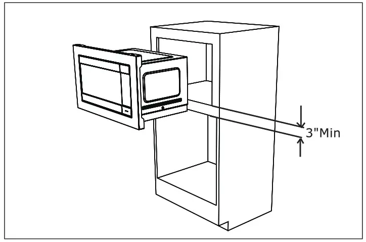
See Illustration 1 for proper location and when building in above a wall oven. Carefully follow both the wall oven assembly instructions and IKEA ’s Built-in Kit instructions. If building over a wall oven, be sure the clearance between the wall oven and the microwave oven is a minimum of 3 inches.See illustration 2.
*NOTE: Trim Kit and a microwave can only be builtin over an electric self-clean or non selfclean single cavity wall oven.
CABINET OR WALL CUTOUT
Cutout Dimensions( See illustration 3)
Height (A)
Minimum 16 3/4″ (42.5 cm)
Maximum 17″ (43.2 cm)
Width (B)
Minimum 24 3/4″ (62.9 cm)
Maximum 25″ ( 63.5 cm)
Depth (C)
Minimum 20″ (50.8 cm)
IMPORTANT:
Before installing the exhaust duct, confirm the floor is level.
The level bubble should be equal distance from level guidelines.

Illustration 1
Illustration 2
| Trim Kit Overall Dimensions | |
| Height | 18″ (458mm) |
| Width | 30″ (762mm) |
| Depth | 1 1/2″ (38.9cm) |
ASSEMBLY INSTRUCTIONS

Illustration 3
ELECTRICAL OUTLET LOCATION
The outlet should NOT be in the shaded area as indicated in Illustration 3
NOTE 1:
The floor of the opening should be constructed of plywood strong enough to support the weight of the oven and floor load (approximately 100 pounds). The floor should be level for the proper operation of the oven. Be sure to check the local building code as it may require that the opening be enclosed with a side, ceiling, and rear partition. The proper functioning of the oven does not require an enclosure.

Illustration 4
EXHAUST DUCT ASSEMBLY
1. Draw a Central Line on the floor. Place the Exhaust Duct in the opening, When the Exhaust Duct Assembly is in the opening correctly, the Center Line is in the middle of the Exhaust Duct Assembly. See Illustration .4
2. Secure the Exhaust Duct Assembly with the three screws A.
IMPORTANT: Secure screws in the outer hole. 3 pcs are needed for exhaust duct assembly
IMPORTANT:
Before installing the exhaust duct, confirm the floor is level.
The level bubble should be equal distance from level guidelines.
Bottom Mounting Rail
Turn the microwave upside down so you are looking at the oven bottom. Secure the bottom Mounting Rail on the oven with four SCREWS A. See Illustration 5. NOTE: Please make sure to align the holes(marked with “36”) 6 of the bottom mounting rail and the holes (marked with “36”) of the microwave oven’s bottom plate.

Illustration 5

OVEN INSTALLATION
- Place the oven adjacent to the wall or cabinet opening. Plug the power cord into the electrical outlet.
- Carefully guide the assembled oven into the prepared opening. Slide the oven on the Exhaust Duct Assembly. See Illustration 6
- Secure the Exhaust Duct Assembly with the four screws A.

Illustration 6
FRAME INSTALLATION
1. Position the FRAME ASSEMBLY to be square with the oven. Carefully place the FRAME ASSEMBLY on the oven. See Illustration 7.
2. Check that it is level and then secure with two SCREWS B. Secure the bottom portion of the FRAME ASSEMBLY with the two remaining SCREWS B. See Illustration 8.

Illustration 7

Illustration 8
IKEA LIMITED GUARANTEE
How long is the IKEA guarantee valid?
This guarantee is valid for five (5) years from the original date of purchase of Your appliance at IKEA, unless the appliance is named LAGAN or TILLREDA in which case two (2) years of guarantee apply. The original sales receipt is required as proof of purchase. If service work is carried out under guarantee, this will not extend the guarantee period for the appliance.
Who will execute the service?
IKEA “Service Provider” will provide the service through its own service operations or authorized service partner network.
What does this guarantee cover?
The guarantee covers faults of the appliance which have been caused by faulty construction or material faults from the date of purchase from IKEA. This guarantee applies to domestic use only. Some exceptions not guaranteed are specified under the headline “What is not covered under this guarantee?” Within the guarantee period, the costs to remedy the fault (e.g., repairs, parts, labor, and travel) will be covered, provided that the appliance is accessible for repair without special expenditure. On these conditions the local regulations are applicable. Replaced parts become the property of IKEA.
What will IKEA do to correct the problem?
IKEA appointed Service Provider will examine the product and decide, at its sole discretion, if it is covered under this guarantee. If considered covered, IKEA Service Provider or its authorized service partner through its own service operations, will then, at its sole discretion, either repair the defective product or replace it with the same or a comparable product.
What is not covered under this guarantee?
- Normal wear and tear.
- Deliberate or negligent damage, damage caused by failure to observe operating instructions, incorrect installation or by connection to the wrong voltage, damage caused by a chemical or electrochemical reaction, rust, corrosion, or water damage including but not limited to damage caused by excessive lime in the water supply, damage caused by abnormal environmental conditions.
- Consumable parts including batteries and lamps.
- Non-functional and decorative parts do not affect the normal use of the appliance, including any scratches and possible color differences.
- Accidental damage caused by foreign objects or substances and cleaning or unblocking of filters, drainage systems, or soap drawers.
- Damage to the following parts: ceramic glass, accessories, crockery and cutlery baskets, feed and drainage pipes, seals, lamps and lamp covers, screens, knobs, casings, and parts of casings. Unless such damages can be proved to have been caused by production faults.
- Cases where no fault could be found during a technician’s visit.
- Repairs not carried out by our appointed service providers and/or an authorized service contractual partner or where non-original parts have been used.
- Repairs caused by installation which is faulty or not according to specification.
- The use of the appliance in a non-domestic environment i.e. professional use.
- Transportation damages. If a customer transports the product to his home or another address, IKEA is not liable for any damage that may occur during transport. However, if IKEA delivers the product to the customer’s delivery address, then damage to the product that occurs during this delivery will be covered by IKEA.
- Cost for carrying out the initial installation of the IKEA appliance. However, if an IKEA appointed Service Provider or its authorized service partner repairs or replaces the appliance under the terms of this guarantee, the appointed Service Provider or its authorized service partner will reinstall the repaired appliance or install the replacement, if necessary.
How country law applies
The IKEA guarantee gives you specifi c legal rights, and you may also have other rights which vary from state to state or jurisdiction to jurisdiction. However, these conditions do not limit in any way consumer rights described in the local legislation.
Area of validity
For appliances that are purchased in the United States or Canada, or moved to one of the mentioned countries, the services will be provided in the framework of the guarantee conditions normal in the specifi ed country.
An obligation to carry out services in the framework of the guarantee exists only if the appliance complies and is installed in accordance with: – the technical specifi cations of the country in which the guarantee claim is made; – the Assembly Instructions and User Manual Safety Information. The dedicated AFTER-SALES for IKEA appliances Please don’t hesitate to contact IKEA appointed After Sales Service Provider to:
• make a service request under this guarantee;
• ask for clarifications on the installation of the IKEA appliance in the dedicated IKEA kitchen furniture;
• ask for clarification on functions of IKEA appliances.

To ensure that we provide you with the best assistance, please read carefully the Assembly Instructions and/or the User Manual before contacting us.
How to reach us if you need our service
In order to provide you a quicker service, we recommend using the specific phone numbers listed in this manual. Always refer to the numbers listed in the booklet of the specific appliance you need assistance with. Please also always refer to the IKEA article number (8 digit code) placed on the rating plate of your appliance.
SAVE THE SALES RECEIPT!
It is your proof of purchase and required for the guarantee to apply. The sales receipt also reports the IKEA name and article number (8 digit code) for each of the appliances you have purchased.
Do you need extra help?
For any additional questions not related to After Sales of your appliances please contact your nearest IKEA store call center. We recommend you read the appliance documentation carefully before contacting us.


















