IKEA ISANDE User Manual

Safety information
Before the installation and use of the appliance, carefully read the supplied instructions. The manufacturer is not responsible for any injuries or damage that are the result of incorrect installation or usage. Always keep the instructions in a safe and accessible location for future reference.
Children and vulnerable people safety
- This appliance can be used by children aged from 8 years and above and persons with reduced physical, sensory or mental capabilities or lack of experience and knowledge if they have been given supervision or instruction concerning the use of the appliance in a safe way and understand the hazards involved.
- Children aged from 3 to 8 years are allowed to load and unload the appliance provided that they have been properly instructed.
- This appliance may be used by persons with very extensive and complex disabilities provided that they have been properly instructed.
- Children of less than 3 years of age should be kept away from the appliance unless continuously supervised.
- Do not let children play with the appliance.
- Children shall not carry out cleaning and user maintenance of the appliance without supervision.
- Keep all packaging away from children and dispose of it appropriately.
General Safety
- This appliance is intended to be used in household and similar applications such as:
- Farm houses; staff kitchen areas in shops, offices and other
working environments; - By clients in hotels, motels, bed and breakfast and other
residential type environments.
- Farm houses; staff kitchen areas in shops, offices and other
- To avoid contamination of food respect the following instructions:
- do not open the door for long periods;
- clean regularly surfaces that can come in contact with food
and accessible drainage systems; - store raw meat and fish in suitable containers in the refrigerator, so that it is not in contact with or drip onto other food.
- WARNING: Keep ventilation openings, in the appliance enclosure or in the built-in structure, clear of obstruction.
- WARNING: Do not use mechanical devices or other means to accelerate the defrosting process, other than those recommended by the manufacturer.
- WARNING: Do not damage the refrigerant circuit.
- WARNING: Do not use electrical appliances inside the food storage compartments of the appliance, unless they are of the type recommended by the manufacturer.
- Do not use water spray and steam to clean the appliance.
- Clean the appliance with a moist soft cloth. Only use neutral detergents. Do not use abrasive products, abrasive cleaning pads, solvents or metal objects.
- When the appliance is empty for long period, switch it off, defrost, clean, dry and leave the door open to prevent mould from developing within the appliance.
- Do not store explosive substances such as aerosol cans with a flammable propellant in this appliance.
- If the supply cord is damaged, it must be replaced by the manufacturer, its Authorised Service Centre or similarly qualified persons in order to avoid a hazard.
Safety instructions
Installation
Warning! Only a qualified person must install this appliance.
• Remove all the packaging.
• Do not install or use a damaged appliance.
• Do not use the appliance before installing it in the built-in structure due to safety manner.
• Follow the installation instructions supplied with the appliance.
• Always take care when moving the appliance as it is heavy. Always use safety gloves and enclosed footwear.
• Make sure the air can circulate around the appliance.
• At first installation or after reversing the door wait at least 4 hours before connecting the appliance to the power supply. This is to allow the oil to flow back in the compressor.
• Before carrying out any operations on the appliance (e.g. reversing the door), remove the plug from the power socket.
• Do not install the appliance close to radiators or cookers, ovens or hobs.
• Do not expose the appliance to the rain.
• Do not install the appliance where there is direct sunlight.
• Do not install this appliance in areas that are too humid or too cold.
• When you move the appliance, lift it by the front edge to avoid scratching the floor.
• The appliance contains a bag of desiccant. This is not a toy. This is not food. Please dispose of it immediately.
Electrical connection
Warning! Risk of fire and electric shock.
Warning! When positioning the appliance, ensure the supply cord is not trapped or damaged.
Warning! Do not use multi-plug adapters and extension cables.
- The appliance must be earthed.
- Make sure that the parameters on the rating plate are compatible with the electrical ratings of the mains power supply.
- Always use a correctly installed shockproof socket.
- Make sure not to cause damage to the electrical components (e.g. mains plug, mains cable, compressor). Contact the Authorised Service Centre or an electrician to change the electrical components.
- The mains cable must stay below the level of the mains plug.
- Connect the mains plug to the mains socket only at the end of the installation. Make sure that there is access to the mains plug after the installation.
- Do not pull the mains cable to disconnect the appliance. Always pull the mains plug.
Use
Warning! Risk of injury, burns, electric shock or fire.
The appliance contains flammable gas, isobutane (R600a), a natural gas with a high level of environmental compatibility. Be careful not to cause damage to the refrigerant circuit containing isobutane.
- Do not change the specification of this appliance.
- Do not put electrical appliances (e.g. ice cream makers) in the appliance unless they are stated applicable by the manufacturer.
- If damage occurs to the refrigerant circuit, make sure that there are no flames and sources of ignition in the room. Ventilate the room.
- Do not let hot items to touch the plastic parts of the appliance.
- Do not put soft drinks in the freezer compartment. This will create pressure on the drink container.
- Do not store flammable gas and liquid in the appliance.
- Do not put flammable products or items that are wet with flammable products in, near or on the appliance.
- Do not touch the compressor or the condenser. They are hot.
- Do not remove or touch items from the freezer compartment if your hands are wet or damp.
- Do not freeze again food that has been thawed.
- Follow the storage instructions on the packaging of frozen food.
- Wrap the food in any food contact material before putting it in the freezer compartment.
Internal lighting
Warning! Risk of electric shock.
- Concerning the lamp(s) inside this product and spare part lamps sold separately: These lamps are intended to withstand extreme physical conditions in household appliances, such as temperature, vibration, humidity, or are intended to signal information about the operational status of the appliance. They are not intended to be used in other applications and are not suitable for household room illumination.
Care and cleaning
Warning! Risk of injury or damage to the appliance.
- Before maintenance, deactivate the appliance and disconnect the mains plug from the mains socket.
- This appliance contains hydrocarbons in the cooling unit. Only a qualified person must do the maintenance and the recharging of the unit.
- Regularly examine the drain of the appliance and if necessary, clean it. If the drain is blocked, defrosted water collects in the bottom of the appliance.
Service
- To repair the appliance contact the Authorised Service Centre. Use original spare parts only.
- Please note that self-repair or nonprofessional repair can have safety consequences and might void the guarantee.
Disposal
Warning! Risk of injury or suffocation.
- Disconnect the appliance from the mains supply.
- Cut off the mains cable and discard it.
- Remove the door to prevent children and pets to be closed inside of the appliance.
- The refrigerant circuit and the insulation materials of this appliance are ozonefriendly.
- The insulation foam contains flammable gas. Contact your municipal authority for information on how to discard the appliance correctly.
- Do not cause damage to the part of the cooling unit that is near the heat exchanger.
Installation
Warning! Refer to Safety.
Warning! Refer to installation instruction document to install your appliance.
Warning! Fix the appliance in accordance with installation instruction document to avoid a risk of instability of the appliance.
Location
To ensure best performance, install the appliance well away from sources of heat such as radiators, boilers, direct sunlight etc. Make sure that air can circulate freely around the back of the cabinet.
Positioning
This appliance should be installed in a dry, well ventilated indoor where the ambient temperature corresponds to the climate class indicated on the rating plate of the appliance:
Climate class | Ambient temperature |
SN | +10°C to + 32°C |
N | +16°C to + 32°C |
ST | +16°C to + 38°C |
T | +16°C to + 43°C |
Some functional problems might occur for some types of models when operating outside of that range. The correct operation can only be guaranteed within the specified temperature range. If you have any doubts regarding where to install the appliance, please turn to the vendor, to our customer service or to the nearest Authorised Service Centre.
Electrical Connection
Caution! Any electrical work required to install this appliance should be carried out by a qualified electrician or competent person.
Warning! This appliance must be earthed.
The manufacturer declines any liability should these safety measures not be observed.
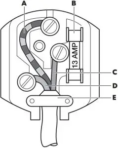
The wires in the mains lead are coloured in accordance with the following code:
- A – green and yellow: Earth
- C – brown: Live
- D – blue: Neutral
As the colours of the wires in the mains lead of this appliance may not correspond with the coloured markings identifying the terminals in your plug, proceed as follows:
- Connect the wire coloured green and yellow to the terminal marked either with the letter “E“ or by the earth symbol
or coloured green and yellow. - Connect the wire coloured blue to the terminal either marked with the letter “N“ or coloured black.
- Connect the wire coloured brown to the terminal either marked with the “L“ or coloured red.
- Check that no cut, or stray strands of wire is present and the cord clamp (E) is secure over the outer sheath.
Make sure the electricity supply voltage is the same as that indicated on the appliance rating plate. - Switch on the appliance.
The appliance is supplied with a 13 amp fuse (B). In the event of having to change the fuse in the plug supplied, a 13 amp ASTA approved (BS 1362) fuse must be used.
Warning! A cut off plug inserted into a 13 amp socket is a serious safety (shock) hazard. Ensure that it is disposed of safely
Product description

Fan-cooling with LED Lamp
Control panel
Bottle rack
Dairy compartment with lid
Door balconies
Vegetable drawers
Bottle balcony with holder
Freezer drawers
Freezing drawer
Rating plate
Glass shelves
Least cold zone
Intermediate temperature zone
Coldest zone
Operation
Control panel
Display
Freezer temperature warmer button
Freezer temperature colder button
OK button
Function button
Fridge temperature warmer button
Fridge temperature colder button
ON/OFF button
Display
- A. Fridge compartment indicator
- B. Fridge temperature indicator and timer indicator
- C. Fridge Off indicator
- D. Shopping Function indicator
- E. Vacation Function indicator
- F. Fast Freezing Function indicator
- G. Freezer temperature indicator
- H. Freezer compartment indicator
- I. Alarm indicator
- J. Child Lock Function indicator
- K. Bottle Chill Function indicator
- L. Fan-cooling Function indicator
Switching on
Connect the mains plug to the power socket
- Press the
ON/OFF button if the display is off.
The temperature indicators shows the default temperature. - The acoustic alarm may start after a few seconds.
To reset the alarm refer to “High temperature alarm”.
If “DEMO” appears on the display, the appliance is in demonstration mode. Refer to “Troubleshooting…”.
To select a different set temperature refer to “Temperature regulation”.
Switching off
Press
ON/OFF button for 3 seconds. The display switches off. To disconnect the appliance from the power, disconnect the mains plug from the power socket.
Switching on the fridge
- Press one of the fridge temperature buttons.
Or: - Press the
Function button until the fridge Off icon flashes. - Press the
OK button to confirm. - The fridge Off indicator goes off.
To select a different set temperature refer to “Temperature regulation”.
Switching off the fridge
- Press the
Function button until the fridge Off icon appears. The fridge Off indicator and the fridge compartment indicator flash.
Press the
OK button to confirm. The fridge Off indicator is shown.
Temperature regulation
- The set temperature of the fridge may be adjusted by pressing the temperature buttons.
Default temperature:- +5°C for the fridge
The temperature indicator shows the set temperature.
The temperature of the fridge compartment may vary between +2°C and +8°C.
- +5°C for the fridge
- The set temperature of the freezer may be adjusted by pressing the temperature buttons.
Default temperature:
- -18°C for the freezer
The temperature indicator shows the set temperature.
The temperature of the freezer compartment may vary between -15°C and -24°C.
The set temperature will be reached within 24 hours. After a power failure the set temperature remains stored.
Functions menu
Each time
Function button is pressed, the following functions can be activated:
- Shopping Function
- Vacation Function
- Fast Freezing Function
- Child Lock Function
- Bottle Chill Function
- Fan-cooling Function
- No symbol: Normal operation
You can turn on any function at any time and turn the function off by pressing
Function button several times until no icon appears.
Shopping Function
If you need to insert a large amount of food at once, for example after doing the grocery shopping, we suggest activating the Shopping Function to chill the products more rapidly and to avoid warming the other food which is already in the refrigerator.
The Shopping Function shuts off automatically after approximately 6 hours.
- Press
Function button until the Shopping icon appears. The Shopping indicator flashes. - Press
OK button to confirm.
The Shopping indicator is shown.
To switch off the function before its automatic end repeat the procedure until the Shopping indicator disappears. The function switches off by selecting a different fridge set temperature.
Vacation Function
This function allows you to keep the refrigerator closed and empty during a long holiday period without the formation of a bad smell.
The fridge compartment must be empty with Vacation Function on.
- Press
Function button until the Vacation icon appears. The Vacation indicator flashes. The fridge temperature indicator shows the set temperature. - Press
OK button to confirm. The Vacation indicator is shown. To switch off the function repeat the procedure until the Vacation indicator disappears.
The function switches off by selecting a different fridge set temperature.
Fast Freezing Function
To freeze fresh foods, you will need to activate the Fast Freezing Function. The Fast Freezing Function shuts off automatically after 52 hours.
- Press
Function button until the Fast Freezing icon appears. The Fast Freezing indicator flashes. - Press
OK button to confirm. The Fast Freezing indicator is shown. To switch off the function repeat the procedure until the Fast Freezing indicator disappears.
The function switches off by selecting a different freezer set temperature.
Child Lock Function
Activate the Child Lock Function to lock the buttons from unintentional operation.
- Press
Function button until the Child Lock icon appears. The Child Lock indicator flashes. - Press
OK button to confirm. The Child Lock indicator is shown. To deactivate the Child Lock Function, repeat the procedure until the Child Lock indicator disappears.
Bottle Chill Function
The Bottle Chill Function can be used to set an acoustic alarm at the preferred time, it is useful for cooling down a mixture for a certain period of time or as a reminder when fast cooling drink bottles.
- Press
Function button until the Bottle Chill icon appears. The Timer shows the set value (30 minutes). - Press the
,
temperature buttons to change the Timer set value from 1 to 90 minutes. Press
OK button to confirm.
The Timer indicator is shown (min). At the end of the countdown the Bottle Chill icon flashes and an acoustic alarm sounds. At that time, remove the products that were put into the appliance to cool down, and press the
Function button to switch off the sound and terminate the function.
To change the time during the countdown or at the end, press one of the
,
temperature buttons. To deactivate the function at any time during the countdown, repeat the procedure until the Bottle Chill indicator disappears.
Fan-cooling Function
The refrigerator compartment is equipped with a fan that allows rapid cooling of foods and keeps a more uniform temperature in the compartment.
- Press
Function button until the Fancooling indicator appears. The Fan-cooling indicator flashes for a few seconds. - Press
OK button to confirm. The Fan-cooling indicator is shown. To switch off this function repeat the procedure until the Fan-cooling indicator disappears.
High temperature alarm
An increase in the temperature in the freezer compartment (for example due to an earlier power failure or open door) is indicated by acoustic alarm, flashing of the alarm indicator and freezer temperature indicator.
To reset the alarm and switch off the acoustic signal press any button. The freezer temperature indicator shows the highest temperature reached for a few seconds. Then it shows the set temperature again.
The alarm indicator continues to flash until the normal conditions are restored, then it goes off.
Door open alarm
If the door is left open for approximately 5 minutes, the acoustic alarm starts and alarm indicator flashes.
The alarm will stop after closing the door. During the alarm, the acoustic signal can be muted by pressing any button.
Daily use
Warning! Refer to Safety.
Accessories
- Egg tray

x 1 - Ice Trays

x 1 - Freezer blocks

x 1
Movable shelves
The walls of the refrigerator are equipped with a series of runners so that the safety glass shelves can be positioned as desired.
Caution! Do not move the glass shelf above the vegetable drawer to ensure correct air circulation.
Bottle rack
Place the bottles (with the opening facing front) in the pre-positioned rack.
If the rack is positioned horizontally, place only closed bottles.
This bottle rack can be tilted to store unsealed bottles. To obtain this result, place front hooks of the rack one level higher than the rear hooks.
Positioning the door balconies
To permit storage of food packages of various sizes, the door balconies can be placed at different heights.
To make these adjustments proceed as follows: gradually pull upwards the balcony until it comes free, then reposition as desired.
Vegetable Drawers
Fruit and vegetables should be placed in these drawers (see the picture).
Fan-cooling
This device activates by itself when needed, for example for a quick temperature recovery after door opening or when the ambient temperature is high.
The fan operates only when the door is closed.
The fan activates itself in the following situations:
- when Shopping Function is activated – the fan operates during the whole duration of Shopping Function.
- when ambient temperature exceeds 32°C.
- when door opening destabilised the temperature in the refrigerator compartment.
If the function is activated automatically Fan-cooling indicator is not shown. If the function is activated automatically, you cannot switch it off. The fan will deactivate itself.
To switch on the device manually, refer to “Fan-cooling Function”.
Freezing fresh food
The freezer compartment is suitable for freezing fresh food and storing frozen and deep-frozen food for a long time.
To freeze fresh food activate the Fast Freezing Function at least 24 hours before placing the food to be frozen in the freezer compartment.
Place the fresh food to be frozen in the top compartment.
The maximum amount of food that can be frozen in 24 hours is specified on the rating plate, a label located on the inside of the fridge.
The freezing process lasts 24 hours: during this period do not add more food to be frozen.
After 24 hours, when the freezing process is completed, deactivate the Fast Freezing Function (see “Fast Freezing Function”).
Freezing Calendar
1-2
3-4
3-6
3-6
3-6
10-12
10-12
10-12
10-12
The symbols show different types of frozen goods.
The numbers indicate storage times in months for the appropriate types of frozen goods. Whether the upper or lower value of the indicated storage time is valid depends on the quality of the foods and treating before freezing.
Storage of frozen food
When first starting-up or after a period out of use, before putting the products in the compartment let the appliance run at least 12 hours with the Fast Freezing Function turned on.
In the event of accidental defrosting, for example due to a power failure, if the power has been off for longer than the value shown in the technical characteristics chart under “Rising time”, the defrosted food must be consumed quickly or cooked immediately and then refrozen (after cooling).
Thawing
Deep-frozen or frozen food, prior to being used, can be thawed in the refrigerator compartment or at room temperature, depending on the time available for this operation.
Small pieces may even be cooked still frozen, directly from the freezer: in this case, cooking will take longer.
Ice cube production
This appliance is equipped with tray for the production of ice cubes.
- Fill the tray with water.
- Put the tray in the freezer compartment
Caution! Do not use metallic instruments to remove the tray from the freezer.
Caution! Do not touch the appliance with wet hands as they might stick to any inner surface.
Freezer blocks
Two freezer blocks are supplied in the freezer. They prolong the length of time in which food will be preserved in the event of a power failure or breakdown.
Caution! Do not open or drink content of the freezer blocks.
Hints and tips
Normal operating sounds
The following sounds are normal during operation:
- A faint gurgling and bubbling sound from coils sound when refrigerant is pumped.
- A whirring and pulsating sound from the compressor when refrigerant is pumped.
- A sudden cracking noise from inside appliance caused by thermic dilatation (a natural and not dangerous physical phenomenon).
- A faint click noise from the temperature regulator when the compressor switches on or off.
Hints for energy saving
- Eco mode / default setting preserves fresh and frozen foods while saving energy.
- Fresh Food Compartment (Fridge): Most efficient use of energy is ensured in the configuration with the drawers in the bottom part of the appliance and shelves evenly distributed. Position of the door bins does not affect energy consumption.
- Frozen Compartment (Freezer): The internal configuration of the appliance is the one that ensures the most efficient use of energy.
- Do not remove the freezer blocks from the freezer basket.
- Do not open the door frequently or leave it open longer than absolutely necessary. Hints for fresh food refrigeration
- Do not store warm food or evaporating liquids in the refrigerator.
- Cover or wrap the food, particularly if it has a strong flavour.
- Position food so that air can circulate freely around it.
Hints for refrigeration
Useful hints:
- Meat (all types): wrap in a suitable packaging and place it on the glass shelf above the vegetable drawer. Store meat for at most 1-2 days.
- Cooked foods, cold dishes: cover and place on any shelf.
- Fruit and vegetables: clean thoroughly and place in a special drawer. Bananas, potatoes, onions and garlic must not be kept in the refrigerator if not packed.
- Butter and cheese: place in a special airtight container or wrap in an aluminium foil or a polythene bag to exclude as much air as possible.
- Bottles: close with a cap and place on the door bottle shelf, or (if available) on the bottle rack.
Hints for freezing
- Freeze only top quality, fresh and thoroughly cleaned food products.
- For more efficient freezing and thawing divide food into small portions.
- Wrap the food in aluminium foil or polythene. Make sure that the packages are airtight.
- To avoid increase in temperature of already frozen food, do not place fresh unfrozen food directly next to it.
- Lean foods store better and longer than fatty ones. Salt reduces the storage life of food.
- Do not eat ice cubes, water ices or ice lollies immediately after taking them out of the freezer. Risk of frostbites.
- It is advisable to show the freezing date on each individual pack to enable you to keep tab of the storage time.
Hints for storage of frozen food
- Make sure that the commercially frozen food products were adequately stored by the retailer.
- Make sure that frozen foodstuffs are transferred from the food store to the freezer in the shortest possible time.
- Once defrosted, food deteriorates rapidly and cannot be refrozen.
- Do not exceed the storage period indicated by the food manufacturer.
- Do not store glass containers with liquids in the freezer compartment because they may break.
Care and cleaning
Warning! Refer to Safety.
General warnings
Caution! Unplug the appliance before carrying out any maintenance operation.
This appliance contains hydrocarbons in its cooling unit; maintenance and recharging must therefore only be carried out by authorized technicians.
The accessories and parts of the appliance are not suitable for washing in a dishwasher.
Cleaning the interior
Before using the appliance for the first time, the interior and all internal accessories should be washed with lukewarm water and some neutral soap to remove the typical smell of a brand-new product, then dried thoroughly.
Caution! Do not use detergents, abrasive powders, chlorine or oilbased cleaners as they will damage the finish.
Periodic cleaning
Caution! Do not pull, move or damage any pipes and/or cables inside the appliance.
Caution! Do not damage the cooling system.
The equipment has to be cleaned regularly:
- Clean the inside and accessories with lukewarm water and some neutral soap.
- Regularly check the door seals and wipe them clean to ensure they are clean and free from debris.
- Rinse and dry thoroughly.
- If accessible, clean the condenser and the compressor at the back of the appliance with a brush.
This will improve the performance of the appliance and save electricity consumption.
Defrosting of the refrigerator
Frost is automatically eliminated from the evaporator of the refrigerator compartment every time the motor compressor stops, during normal use. The defrost water drains out through a trough into a special container at the back of the appliance, over the motor compressor, where it evaporates.
It is important to periodically clean the defrost water drain hole in the middle of the refrigerator compartment channel toprevent the water overflowing and dripping onto the food inside.
For this purpose use the tube cleaner provided in the accessory bag.
Defrosting of the freezer
The freezer compartment is frost free. This means that there is no build up of frost when it is in operation, neither on the internal walls, nor on the foods.
Periods of non-operation
When the appliance is not in use for long periods, take the following precautions:
- Disconnect the appliance from electricity supply.
- Remove all food.
- Clean the appliance and all accessories.
- Leave the door/doors open to prevent unpleasant smells.
Caution! If you want to keep the appliance switched on, ask somebody to check it once in a while to prevent the food inside from spoiling in case of a power failure.
We recommend activating Vacation Function.
Troubleshooting
Warning! Refer to Safety.
What to do if…
| Problem | Possible cause | Solution |
| The appliance does not operate. | The appliance is switched off. | Switch on the appliance. |
| The appliance does not operate. | The mains plug is not connected to the mains socket correctly. | Connect the mains plug to the mains socket correctly. |
| The appliance does not operate. | There is no voltage in the mains socket. | Connect a different electrical appliance to the mains socket. |
| Contact a qualified electrician. | The appliance is noisy. The appliance is not supported properly. | Check if the appliance stands stable. |
| Acoustic or visual alarm is on. | The cabinet has been recently switched on or the temperature is still too high. | Refer to “High Temperature Alarm”. |
| Acoustic or visual alarm is on. | The door is left open. Close the door. Refer to “Door | Open Alarm”. |
| Acoustic or visual alarm is on. | The temperature in the appliance is too high. | Contact a qualified electrician or contact the nearest Authorised Service Centre. |
| A rectangular or square symbol is shown instead of numbers on the Temperature Display. | Temperature sensor problem. | Contact the nearest Authorised |
| Service Centre (the cooling system will continue to keep food products cold, but temperature adjustment will not be possible). | The lamp does not work. The lamp is in stand-by mode. | Close and open the door. |
| The lamp does not work. | The lamp is defective. | Contact the nearest Authorised Service Centre. |
| The compressor operates continually. | Temperature is set incorrectly. | Refer to “Operation” chapter. |
| The compressor operates continually. | Many food products were inserted at the same time. | Wait a few hours and then check the temperature again. |
| The compressor operates continually. | The room temperature is too high. | Refer to climate class chart on the rating plate. |
| The compressor operates continually. | Food products placed in the appliance were too warm. | Allow food products to cool to room temperature before storing. |
| The compressor operates continually. | The door is not closed correctly. | Refer to “Closing the door”. |
| The compressor operates continually. | The Fast Freezing Function is switched on. | Refer to “Fast Freezing Function”. |
| The compressor operates continually. | The Shopping Function is switched on. | Refer to “Shopping Function”. |
| The compressor does not start immediately after starting Fast Freezing Function, or after the change of the temperature. | This is normal, no error has occurred. | The compressor starts after some time. |
| The compressor does not start immediately after starting Shopping Function, or after the change of the temperature. | This is normal, no error has occurred. | The compressor starts after some time. |
| Water flows inside the refrigerator. | Food products prevent water from flowing into the water collector. | Make sure that food products do not touch the rear plate. |
| Water flows on the floor. The melting water outlet is not connected to the evaporative tray above the compressor. | Attach the melting water outlet to the evaporative tray. | Temperature cannot be set. The Shopping Function is switched on. |
| Switch off Shopping Function manually, or wait until the function deactivates automatically to set the temperature. | Refer to «Shopping Function”. | Temperature cannot be set. The Fast Freezing Function is switched on. |
| Switch off Fast Freezing Function manually, or wait until the function deactivates automatically to set the temperature. | Refer to “Fast Freezing Function”. | DEMO appears on the display. |
| The appliance is in demonstration mode. | Keep the OK pressed for approximately 10 seconds until a long sound is heard and display turns off for a short time. | The temperature in the appliance is too low/too high. |
| The temperature regulator is not set correctly. | Set a higher/lower temperature. | Switch on the fan. |
| The temperature in the appliance is too low/too high. | The door is not closed correctly. | Refer to “Closing the door”. |
| The temperature in the appliance is too low/too high. | The food products temperature is too high. | Let the food products temperature decrease to room temperature before storage. |
| The temperature in the appliance is too low/too high. | Many food products were inserted at the same time. | Insert less food products at the same time. |
| The temperature in the appliance is too low/too high. | The door has been opened too often. | Open the door only if necessary. |
| The temperature in the appliance is too low/too high. | The Fast Freezing Function is switched on. | Refer to “Fast Freezing Function”. |
| The temperature in the appliance is too low/too high. | The Shopping Function is switched on. | Refer to “Shopping Function”. |
| The temperature in the appliance is too low/too high. | There is no cold air circulation in the appliance. | Make sure that there is cold air circulation in the appliance. |
| There is too much condensed water on the rear wall of the refrigerator. | Door was opened too frequently. | Open the door only when necessary. |
| There is too much condensed water on the rear wall of the refrigerator. | Door was not closed completely. | Make sure the door is closed completely. |
| There is too much condensed water on the rear wall of the refrigerator. | Stored food was not wrapped. | Wrap food in suitable packaging before storing it in the appliance. |
| Door does not open easily. | You attempted to re-open the door immediately after closing. | Wait a few seconds between closing and re-opening of the door. |
If your appliance is still not working properly after making the above checks, contact the Authorised Service Centre. You can find the list at the end of this manual.
Replacing the lamp
The appliance is equipped with a longlife LED interior light.
Only service is allowed to replace the lighting device. Contact your Authorised Service Centre.
Closing the door
- Clean the door gaskets.
- If necessary, adjust the door. Refer to the assembly instructions.
- If necessary, replace the defective door gaskets. Contact the Authorised Service Centre.
Technical data
| Product category | |
Product Type | Refrigerator – Freezer |
Installation Type | Built-in only |
| Product dimensions | |
Height | 1772 mm |
Width | 540 mm |
Depth | 549 mm |
| Net volume | |
Fridge | 192 Litre |
Freezer | 61 Litre |
| Defrost system | |
Fridge | auto |
Freezer | auto |
Star rating | |
Rising time | 21 hours |
Freezing capacity | 10 kg/24h |
Noise level | 39 dB (A) |
| Voltage | 230 – 240 V |
Frequency | 50 Hz |
The technical information (including the serial number) is situated in the rating plate on the internal left side of the appliance and in the energy label.
Environmental concerns
Recycle materials with the symbol
. Put the packaging in relevant containers to recycle it. Help protect the environment and human health by recycling waste of electrical and electronic appliances. Do not dispose of appliances marked with the symbol
with the household waste. Return the product to your local recycling facility or contact your municipal office.
IKEA guarantee
How long is the IKEA guarantee valid?
This guarantee is valid for five (5) years – two (2) years if the appliance is named LAGAN or TILLREDA – from the original date of purchase of your appliance at IKEA or from the installation date with maximum limit of three months from the purchase date. The original sales receipt, is required as proof of purchase. If service work is carried out under guarantee, this will not extend the guarantee period for the appliance. Once a warranted product has been replaced, the replaced product warranty will be valid for the balance period from date of original purchase invoice.
Who will execute the service?
IKEA service provider will provide the service through its own service operations or authorized service partner network.
What does this guarantee cover?
- The guarantee covers faults of the appliance, which have been caused by faulty construction or material faults from the date of purchase from IKEA or from the installation date with maximum limit of three months from the purchase date.
- This guarantee applies to domestic use only.
- The exceptions are specified under the headline “What is not covered under this guarantee?” Within the guarantee period.
- The costs to remedy the fault e.g. repairs, parts, labour and travel will be covered, provided that the appliance is accessible for repair without special expenditure. On these conditions the respective local regulations are applicable.
- Replaced parts become the property of IKEA.
- In case of non-repairable product, the retail value of the replacement will not exceed the purchase price that was paid by the customer
What will IKEA do to correct the problem?
- IKEA appointed Service Provider will examine the product and decide, at its sole discretion, if it is covered under this guarantee. If considered covered, IKEA Service Provider or its authorized service partner through its own service operations, will then, at its sole discretion, either repair the defective product or replace it with the same or a comparable product.
What is not covered under this guarantee?
- Normal wear and tear.
- Deliberate or negligent damage, damage caused by failure to observe operating instructions, incorrect installation or by connection to the wrong voltage, damage caused by chemical or electro-chemical reaction, rust, corrosion or water damage including but not limited to damage caused by excessive lime in the water supply, damage caused by abnormal environmental conditions.
- Consumable parts including batteries and lamps.
- Non-functional and decorative parts which do not affect normal use of the appliance, including any scratches and possible colour differences.
- Accidental damage caused by foreign objects or substances and cleaning or unblocking of filters, drainage systems or soap drawers.
- Damage to the following parts: ceramic glass, accessories, crockery and cutlery baskets, feed and drainage pipes, seals, lamps and lamp covers, screens, knobs, casings and parts of casings. Unless such damages can be proved to have been caused by production faults.
- Cases where no fault could be found during a technician’s visit.
- Repairs not carried out by our appointed service providers and/or an authorized service contractual partner or where non-original parts have been used.
- Repairs caused by installation which is faulty or not according to specification.
- The use of the appliance in a nondomestic environment i.e. professional use.
- Damage resulting from power outage, power surges or dips, fluctuating voltage or improper voltage All workout parts are not covered by the guarantee e.g.: filters and cleanliness.
- Transportation damages. If a customer transports the product to his home or another address, IKEA is not liable for any damage that may occur during transport. However, if IKEA delivers the product to the customer’s delivery address, then damage to the product that occurs during this delivery will be covered by IKEA.
- Cost for carrying out the initial installation of the IKEA appliance. However, if an IKEA service provider or its authorized service partner repairs or replaces the appliance under the terms of this guarantee, the service provider or its authorized service partner will reinstall the repaired appliance or install the replacement, if necessary.
- All plumping and electrical installation, are not the responsibility of IKEA, and customer must complete these work before the execution work.
How country law applies
The IKEA guarantee gives you specific legal rights, which covers or exceed local demands. However these conditions do not limit in any way consumer rights described in the local legislation.
Area of validity
This warranty is valid only in the country where the product has been purchased; the services will be provided in the framework of the guarantee conditions. An obligation to carry out services in the framework of the guarantee exists only if the appliance complies and is installed in accordance with:
- the technical specifications of the country in which the guarantee claim is made;
- the Assembly Instructions and User Manual Safety Information;
The dedicated After Sales Service for
IKEA appliances:
Please don’t hesitate to contact IKEA appointed After Sales Service Provider to:
- make a service request under this guarantee;
- ask for clarifications on installation of the IKEA appliance in the dedicated IKEA kitchen furniture;
- ask for clarification on functions of IKEA appliances.
To ensure that we provide you with the best assistance, please read carefully the Assembly Instructions and/or the User Manual before contacting us.
How to reach us if you need our service
Please refer to the last page of this manual for the full list of IKEA appointed contacts and relative national phone numbers.
In order to provide you with a quicker service, we recommend that you use the specific phone numbers listed at the end of this manual. Always refer to the numbers listed in the booklet of the specific appliance you need an assistance for. Before calling us, assure that you have to hand the IKEA article number (8 digit code) and the Serial Number (8 digit code that can be found on the rating plate) for the appliance of which you need our assistance.
SAVE THE SALES RECEIPT! It is your proof of purchase and required for the guarantee to apply. The sales receipt also reports the IKEA name and article number (8 digit code) for each of the appliances you have purchased.
UNITED ARAB EMIRATES & OMAN | ||
| Toll free: | 8 004 532 | |
| Web: | www.IKEA.com | |
QATAR | ||
| Toll free: | 8 004 532 | |
| Web: | www.IKEA.qa | |
| e-mail: | [email protected] | |
EGYPT | ||
| Hotline: | 67561 | |
| Web: | www.IKEA.eg | |
| e-mail: | [email protected] | |
STATE OF KUWAIT | ||
| Contact centre: | +965 18 40 40 8 | |
| Web: | www.IKEA.com.kw | |
| e-mail: | [email protected] | |
JORDAN | ||
| Contact centre: | +962 6 400 1000 | |
| Web: | www.IKEA.jo | |
KINGDOM OF SAUDI ARABIA | ||
| Contact centre: | 92000-4532 | |
| Our phone lines are open | ||
| Saturday – Thursday | 09:00 AM – 10:00 PM | |
| Friday | 2:00 PM – 10:00 PM | |
BAHRAIN | ||
| Contact centre: | 80001120 | |
| Our telephone lines are open all day | 09:00 AM – 10:00 PM | ![]() |
IKEA ISANDE User Manual – Download [optimized]
IKEA ISANDE User Manual – Download



1-2
3-6
10-12
10-12
10-12
10-12



















