Rayrun N30 RGB LED Controller

Model: N30

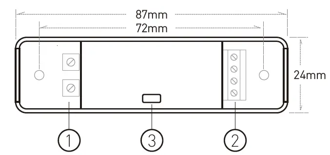
LED output
Connect LED fixtures to this terminal. Install LED common anode cable into the terminal marked with and each channel LED cables into the terminal marked with R, G, B. Please make sure the LED rated voltage is same as the power supply and each channel maximum load current is below the controller-rated current. The controller will run into protection if the output been overloaded or short circuited. The indicator will flash red color and stop working in this case, Please check the wiring and load current to remove the fault.
Work status indicator
This indicator shows all working status of the controller. It displays different events as following:
- Steady green: Normal working.
- Single green blink: Command received.
- Long single green blink: Mode or color cycle edge.
- Long single yellow blink: Brightness or speed limit.
- Red flash: Overload protection.
- Yellow flash: Over heat protection.
- Green flash 3 times: New remote controller paired.
Functions
Turn ON / OFF
Press ‘I’ key to turn on unit or press the‘ O’ key to turn off. Main unit will memorize the on/off status and will restore to the previous status on next power on.
Introduction
N30 RGB LED controller is designed to drive constant voltage LED products with common anode connection in voltage range of DC5-24V. The main unit works with a RF remote controller, user can setup RGB LED color,brightness and dynamic modes on the remote controller, the main unit is powered by DC power supply and receives remote controller commands to drive LED fixtures.
Dimension

Wiring & Indicator
Power supply input
Install positive power cable into the terminal marked with ‘+’ and negative power cable into the terminal marked with ‘-’. The controller can accept DC power from 5V to 24V, the output voltage is the same as the power supply, so please make sure the LED rated voltage is same as the power supply.Please use remote controller to turn on the unit if it was switched to off status before power cut.
Static RGB color setting
The keys in this area set the RGB static color and brightness. Press COLOR + the COLOR – colored keys to set the RGB LEDs to correspond color as a shortcut. For other static colors, please press and keys to select from the preset library colors. Press
and
keys to adjust color brightness.
Dynamic mode setting
These keys control the RGB dynamic modes. Press MODE + and MODE – keys to select dynamic modes and press SPEED + and Speed – keys to set the running speed of the dynamic modes. Press DEMO key to play the dynamic modes in loop with each mode repeating for 3 times.
Remote indicator This indicator blinks when remote controller is working. If the indicator flash slowly when pressing keys, it means the remote battery is nearly empty and please change the battery in this case. The battery model is CR2032.
Operation
Using the remote controller
Please pull out the battery insulating tape before using. The RF wireless remote signal can pass through some nonmetal barrier. For proper receiving the remote signal, please do not install the controller in closed metal parts.
Pair a new remote controller
The remote controller and main unit is 1-to-1 paired as factory default. It’s possible to pair maximum 5 remote controllers to one main unit and each remote control could be paired to any main unit. The user could pair a new remote controller to main unit by following two steps:
- Plug off the power of the main unit and plug in again after more than 5 seconds.
- Press SPEED + and SPEED – keys simultaneously for about 3 seconds, within time of 10 seconds after the main unit is powered on.
Keep the current remote only
In some cases, one main unit might be paired with several remote controllers but extra remote controllers are no longer needed. User could simply pair the current using the remote to main unit again, then the main unit will dis-pair all other remote controllers and recognize the current one only.
Protection
The main unit has full protection function for wrong wiring, output short circuit, overload and overheat. The controller will protect itself from damage at these extreme conditions and could automatically recover when the working condition is good. To avoid the protection, please ensure the LED fixtures are capable for constant voltage driving and in rated range, the cables are well connected and insulated. Also please install the controller with good ventilation and heat dissipation conditions.
Specification
| Model | N30 |
| Dynamic mode | 34 modes |
| Static color | 30 colors |
| PWM grade | 4000 steps |
| Color brightness grade | 5 levels |
| Speed grade | 10 levels |
| Direct color select | 7 direct keys |
| Overload protection | Yes |
| Overheat protection | Yes |
| Working voltage | DC 5-24V |
| Remote frequency | 433.92MHz |
| Remote control distance | >15m at open area |
| Rated output current | 3x4A |
| Controller dimension | 87x24x15mm |




















