
Plastic Counter Hooks Instruction Manual

Cheese-O-Matic
PROFESSIONAL
WHAT’S IN THE BOX:

TECHNICAL INFORMATION
| CHEESE-O-MATIC® PLASTIC | CHEESE-O-MATIC® BEECH | ||
| Art. no. | 550500 | Art. no. | 550000 |
| EAN: | 8713638005126 | EAN: | 8713638002484 |
| Dimensions Weight 4.00Kg Material | 490x375x115 mm 4.00Kg HMPE, aluminium, poly- propyleen | Dimensions Weight Material | 490x375x115 mm 3.65 Kg Beuken, aluminium, poly- propyleen, HMPE |
INSTALLATION & USE
The Cheese-O-Matic® is a safe, hand-operated cutting device, that allows you to cut both young and ripened cheese fast, perfectly and straight. Even cutting very aged, crumbly cheese is no problem with the Cheese-O-Matic®. Not only can it be used to halve large cheeses, but also for cutting smaller pieces or thick slices, always with an impeccably clean and straight cutting edge. The Cheese-O-Matic® can of course also be used as a cutting board!
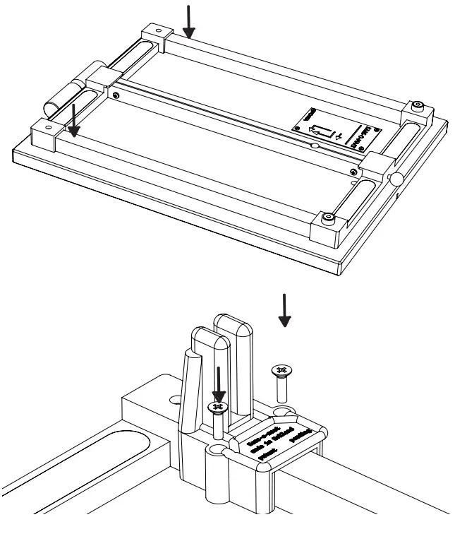
Use the counter hooks to fixate the Cheese-O-Matic® to your countertop. Follow these steps to install the mounting hooks:
Attention! Place the counter hooks on the side the handle is on.
- Place the Cheese-O-Matic® upside down.

- Place the clamp guide over the aluminum profile and fasten it to the cutting board using the supplied screws.
- Repeat on the other side.
- Place the clamp in the clamp guide. Leave the turning knob somewhat loose.

- Place the Cheese-O-Matic® on the countertop. Slide the clamp up, until it reaches the bottom of the counter. Then rotate the knob until fastened.

HOW TO CUT CHEESE
The device is suitable for dividing all young, semi-hard or crumbly cheeses into wedges. For extended instruction, please visit www.boska.com or our YouTube channel.
- Position the cheese on the cutting board, against the positioning pins.

- Always create an incision in the cheese rind using the scoring knife (available separately). This extends the lifespan of the wire significantly.
- Take the handle and pull the wire against the cheese, in the incision. Keep the other hand on the cheese, out of reach of the wire. Pull the wire through the cheese.

- After cutting, place the handle back in the recess on the far end of the Cheese-O-Matic®.

EDITIONS
The Cheese-O-Matic® is available with a white plastic (550500) or oiled beech (550000) cutting board.

CLEANING
- Clean the Cheese-O-Matic® daily after final use.
- The Cheese-O-Matic® needs to be cleaned between switching to a different type of cheese to prevent cross-contamination.
- Use hot water, a soft brush and a neutral cleaning detergent, such as green soap or dish soap, to clean the Cheese-O-Matic®. The Cheese-O-Matic® can also be cleaned in the dishwasher (exclusively the white plastic edition, article 550500). For optimal lifespan, do not wash the cutting wire in the dishwasher.
- Do not use water hotter than 70°C (160°F) to prevent damage to the plastic parts.
- Never use hard brushes, scratching materials, soda-chlorine- disinfectants or aggressive cleaning detergents for cleaning.
- Flush the Cheese-O-Matic® with water after cleaning. Dry the machine thoroughly to prevent the deterioration of parts due to dust and moisture.
WARNINGS
- At all times create an incision in the cheese rind at the wire entry point. This greatly extends the lifespan of the wire.
REPLACING THE CUTTING WIRE
Cutting wires are available for pre-order on www.boska.com, article no. 552010.
- Twist half the handle, so it comes loose from the thread.
- Slide the loop off the thread.
- Place the machine upside down.

- Place a small flat-head screwdriver behind the block in the rail, as shown in the illustration on the right. Then push the block towards you, so the ball of the wire lines up with the round opening in the rail.

- Now that the ball is lined up with the opening, the ball can be pushed out by pushing the wire up from below. Then pull the whole wire through the rails.
- The new wire can be placed by pulling the wire through the round opening. One the ball is in position, the screwdriver can be released.
- Lastly, the wire can be attached to the handle as shown in step 1.


Warranty
The conditions for a warranty on professional cheese tools can be found on www.en.boska.com/garantee
Cheese-O-Matic® Parts

| 1. X62844 Hmpe 500 naturel 450x350x20 X53600 Beukenplank 2. X65139 Handgreep 3. X65173 RVS handvat draadstift 4. X52211 L Profiel aluminium 5. X52212 Stift met nok 6. X52210 Koker aluminium 7. X51817 Frame strip zwart 8. X93001 Spaanplaatschroef 9. X51816 Afdekplaatje grijs 10. X51814 Stoel 11. X51824 Vleugelbout 12. X51812 Troon 13. X51813 Tafelklem 14. X87532 Slotbout | 15. X93043 Cillinderkop metaalschroef 16. X64301 Instructieplaatje 17. X66702 Voetje inslag 18. X65138 Aanslagstiften 19. X88000 Veer lang 20. X52214 Slede 21. X88001 Veer kort 22. X52213 Stift met gat 23. X65144 Borgstift 24. X88007 Veer klein 25. X87515Kogelknop M5 26. X93005 Vlakke sluitring 27. X87525 Bolcilinder kruiskopschroef |
Accessories
Use the Cheese-O-Matic with the following accessories;

552010 cutting wires for the Cheese-O-Matic®, set of 10 Manufactured from hardened, food safe spring steel of the highest quality.
552104 counter attachment
With the flat counter attachment, it is easy to attach your Cheese-O-Matic to your counter.

550510 Anti-skid attachment
No screws in your working surface, and still keeping the Cheese-O-Matic in place? The anti-skid feet for the Cheese-O-Matic are easy to attach.

554709 Scoring knife
Before cutting with the Cheese-O-Matic it is important to score the cheese rind. Cut the rind effortlessly with the BOSKA scoring knife.

Visit www.boska.com for more cheese-cutting solutions.

Since 1896
At BOSKA we make Food Tools for Life and we believe quality is sustainability. Our goal is to design products that last a lifetime. It all began in Holland, where blacksmith Willem Bos made his first professional cheese tools. From that day on it’s been our family’s tradition to create smart tools so you can enjoy food to the fullest. We love it!
So whether you’re cutting, slicing, grating, grilling or melting, we’ll help you create mouthwatering food and a party on your table. Enjoy!
Fourth-generation owner of Boska,
Food Tools for Life!
![]()
/boska
/boskaholland
/boska
boska.com
References
BOSKA Food Tools | Hoge kwaliteit food tools met levenslange garantie
BOSKA Food Tools | Hoge kwaliteit food tools met levenslange garantie
Kundenservice | Boska B2C
Service clientèle | Boska B2C
Klantenservice | BOSKA Food Tools - Boska.com | BOSKA Food Tools | Hoge kwaliteit food tools met levenslange garantie
























