
INSTALLATION INSTRUCTIONS
CommerCial-Style GaS CooktopS
30″ (76.2 Cm), 36″ (91.4 Cm) and 48″ (121.9 Cm)
For residential use only
IMPORTANT:
Installer: Leave installation instructions with the homeowner.
Homeowner: Keep installation instructions for future reference.
www.jennair.com (U.S.A.) www.jennair.ca (Canada)
COOKTOP SAFETY
Your safety and the safety of others are very important.
We have provided many important safety messages in this manual and on your appliance. Always read and obey all safety messages.
This is the safety alert symbol. This symbol alerts you to potential hazards that can kill or hurt you and others. All safety messages will follow the safety alert symbol and either the word “DANGER” or “WARNING.” These words mean:
DANGER You can be killed or seriously injured if you don’t immediately follow instructions.
WARNING You can be killed or seriously injured if you don’t follow instructions.
All safety messages will tell you what the potential hazard is, tell you how to reduce the chance of injury, and tell you what can happen if the instructions are not followed.
WARNING: If the information in these instructions is not followed exactly, a fire or explosion may result causing property damage, personal injury or death.
– Do not store or use gasoline or other flammable vapors and liquids in the vicinity of this or any other appliance.
– WHAT TO DO IF YOU SMELL GAS:
- Do not try to light any appliance.
- Do not touch any electrical switch.
- Do not use any phone in your building.
- Immediately call your gas supplier from a neighbor’s phone. Follow the gas supplier’s instructions.
- If you cannot reach your gas supplier, call the fire department.
– Installation and service must be performed by a qualified installer, service agency, or gas supplier.
WARNING:
Never Operate the Top Surface Cooking Section of this Appliance Unattended
- Failure to follow this warning statement could result in fire, explosion, or burn hazards that could cause property damage, personal injury, or death.
- If a fire should occur, keep away from the appliance and immediately call your fire department.
DO NOT ATTEMPT TO EXTINGUISH AN OIL/GREASE FIRE WITH WATER.
IMPORTANT: Do not install a ventilation system that blows air downward toward this gas cooking appliance. This type of ventilation system may cause ignition and combustion problems with this gas cooking appliance resulting in personal injury or unintended operation.
In the State of Massachusetts, the following installation instructions apply:
■ Installations and repairs must be performed by a qualified or licensed contractor, plumber, or gas fitter qualified or licensed by the State of Massachusetts.
■ Acceptable Shut-off Devices: Gas Cocks and Ball Valves installed for use shall be listed.
■ A flexible gas connector, when used, must not exceed 4 feet (121.9 cm).
INSTALLATION REQUIREMENTS
Tools and Parts
Gather the required tools and parts before starting installation. Read and follow the instructions provided with any tools listed here.
Tools Needed
† ® TORX and T20 are trademarks of Acument Intellectual Properties, LLC.
Parts Supplied
Check that all parts are included.
■ Gas pressure regulator
■ Burner grates
■ Burner caps
■ Griddle drip tray (on griddle models)
■ Foam tape
Parts Needed
All models must be installed with a backsplash if installed at zero clearance to a combustible back wall. See the “Cabinet Dimensions” section in the “Location Requirements” section for installation requirements. To order, see the “Assistance or Service” section of the Use and Care Guide. Check local codes and consult the gas suppliers. Check existing gas
supply and electrical supply. See the “Electrical Requirements” and “Gas Supply Requirements” sections.
High Altitude Conversion
Reorificing of this range/range top is not required for proper operation. Low burner rates may require resetting for the best results.
Refer to the “Adjusting Simmer Low Setting on Surface Burner for Propane” section (page 14) for Propane Gas Operation. Refer to the “Adjusting Simmer Low Setting on Surface Burner for Natural Gas” section (page 17) for Natural Gas Operation.
Location Requirements
IMPORTANT: Observe all governing codes and ordinances. Do not obstruct the flow of combustion and ventilation air.
- It is the installer’s responsibility to comply with installation clearances specified on the model/serial/rating plate. The model/serial/rating plate is located on the underside of the cooktop burner base.
- It is recommended that a 585 CFM (993.9 m 3 /hr) or larger vent hood be installed above the cooktop.
- Follow the range hood or microwave hood combination installation instructions for dimensional clearances above the cooktop surface.
- The cooktop should be installed in a location away from strong draft areas, such as windows, doors, and strong heating vents or fans.
- All openings in the wall or floor where the cooktop is to be installed must be sealed.
- Cabinet opening dimensions that are shown must be used. Given dimensions are minimum clearances.
- A grounded electrical supply is required. See the “Electrical Requirements” section.
- A proper gas supply connection must be available. See the “Gas Supply Requirements” section.
- The cooktop is designed to be supported by a solid floor in the opening, not hung from the countertop by its side or rear flanges.
- The gas and electric supply should be located as shown in the “Gas and Electric Connection Locations” section so that they are accessible without requiring the removal of the cooktop.
- Provide cutout in the left rear corner of cutout enclosure as shown to provide clearance for gas inlet, power supply cord, and to allow the rating label to be visible.
IMPORTANT: To avoid damage to your cabinets, check with your builder or cabinet supplier to make sure that the materials used will not discolor, delaminate, or sustain other damage.
Mobile Home – Additional Installation Requirements
The installation of this cooktop must conform to the Manufactured Home Construction and Safety Standard, Title 24 CFR, Part 3280 (formerly the Federal Standard for Mobile Home Construction and Safety, Title 24, HUD Part 280). When such standard is not applicable, use the standard for Manufactured Home Installations, ANSI A225.1/NFPA 501A or local codes. In Canada, the installation of this cooktop must conform with the current standards CAN/CSA-A240-latest edition or with local codes.
Product Dimensions
NOTE: Cooktop features may differ.
30″ (76.2 cm) models 


Gas and Electric Connection Locations

A. Grounded 3 prong outlet should be located on the left-hand side of the cutout 16″ (40.6 cm) max. from enclosure sidewall
B. 10″ (25.4 cm) min. clearance from countertop to top of the outlet
C. 14″ (35.6 cm) countertop to the gas supply line
D. Gas supply line should be located in this area on rear or side walls or the supply line can come up through the floor.
NOTE: Solid side and bottom of cutout enclosure not shown.
Cabinet Requirements
IMPORTANT: If installing a range hood, hood liner, or microwave hood combination above the cooking surface, follow the range hood or microwave hood combination installation instructions for dimensional clearances above the cooking surface.
A. See chart.
B. See chart.
C. See chart.
D. See chart.
E. See chart.
F. 18″ (45.7 cm) min. clearance upper cabinet to countertop
G. 3/4″ (19 mm) back of cabinet cutout to gas opening cutout
H. 6 7 /8″ (16.1 cm) gas opening cutout depth
I. 12 1 /2″ (31.7 cm) gas opening cutout width
J. 22 1 /4″ (56.5 cm) cabinet cutout depth
K. 2″ (5.1 cm) cabinet side to gas cutout
L. 12″ (30.5 cm) min. distance on both sides of the cooktop to the sidewall or other combustible material above the cooking surface
M. 24″ (61.0 cm) cabinet depth
N. 7 1 /4″ (18.4 cm) cabinet depth to the countertop
O. Notch to be equal on both sides
P. 13″ (33.0 cm) upper cabinet depth
| Size | A* Cooktop Cutout to Back Wall | B** Cooktop to Cabinet | C Optional Backguard and Upper Cabinet Opening | D Cabinet and Countertop | E Countertop Only |
| 30″ (76.2 cm) | 1 3 /4″ (4.4 cm)* | 42″ (106.7 cm) | 30″ (76.2 cm) | 29 1 /4″ (74.3 cm) | 29 7 /8″ (75.9 cm) for zero clearance |
| 36″ (91.4 cm) | 1 3 /4″ (4.4 cm)* | 58″ (147.3 cm) | 36″ (91.4 cm) | 35 1 /4″ (89.5 cm) | 35 3 /4″ (90.8 cm) for zero clearance |
| 48″ (121.9 cm) | 1 3 /4″ (4.4 cm)* | 58″ (147.3 cm) | 48″ (121.9 cm) | 47 1 /4″ (120.0 cm) | 47 7 /8″ (121.6 cm) for zero clearance |
Plug into a grounded 3 prong outlet.
Do not remove the ground prong.
Do not use an adapter.
Do not use an extension cord.
Failure to follow these instructions can result in death, fire, or electrical shock.
This cooktop is equipped with an electronic ignition system that will not operate if plugged into an outlet that is not properly polarized.
If codes permit and a separate ground wire is used, it is recommended that a qualified electrical installer determine that the ground path is adequate.
A copy of the above code standards can be obtained from National Fire Protection Association 1 Batterymarch Park Quincy, MA 02169-7471 CSA International
8501 East Pleasant Valley Road Cleveland, Ohio 44131-5575
■ A 120 V, 60 Hz, AC-only, 15 A, fused electrical circuit is required. A time-delay fuse or circuit breaker is also recommended. It is recommended that a separate circuit serving only this cooktop be provided.
■ Electronic ignition systems operate within wide voltage limits, but proper grounding and polarity are necessary. Check that the outlet provides 120 V power and is correctly grounded.
■ The wiring diagrams are provided with this cooktop. The wiring diagrams are located inside the control console.
Use a new CSA International approved gas supply line.
Install a shut-off valve.
Securely tighten all gas connections.
If connected to propane, have a qualified person make sure gas pressure does not exceed 14″ (36 cm) water column.
Examples of a qualified person include:
licensed heating personnel, authorized gas company personnel, and authorized service personnel.
Failure to do so can result in death, explosion, or fire.
IMPORTANT: This installation must conform with all local codes and ordinances. In the absence of local codes, installation must conform with American National Standard, National Fuel Gas Code ANSI Z223.1 – latest edition or CAN/CGA B149 – latest edition.
IMPORTANT: Leak testing of the cooktop must be conducted according to the manufacturer’s instructions.
Type of Gas
Natural Gas:
This cooktop is factory-set for use with Natural gas. To convert to Propane gas, see the “Gas Conversions” section. The model/serial/rating plate located on the left underside of the cooktop burner base has information on the types of gas that can be used. If the types of gas listed do not include the type of gas available, check with the local gas supplier.
Propane Gas conversion:
The conversion must be done by a qualified service technician No attempt shall be made to convert the cooktop from the gas specified on the model/serial/rating plate for use with a different gas without consulting the serving gas supplier. To convert to Propane gas, use the Propane gas conversion kit provided with the cooktop and see the “Gas Conversions” section.
■ Provide a gas supply line of 3/4″ (1.9 cm) rigid pipe to the cooktop location. A smaller size pipe on longer runs may result in insufficient gas supply. With Propane gas, piping or tubing size can be 1/2″ (1.3 cm) minimum. Usually, Propane gas suppliers determine the size and materials used in the system.
NOTE: Pipe-joint compounds that resist the action of Propane gas must be used. Do not use TEFLON ®† tape.
■ Flexible metal appliance connector:
■ If local codes permit, a new CSA design-certified, 4-5 ft (122-152 cm) long, 5/8″ (1.6 cm) or 3/4″ (1.9 cm) I.D., flexible metal appliance connector may be used for connecting the cooktop to the gas supply line.
■ Do not kink or damage the flexible metal tubing when moving the cooktop.
■ Must include a shut-off valve: Install a manual gas line shut-off valve in an easily accessible location. Do not block access to the shut-off valve. The valve is for turning on or shutting off gas to the cooktop.

The gas pressure regulator supplied with this cooktop must be used. The inlet pressure to the regulator should be as follows for proper operation:
Natural Gas:
Minimum pressure: 5″ (12.7 cm) WCP Maximum pressure: 14″ (35.6 cm) WCP
Propane Gas:
Minimum pressure: 10″ (25.4 cm) WCP
Maximum pressure: 14″ (35.6 cm) WCP
Contact local gas supplier if you are not sure about the inlet pressure.
Input ratings shown on the model/serial/rating plate are for elevations up to 2,000 ft (609.6 m).
For elevations above 2,000 ft (609.6 m), ratings need to be reduced at a rate of 4% for each 1,000 ft (304.8 m) above sea level (not applicable for Canada).
Gas Supply Pressure Testing
Gas supply pressure for testing regulator must be at least 1″ (2.5 cm) water column pressure above the manifold pressure shown on the model/serial/rating plate.
Line pressure testing above 1/2 psi (3.5 kPa) gauge (14″ [35.6 cm] WCP)
The cooktop and its individual shut-off valve must be disconnected from the gas supply piping system during any pressure testing of that system at test pressures in excess of
1/2 psi (3.5 kPa).
Line pressure testing at 1/2 psi (3.5 kPa) gauge (14″ [35.6 cm] WCP) or lower
The cooktop must be isolated from the gas supply piping system by closing its individual manual shut-off valve during any pressure testing of the gas supply piping system at est pressures equal to or less than 1/2 psi (3.5 kPa).
INSTALLATION INSTRUCTIONS
WARNINGExcessive Weight Hazard
Use two or more people to move and install the cooktop.
Failure to do so can result in back or another injury.
- Decide on the final location for the cooktop.
- Using two or more people, place the cooktop upside down on a covered surface.
- Remove foam strip from packing containing literature. Remove backing from foam strip. Apply foam strip adhesive-side down along the left and right sides of the cooktop trim. NOTE: The foam strip helps the cooktop sit flat on uneven counters and avoids damage to the countertop surface.

- Using two or more people, turn the cooktop right side up.
![]()
Explosion Hazard
Use a new CSA International approved gas supply line.
Install a shut-off valve.
Securely tighten all gas connections.
If connected to propane, have a qualified person make sure gas pressure does not exceed 14″ (36 cm) water column.
Examples of qualified person include licensed heating personnel, authorized gas company personnel, and authorized service personnel.
Failure to do so can result in death, explosion, or fire.
- Using two or more people, stand the cooktop on its side or back.
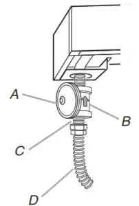
- Connect the flexible stainless steel connector to the pressure regulator using a 1/2″ (1.3 cm) male pipe thread adapter. A combination of pipe fittings must be used to connect the cooktop to the existing gas line. The following shows a typical connection. Your connection may be different, according to the supply line type, size, and location.

A. Gas pressure regulator
B. Regulator – Must be installed with the arrow pointing up to cooktop bottom
C. Adapter – Must have 1/2″ (1.3 cm) male pipe thread
D. CSA approved flexible stainless steel gas supply line - Install the pressure regulator with the arrow pointing up toward the bottom of the cooktop burner base and in a position where you can reach the regulator cap.
IMPORTANT: All connections must be wrench-tightened. Do not make connections to the gas regulator too tight. Making the connections too tight may crack the regulator and cause a gas leak. Do not allow the regulator to turn on the pipe when tightening fittings. Use only pipe-joint compound made for use with Natural and Propane gas. Do not use TEFLON ® tape. You will need to determine the fittings required depending on your installation.
A. Gas pressure regulator
B. Use pipe-joint compound.
C. Adapter – must have 1/2″ (1.3 cm) male pipe thread
D. Flexible connector
E. Adapter
F. Use pipe-joint compound.
G. 1/2″ (1.3 cm) or 3/4″ (1.9 cm) gas pipe
H. Manual gas shut-off valve - Place cooktop into the countertop cutout.
NOTE: Check that the front edge of the cooktop is parallel to the front edge of the countertop. If repositioning is needed, lift the entire cooktop up from cutout to avoid scratching the countertop.
Complete Connection
- Open the manual shut-off valve in the gas supply line. The valve is open when the handle is parallel to the gas pipe.

- Test all connections by brushing on an approved noncorrosive leak-detection solution. If bubbles appear, a leak is indicated. Correct any leak found.
- Remove cooktop burner caps and grates from parts package. Place burner caps on burner bases. Place grates over burners and caps.
Electrical Shock Hazard
Plug into a grounded 3 prong outlet.
Do not remove the ground prong.
Do not use an adapter.
Do not use an extension cord.
Failure to follow these instructions can result in death, fire, or electrical shock.
- Place drip tray in the well at the front of the griddle. Slide tray toward the back until it stops.

- Clean griddle before using. Refer to the Use and Care Guide.
Complete Installation
Place burner caps on top of burner bases. If burner caps are not properly positioned, surface burners will not light. Burner

Initial lighting and gas flame adjustments
Cooktop burners use electronic igniters in place of standing pilots. When the cooktop control knob is turned to any position, the system creates a spark to light the burner. This sparking continues until the flame is lit or the knob is turned to OFF.
Push in and turn each control knob to the IGNITE position. The surface burners and grill flames should light within 4 seconds. The first time a burner is lit, it may take longer
than 4 seconds to light because of air in the gas line. After verifying the proper burner operation, turn the control knobs to OFF.
- Turn the cooktop control knob to the OFF position.
- Check that the cooktop is plugged in the circuit breaker has not tripped or the fuse has not blown.
- Check that the gas shut-off valves are set to the “open” position.
- Check that burner caps are properly positioned on burner bases.
Repeat start-up. If a burner does not light at this point, contact your dealer or authorized service company for assistance.
If you need Assistance or Service:
NOTE: Flame heights are factory set. If they don’t appear correct, please contact your service provider. Burner

GAS CONVERSIONS
WARNINGUse a new CSA International approved gas supply line. Install a shut-off valve.
Securely tighten all gas connections.
If connected to propane, have a qualified person make sure gas pressure does not exceed 14″ (36 cm) water column.
Examples of qualified person include licensed heating personnel, authorized gas company personnel, and authorized service personnel.
Failure to do so can result in death, explosion, or fire.
1. Turn the manual shut-off valve to the closed position.

A. To cooktop
B. Shut-off valve (closed position)
C. Gas supply line
- Remove the gas pressure regulator cap by using a large flat-blade screwdriver, turning the regulator cap counterclockwise. When the cap is removed, do not lose the metal seal.
NOTE: Do not remove the spring beneath the cap. - Remove the spring retainer from the cap by turning the spring retainer counterclockwise. Locate the “LP” and “NAT” positions on the spring retainer. Turn over the spring retainer so the “LP” arrow is pointing toward the cap.

- Tighten the gas pressure regulator cap by using a large flat blade screwdriver, turning the regulator cap clockwise.
- Test the gas pressure regulator and gas supply line. The regulator must be checked at a minimum 1″ (2.5 cm) water column above the set pressure. The inlet pressure to the regulator should be as follows for operation and checking the regulator setting:
Propane Gas:
Minimum pressure: 10″ (25.4 cm) WCP
Maximum pressure: 14″ (35.6 cm) WCP
Gas Supply Pressure Testing
Gas supply pressure for testing regulator must be at least 1″
(2.5 cm) water column pressure above the manifold pressure
shown on the model/serial/rating plate.
Line pressure testing above 1/2 psi (3.5 kPa) gauge (14″ [35.6 cm] WCP)
The cooktop and its individual shut-off valve must be disconnected from the gas supply piping system during any pressure testing of that system at test pressures in excess of 1/2 psi (3.5 kPa).
Line pressure testing at 1/2 psi (3.5 kPa) gauge (14″ [35.6 cm] WCP) or lower
The cooktop must be isolated from the gas supply piping system by closing its individual manual shut-off valve during any pressure testing of the gas supply piping system at test pressures equal to or less than 1/2 psi (3.5 kPa).
To Convert Surface Burners
- If installed, remove the burner grates.
- Remove burner cap.
- Remove the burner base by first removing (2) T-20 screws.

- Apply masking tape to the end of a 1/4″ (7 mm) nut driver to help hold the gas orifice spud in the nut driver while changing it. Insert nut driver into gas opening and press
down onto the gas orifice spud, and remove by turning the gas orifice spud counterclockwise and lifting out. Set gas orifice spud aside. - Replace with correct Propane gas orifice spud. See the “Propane Gas Orifice Spud/Hood Chart.”
Burner orifice spud
A. Size stamp
B. Fuel type stamp (L for Propane or N for Natural gas)
Use the following chart to find the exact orifice spud placement.
Propane Gas Orifice Spud/Hood Chart
| Burner Rating | Stamp | Size | Burner Style |
| 7,400 BTUs | 70 44 | 0.70 mm 0.44 mm | Small burner – main Small burner – simmer ![]() |
| 13,000 BTUs | 99 50 | 0.99 mm 0.50 mm | Large burner – main Large burner – simmer ![]() |
| 16,000 BTUs | 116 | 1.16 mm | Grill burner |
6. Place Natural gas orifice spuds in a plastic parts bag for future use and keep with a package containing literature.
NOTE: There may be extra orifices in your kit.
7. Replace the burner base and screws. Tighten screws only until the burner is snug to the cooktop, do not over-tighten.
8. Replace burner cap.
9. Repeat steps 2 through 8 for the remaining burners.
10. Remove the control knobs and bezels for surface burners and grills.
NOTE: For oven controls and griddle controls, no changes are needed.
- Locate the Simmer low-turndown adjustment screw through the bezel on the left side of the ignition switch.

- With the burner ON, and set to Simmer Lo, adjust the
simmer flame down to the proper BTU level. Using a 1/8″ x 4 1 /4″ (3.2 mm x 108 mm) flat blade screwdriver, turn the simmer low-turndown adjustment screw clockwise until the flame height is below the bottom of the cap. If the flame becomes unstable and flickers or appears to race around the burner, the adjustment is too low and the screw should adjust counterclockwise until the flame is stable. Repeat this step for all surface burners, except the grill burner. NOTE: Use a knob to adjust the burner valve. NOTE: If your cooktop has the IR grill, then skip ahead to the Convert IR Grill Burner section. - Replace the bezels using the 2 screws which attach to the valve brackets.
NOTE: Make sure no wires are pinched when reinstalling bezels. - Push the surface knobs onto the valve stems.
- Replace burner grates.
- Unplug or disconnect power.
- Remove the grill knob and bezel. The other surface knobs and bezels should be off the cooktop.
- Remove the two screws on each side of the cooktop that holds the control console in place.

- Pull up on the console and slide out from the cooktop. Disconnect
griddle switches connectors and lights, if applicable. Set console in a safe place. - Remove two screws holding grill orifice holder bracket.

- Pull the grill orifice holder out of the burner box to allow access to the orifice with a wrench, being certain not to kink the attached tubing.

- Using an adjustable wrench and a 1/2” (1.3 cm) open-end wrench remove the Natural gas orifice spud and replace it with the correct Propane orifice spud.

- Reposition the grill orifice holder assembly back into the burner box, and replace the grill orifice holder bracket and two holder screws.
- Lift up on the control console and set it back into place. For a proper fit, the flange of the control console must hook over
the lip on the front of the cooktop.
NOTE: The side flange of the console aligns outside of the cooktop box but inside the side rail flange.
NOTE: It may be necessary to lift valve stems to align with console holes.
- Check that the control console is flush with the top edge of the cooktop.


- Replace the screws on each side of the control console.
- Replace the control knobs and bezels.
- Replace burner grates.
- Reconnect power.
Complete Installation
- Refer to the “Make Gas Connection” section for properly connecting the cooktop to the gas supply.
- Refer to the “Electronic Ignition System” section for proper burner ignition, operation, and burner flame adjustments.
IMPORTANT: You may have to adjust the LO setting for each cooktop burner.
Checking for proper cooktop burner flame is very important. The small inner cone should have a very distinct blue flame 1/4″ (6.4 mm) to 1/2″ (1.3 cm) long. The outer cone is not as distinct as the inner cone. Propane gas flames have a slight yellow tip. - Refer to the “Complete Installation” section in the “Installation Instructions” section of these instructions to complete this procedure.
- Turn the manual shut-off valve to the closed position.

- Unplug the cooktop or disconnect power.
- Remove the gas pressure regulator cap by using a large flat-blade screwdriver, turning the regulator cap counterclockwise. When the cap is removed, do not lose the metal seal.
- Remove the spring retainer from the cap by turning the spring retainer counterclockwise. Locate the “LP” and “NAT” positions on the spring retainer. Turn over the spring retainer so the “NAT” arrow is pointing toward the cap.

A. Regulator cap
B. Metal seal
C. Gas pressure regulator
D. Spring retainer in LP position
E. Spring retainer in NAT position - Tighten the gas pressure regulator cap by using a large flat-blade screwdriver, turning the regulator cap clockwise.
- Test the gas pressure regulator and gas supply line. The regulator must be checked at a minimum 1″ (2.5 cm) water column above the set pressure. The inlet pressure
to the regulator should be as follows for operation and checking the regulator setting:
Natural Gas:
Minimum pressure: 5″ (12.7 cm) WCP
Maximum pressure: 14″ (35.6 cm) WCP
Gas Supply Pressure Testing
Gas supply pressure for testing regulator must be at least 1″
(2.5 cm) water column pressure above the manifold pressure shown on the model/serial/rating plate.
Line pressure testing above 1/2 psi (3.5 kPa) gauge (14″ [35.6 cm] WCP)
The cooktop and its individual shut-off valve must be disconnected from the gas supply piping system during any pressure testing of that system at test pressures in excess of 1/2 psi (3.5 kPa).
Line pressure testing at 1/2 psi (3.5 kPa) gauge (14″ [35.6 cm] WCP) or lower
The cooktop must be isolated from the gas supply piping system by closing its individual manual shut-off valve during any pressure testing of the gas supply piping system at test pressures equal to or less than 1/2 psi (3.5 kPa).
- If installed, remove the burner grates.
- Remove burner cap.

Burner
A. Burner cap
B. Screws
C. Burner base - Remove the burner base.
- Apply masking tape to the end of a 1/4″ (7 mm) nut driver to help hold the gas orifice spud in the nut driver while changing it. Insert nut driver into gas opening and press down onto the gas orifice spud and remove by turning the gas orifice spud counterclockwise and lifting out. Set gas orifice spud aside.
- Replace with correct Natural gas orifice spud. See the “Natural Gas Orifice Spud/Hood Chart.”

B. Fuel type stamp
(L for Propane or
N for Natural gas)
W11508892A
06/21
/™ ©2021 JennAir. All rights reserved. Used under license in Canada.



































