Cylinda IHI5230T Induction Hob
Important instructions
- This section contains safety instructions that will help protect from risk of personal injury or property damage.
- Failure to follow these instructions shall void any warranty.
General safety
- This appliance can be used by children aged from 8 years and above and persons with reduced physical, sensory or mental capabilities or lack of experience and knowledge if they have been given supervision or instruction concerning use of the appliance in a safe way and understand the hazards involved.
- Children shall not play with the appliance. Cleaning and user maintenance shall not be made by children without supervision.
- The appliance is not to be used by persons (including children) with reduced physical, sensory or mental capabilities, or lack of experience and knowledge, unless they have been given supervision or instruction. Children should be supervised and ensure they do not play with the appliance
- If the product is handed over to someone else for personal use or second-hand use purposes, the user manual, product labels and other relevant documents and parts should be also given.
- Installation and repair procedures must always be performed by Authorised
Service Agents.
- The manufacturer shall not be held responsible for damages arising from procedures carried out by unauthorised persons which may also void the warranty. Before installation, read the instructions carefully.
- Do not operate the product if it is defective or has any visible damage.
- Ensure that the product function knobs are switched off after every use.
Electrical safety
- If the product has a failure, it should not be operated unless it is repaired by an Authorised Service Agent.
- There is the risk of electric shock!
- Only connect the product to a grounded outlet/line with the voltage and protection as specified in the “Technical specifications”. Have the grounding installation made by a qualified electrician while using the product with or without a transformer. Our company shall not be liable for any problems arising due to the product not being earthed in accordance with the local regulations.
- Never wash the product by spreading or pouring water onto it! There is the risk of electric shock!
- The product must be disconnected during installation, maintenance, cleaning and repairing procedures.
- If the power connection cable for the product is damaged, it must be replaced by the manufacturer, its service agent or similarly qualified persons in order to avoid a
hazard. - The appliance must be installed so that it can be completely disconnected from the mains supply. The separation must be provided by a switch built into the fixed electrical installation, according to construction regulations.
- Any work on electrical equipment and systems should only be carried out by authorised and qualified persons.
- In case of any damage, switch off the product and disconnect it from the mains. To do this, turn off the fuse at home.
- Make sure that fuse rating is compatible with the product.
Product safety
- The appliance and its accessible parts become hot during use. Care should be taken to avoid touching heating elements.
- Children less than 8 years of age shall be kept away unless continuously supervised.
- Never use the product when your judgment or coordination is impaired by the use of alcohol and/or drugs.
- Be careful when using alcoholic drinks in your dishes. Alcohol evaporates at high temperatures and may cause fire since it can ignite when it comes into contact with hot surfaces.
- Do not place any flammable materials close to the product as the sides may become hot during use.
- Keep all ventilation slots clear of obstructions.
- Do not use steam cleaners to clean the appliance as this may cause an electric shock.
- Unattended cooking on a hob with fat or oil can be dangerous and may result in fire. NEVER try to extinguish a fire with water, but switch off the appliance and then cover flame e.g. with a lid or a fire blanket.
- CAUTION: The cooking process has to be supervised. A short term cooking process has to be supervised continuously.
- WARNING: Danger of fire: Do not store items on the cooking surfaces.
- WARNING: If the surface is cracked, switch off the appliance to avoid the possibility of electric shock.
- In case of hotplate glass breakage : Immediately shut off all burners and any electrical heating element and isolate the appliance from the power supply. Do not touch the appliance surface. Do not use the appliance.
- After use, switch off the hob element by its control and do not rely on the pan detector.
- Metallic objects such as knives, forks, spoons and lids should not be placed on the hob surface since they can get hot.
- The appliance is not intended to be operated by means of an external timer or separate remote-control system.
- Vapour pressure that build up due to the moisture on the hob surface or at the bottom of the pot can cause the pot to move. Therefore, make sure that the oven surface and bottom of the pots are always dry.
- WARNING: Danger of fire: Do not store items on the cooking surfaces.
- WARNING: If the surface is cracked, switch off the appliance to avoid the possibility of electric shock.
- In case of hotplate glass breakage : Immediately shut off all burners and any electrical heating element and isolate the appliance from the power supply.
Do not touch the appliance surface. Do not use the appliance. - After use, switch off the hob element by its control and do not rely on the pan detector.
- Metallic objects such as knives, forks, spoons, and lids should not be placed on the hob surface since they can get hot.
- The appliance is not intended to be operated by means of an external timer or separate remote-control system.
- Vapour pressure that build up due to the moisture on the hob surface or at the bottom of the pot can cause the pot to move. Therefore, make sure that the oven surface and bottom of the pots are always dry.
- Prevention against possible fire risk!
- Ensure all electrical connections are secure and tight to prevent risk of arcing.
- Do not use damaged cables or extension cables.
- Ensure liquid or moisture is not accessible to the electrical connection point.
Intended use
- This product is designed for domestic use. Commercial use will void the guarantee.
- CAUTION: This appliance is for cooking purposes only. It must not be used for other purposes, for example room heating.
- The manufacturer shall not be liable for any damage caused by improper use or handling errors.
Safety for children
- WARNING: Accessible parts may become hot during use. Young children should be kept away.
- The packaging materials will be dangerous for children. Keep the packaging materials away from children. Please dispose of all parts of the packaging according to environmental standards.
- Electrical products are dangerous to children. Keep children away from the product when it is operating and do not allow them to play with the product.
- Do not place any items above the appliance that children may reach for.
- Disposing of the old product Compliance with the WEEE Directive and Disposing of the Waste Product: [!] This product complies with EU WEEE Directive (2012/19/EU). This product bears a classification symbol for waste electrical and electronic equipment (WEEE). This product has been manufactured with high quality parts and materials which can be reused and are suitable for recycling. Do not dispose of the waste product with normal domestic and other wastes at the end of its service life. Take it to the collection center for the recycling of electrical and electronic equipment. Please consult your local authorities to learn about these collection centers.
- Compliance with RoHS Directive: The product you have purchased complies with EU RoHS Directive (2011/65/EU). It does not contain harmful and prohibited materials specified in the Directive. Package information
- Packaging materials of the product are manufactured from recyclable materials in accordance with our National Environment Regulations. Do not dispose of the packaging materials together with the domestic or other wastes. Take them to the packaging material collection points designated by the local authorities.
General information
- Induction cooking plate
- Control panel
- Base cover
- Vitroceramic surface
Technical specifications
| Voltaqe / freauencv | 220-240 V ;50 Hz |
| Total power consumption | max. 3,6 kW |
| Cable type / section | min.H05V2V2-F 3 x 1,5 mm2 |
| External dimensions (height/ width / depth) | 75 mm/288 mm/510 mm (For models that come with mounting springs and sealing gasket attached to the product, consider the width and depth measurements as 10 mm more than these measurements.) |
| Installation dimensions (width / depth) | 268 mm/490 mm |
| Burners | |
| Rear | Induction cooking plate |
| Dimension | 200mm |
| Power | 2300/3000 W (P) |
| Front | Induction cooking plate |
| Dimension | 160 mm |
| Power | 1400W |
Installation
The product must be installed by a qualified person in accordance with the regulations in force. The manufacturer shall not be held responsible for damages arising from procedures carried out by unauthorized persons which may also void the warranty. Preparation of location and electrical installation for the product is under the customers’ responsibility.AThe product must be installed in accordance with all local electricalregulationsPrior to installation, visually check if the product has any defects on it. If so, do not have it installed. Damaged products cause risks to your safety
Before installation
- The hob is designed for installation int commercially available work to s. A safety distance must be left between the appliance and the kitchen walls and furniture. See figure (values in mm).

- It can also be used in a free-standing position. Allow a minimum distance of 750 mm above the hob surface.
- If a cooker hood is to be installed above the cooker, refer to the cooker hood manufacturer’ instructions regarding installation height. If not defined any size in the hood manual, this height should be at least 650 mm.
- Remove packaging materials and transport locks.
- Surfaces, synthetic laminates and adhesives used must be heat resistant (100 °C minimum).
- The worktop must be aligned and fixed horizontally.
- Cut aperture for the hob in the worktop as per installation dimensions. Minimum height to extractor as recommended in hood instruction manual. If not recommended in the hood instruction manual, this height should be at least 650 mm.
- The minimum distance between cabinetry must be equal to the width of hob
Installation and connection
- The product must be installed in accordance with all local gas and electrical regulations.
- Do not install the hob on places with sharp edges or corners.
- There is the risk of breakage to the glass-ceramic surface!
Electrical connection
Connect the product to a grounded outlet/line protected by a miniature circuit breaker of suitable capacity as stated in the “Technical specifications” table. Have the grounding installation made by a qualified electrician while using the product with or without a transformer? Our company shall not be liable for any damages that will arise due to using the product without a grounding installation in accordance with the local regulations. The product must be connected to the mains supply only by an authorized and qualified person. The product’s warranty period starts only after correct installation. The manufacturer shall not be held responsible for damages arising from procedures carried out by unauthorized persons The power cable must not be clamped, bent or trapped or come into contact with hot parts of the product. nA damaged power cable must be replaced by a qualified electrician. Otherwise, there is risk of electric shock, short circuit or fire!
- Connection must comply with national regulations.
- The mains supply data must correspond to the data specified on the type label of the product. Type label is at the rear housing of the product.
- Power cable of your product must comply with the values in “Technical specifications” table.
- Before starting any work on the electrical installation, disconnect the product from the mains supply. There is the risk of electric shock!
Connecting the power cable
While performing the wiring, you must apply with the national/local electrical regulations and must use the appropriate socket outlet/line and plug for oven. In case of the product’s power limits are out of the current carrying capability of plug and socket-outlet/line, the product must be connected through fixed electrical installation directly without using plug and socket-outlet/line.
- If it is not possible to disconnect all poles in the supply power, a disconnection unit with at least 3 mm contact clearance (fuses, line safety switches, contactors) must be connected and all the poles of this disconnection unit must be adjacent to (not above) the product in accordance with IEE directives. Failure to obey this instruction may cause operational problems and invalidate the product warranty. Additional protection by a residual current circuit breaker is recommended.

- For single-phase connection, connect the wires as identified below:
- Brown/Black cable= L (Phase)
- Blue/Grey cable = N (Neutral)
- Green/yellow cable = (E) @ (Ground) » or
- Grey/Black cable= L (Phase)
- Blue/Brown cable = N (Neutral)
- Green/yellow cable = (E) @ (Ground)

- A min. 15 mm
- B min. 5 mm
- C 20mm
If the board is below:
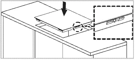
It is required to leave a ventilation opening at the rear section of the furniture as illustrated in the following figure. During the installation of your induction hob, place the product parallel to the installation surface. Also, apply a sealing gasket to the parts of the job contacting the counter as described below in order to prevent any liquid from penetrating between the product and the counter.
Easy Installation:
Some models come with mounting springs and sealing gasket attached to the product. For these models, ignore the mounting springs and bracket mounting instructions described in the manual. Place your product directly in the space where the product will be placed as shown in the figure below. For these models, consider the width and depth measurements written in the user manual as 10 mm more.
- Prepare the surface of the counter as shown in the figure.
- Turning the hob upside down, place it on a flat surface.
- When installing the hob, apply the sealing gasket, which was provided in the packaging, around the hob as shown in the following picture ensuring that it remains 1 to 2 mm inside from the outer edge of the glass

- Place the hob on the counter and align it.
- Using the installation clamps secure the hob by fitting through the holes on the lower casing

- Hob
- Installation clamp
- Counter.
When installing the hob onto a cabinet, a shelf must be installed in order to separate the cabinet from the hob as illustrated in the above figure. This is not required when installing onto a built-under oven. For example, if it is possible to touch the bottom of the product since it is installed onto a drawer, this section must be covered with a wooden plate.
- A min. 15 mm
- B min. 5 mm
Rear view (connection holes)
Location of the connection holes shown in the below figure are schematic,may vary depending on the product model. Fix them according to connection holes on your product.
- Terminal Block
- Assembly clamp
Final check
- 0perate the product.
- Check the functions.
Future Transportation
Keep the product’s original carton and transport the product in it. Follow the instructions on the carton. If you do not have the original carton, pack the product in bubble wrap or thick cardboard and tape it securely. Check the general appearance of your product for any damages that might have occurred during transportation.
Preparation
- Tips for saving energy
- The following information will help you to use your appliance in an ecological way, and to save energy:
- Defrost frozen dishes before cooking them.
- Use pots/pans with cover for cooking.
- If there is no cover, energy consumption may increase 4 times.
- Select the burner which is suitable for the bottom size of the pot to be used.
- Always select the correct pot size for your dishes. Larger pots require more energy.
- Pay attention to use flat bottom pots when cooking with electric hobs.
- Pots with thick bottom will provide a better heat conduction. You can obtain energy savings up to 1/3.
- Vessels and pots must be compatible with the cooking zones. Bottom of the vessels or pots must not be smaller than the hotplate.
- Keep the cooking zones and bottom of the pots clean. Dirt will decrease the heat conduction between the cooking zone and bottom of the pot.
Initial use
First cleaning of the appliance The surface might get damaged by some detergents or cleaning materials.
Do not use aggressive detergents, cleaning powders/creams or any sharp objects during cleaning.
Do not use harsh abrasive cleaners or sharp metal scrapers to clean the oven door glass since they can scratch the surface, which may result in shattering of the glass.
1.Remove all packaging materials.
2.Wipe the surfaces of the appliance with a damp cloth or sponge and dry with a cloth.
Initial heating
Smoke and smell may emit for a couple of hours during the initial operation. This is quite normal. Ensure that the room is well ventilated to remove the smoke and smell. Avoid directly inhaling the smoke and the smell that emits.
How to use the hob
General information about cooking
- Never fill the pan with oil more than one third of it.
- Do not leave the hob unattended when heating oil.
- Overheated oils bring risk of fire.
- Never attempt to extinguish a possible fire with water!
- When oil catches fire, cover it with a fire blanket or damp cloth. Turn off the hob if it is safe to do so and call the fire department.
- Before frying foods, always dry them well and gently place into the hot oil. Ensure complete thawing of frozen foods before frying.
- Do not cover the vessel you use whenheating oil.
- Place the pans and saucepans in a manner so that their handles are not over the hob to prevent heating of the handles. Do not place unbalanced and easily tilting vessels on the hob.
- Do not place empty vessels and saucepans on cooking zones that are switched on. They might get damaged.
- Operating a cooking zone without a vessel or saucepan on it will cause damage to the product. Turn off the cooking zones after the cooking is complete.
- As the surface of the product can be hot, do not put plastic and aluminum vessels on it.
- Clean any melted such materials on the surface immediately.
- Such vessels should not be used to keep foods either.
- Use flat bottomed saucepans or vessels only.
- Put appropriate amount of food in saucepans and pans. Thus, you will not have to make any unnecessary cleaning by preventing the dishes from overflowing.
- Do not put covers of saucepans or pans on cooking zones.
- Place the saucepans in a manner so that they are centered on the cooking zone. When you want to move the saucepan onto another cooking zone, lift and place it onto the cooking zone you want instead of sliding it. Saucepan selection
- Glass ceramic surface is heatproof and is not affected by big temperature differences.
- Do not use the glass ceramic surface as a place of storage or as a cutting board.
- Use only the saucepans and pans with machined bottoms. Sharp edges create scratches on the surface. Spills may damage the glass ceramic surface and cause fire.
- Do not use vessels with concave or convex bottoms.
- Use only the saucepans and pans with flat bottoms. They ensure easier heat transfer.
- Boiling behaviour may vary depending on the pot types, size of the pot and size of the cooking zone.
- For a more homogenous boiling behaviour a one step larger cooking zones might be used.
- To use a larger cooking zone has no negative effect on energy consumption at induction hobs, because the heat is only created in relevant pot area.
- For induction hobs, use only vessels suitable for induction cooking.
Saucepan test
- Use following methods to test whether your saucepan is compatible with the induction hob or not.
- Your saucepan is compatible if its base holds a magnet.
- Your saucepan is compatible if”‘='” does not flash when you place your saucepan on the cooking zone and start the hob.
- You can use steel, teflon or aluminium saucepans with special magnetic base that contains labels or warnings indicating that the saucepan is compatible with induction cooking.
- Glass and ceramic vessels, pots and stainless steel vessels with nonmagnetic aluminum base should not be used.
- Pan detection-focusing system In induction cooking, energy is generated only in the area where the base of the pan on the respective cooking zone covers.
- The base of the pan is detected by the induction system and only this area is automatically heated. If the pan is removed from the cooking zone during cooking, the
cooking process will be stopped.”‘='” symbol flashes.(For some hob models, the selected cooking zone level and “‘='” flash respectively.
Safe use
- Do not select high heating levels when you will use a non-sticking (teflon) saucepan with no oil or with very little oil.
- Do not put metal items such as forks, knives or saucepan covers onto your hob since they can get heated.
- Never use aluminium foil for cooking.
- Never place food items wrapped with aluminium foil onto the cooking zone.
- If there is an oven under your hob and if it is running, sensors of the hob can decrease the cooking level or turn off the hob.
- When the hob is running, keep items with magnetic properties such as credit cards or cassettes away from the hob.
Selecting cooking zone suitable to the vessel
Using the hobs
- Do not allow any object to drop on the hob. Even small objects such as a saltshaker may damage the hob.
- Do not use cracked hobs. Water may leak through these cracks and cause short circuit.
- In case of any kind of damage on the surface (eg., visible cracks), switch off the product immediately to minimize the risk of electric shock.
Control panel
Specifications
- Graphics and figures are for informational purposes only.
- Actual displays and functions may vary according to the model of your hob.
- This product is controlled with a touch control panel. Each operation you make on your touch control panel will be confirmed by an audible signal.
- Always keep the control panel clean and dry. Having damp and soiled surface may cause problems in the functions.
Turning on the hob
- Touch the “CD” key on the control panel.
- On all cooking zone displays, “O” icon appears and a decimal points flash on lower corner of this icon.
- If no operation is performed within 20 seconds, the hob will automatically return to Standby mode.

Turning off the hob
- Touch the “CD” key on the control panel.
- The hob will turn off and return to Standby mode.
- If “H” symbol appears on the cooking zone display when the hob is turned off, this indicates that the cooking zone is still hot.
- Do not touch cooking zones.
Residual heat indicator
“H” symbol that appears on the cooking zone display indicates that the hob is still hot and may be used to keep a small amount of food warm. The symbol will disappear when the cooking zone cools down or when it is activated. When power is cut off, residual heat indicator will not light up and does not warn the user against hot cooking zones.
- touch ;;CD;, key to turn on the hob:
- Touch the selection key of the cooking zone you want to turn on.
- “0” symbol appears on the cooking zone display and the related display illuminates more brightly.
- 0 If no operation is performed within 20 seconds, the hob will automatically return to Standby mode
Setting the temperature level
Touch “+” or “-” keys to set the temperature level between “1” and “9” or “9” and “1”.
Turning off the cooking zones:
- cooking zone can be turned off in 2 different ways:
- By dropping the temperature level to “0”
- You can turn the cooking zone off by dropping the temperature adjustment to “0” level.
- By using the turning off through the timer option for the desired cooking zone
- When the time is over, the timer will turn off the cooking zone assigned t it. “0” or “00” will appear on all displays.
- When the time is over, an audible alarm will sound. Touch any key on the control panel to silence the audible alarm.
High Power (Booster)
Booster is a function which facilitates cooking. All cooking zones indicated with “P” symbol in the Technical Specifications table are equipped with
Booster function.
Turning on High Power (Booster):
- Touch “CD” key to turn on the hob.
- Touch the selection key of the cooking zone you want to turn on.
- Touch “+” or”-” and firstly reach level “9”.
- When the cooking zone is on level “9”, touch “+” once to change cooking zone’s temperature to “P”.
Turning off High Power (Booster):
- To disable the Booster function, touch “-” and set the temperature to level 11911
- The cooking zone goes out of booster and continues to operate at level “9”.
- You can decrease the temperature level by touching “-” or you can switch off the cooking zone completely by decreasing the temperature level to “O”.
- High Power (Booster) operate for 5 minutes, then the temperature drops to the 9th level.
Child Lock
- You can protect the hob by child lock to prevent children from changing hob functions.
- Child lock can be activated within 10 seconds after the hob is switched on. It cannot be activated after 10 seconds.
Activating the Child Lock
- Touch “CD” to turn on the hob.
- When the cooking zone is on level “9”, touch “+” once to change cooking zone’s temperature to “P”.

Turning off High Power (Booster):
- To disable the Booster function, touch”-” and set the temperature to level 11911_
- Cooking zone goes out of booster and continues to operate at level “9”.
- You can decrease the temperature level by touching “-” or you can switch off the cooking zone completely by decreasing the temperature level to “O”.
- High Power (Booster) operate for 5 minutes, then the temperature drops to the 9th level.
Child Lock
You can protect the hob by child lock to prevent children from changing hob functions. Child lock can be activated within 10 seconds after the hob is switched on. It cannot be activated after 10 seconds.
Activating the Child Lock
- Touch “CD” to turn on the hob. If any key is pressed when the child lock is active, “L” symbol will appear on cooking zone displays

Deactivating child lock temporarily
- When the child lock is active, touch”-” and ,,c:J,, keys simultaneously.» Child lock will be deactivated temporarily and “O” symbol will appear on all cooking zone displays.
- f the hob is turned off and on in this condition, child lock will be still active.
Deactivating child lock permanently
- When the child lock is active, touch “CD” key to switch on the hob.
- Within 10 seconds, touch “-” and ,,c:J,, keys simultaneously. Then, touch “-” key again. » Child lock will be deactivated permanently and “O” symbol will appear on all cooking zone displays.
Timer function
This function facilitates cooking for you. It will not be necessary to attend the oven for the whole cooking period. Cooking zone will be turned off
Activating the timer
- Touch “CI)” key to turn on the hob.
- Select the desired cooking zone by touching the cooking zone selection keys.

- Touch “+” or”-” keys to set the desired temperature level.

- Touch and”-” keys simultaneously to activate the timer. “00” symbol will illuminate on timer display and a decimal point will appear on the selected cooking zone display.
- Right rear and left rear cooking zone displays serve as timer display when the timer is active.
- Touch “+” or”-” keys to set the desired time.

Using the timer as an alarm function (Egg-timer)
- With this function, it is possible to set the timer independently from cooking zone.
- Touch “CI)” key to turn on the hob.
- Touch “+”and”-” keys simultaneously to activate the timer.
- Touch “+”and”-” keys simultaneously to activate the timer.”00″ symbol will be displayed by a blinking of both decimal dots in the timer displays.
- Touch “+” or”-” keys to set the desired time.
Deactivating the timer
Once the set time is over, the hob will automatically tum off and give an audible warning. Press any key to silence the audio warning.
Turning off the timers earlier
If you turn off the timer earlier, the hob will carry on operating at the set temperature until it is turned off.
- Select the cooking zone you want to turn off.
- Touch “+”and”-” keys simultaneously to activate the timer.
- Until “00” appears on the timer screen, touch “-” to set the value to “00”.
- Dot shaped light on the relevant cooking zone display and the timer display itself turns off completely after having flashed for a certain period of time and the timer is cancelled.
Using induction cooking zones safely and efficiently
Operating principles: Induction hob heats directly the cooking vessel as a feature of its operating principles. Therefore, it has various advantages when compared to other hob types. It operates more efficiently and the hob surface does not heat up. Induction hob is equipped with superior safety systems that will provide you maximum usage safety. Your hob can be equipped with induction cooking zones with a diameter of 160, 200 and 250 mm depending on the model. With induction feature, each cooking zone detects each vessel placed on them. Energy builds up only where the vessel contacts with the cooking zone and thus, minimum energy consumption is achieved.
Overheating protection
- Your hob is equipped with some sensors ensuring protection against overheating. The following may be observed in case of overheating:
- Active cooking zone may be turned off.
- Selected level may drop. However, this condition cannot be seen on the indicator.
- E2 error might be given.
Overflow safety system
Your hob is equipped with overflow safety system. If there is any overflow that spills onto the control panel, system will give error and the hob will be automatically turned off.
Precise power setting
Induction hob reacts to commands immediately as a feature of its operating principles. It changes the power settings very fast. Thus, you can prevent a cooking pot (containing water, milk and etc.) from overflowing even if it was just about to overflow.
Operating noisy
- Some noises may arise from the induction hob. These sounds are normal and a part of induction cooking.
- Noise becomes prominent in high temperature levels.
- Alloy of the saucepan can cause noise.
- In low levels, a regular on/off sound can be heard because of the operating principles.
- Noise can be heard if an empty saucepan is heated. When you put water or food in it, this sound will clear away.
- The noise of the fan that cools the electric system can be heard.
Error messages
Table-2: Error codes and error sources
| uiausaef arr0r | lmi:lleater | iulsmlaw |
| Overheat error | “E2” symbol flashes | Relevant cooking zone disolav |
| Hob overheated | “H” symbol flashes | Cooking zone disolav |
| Mains errors | “E6” symbol flashes | Cooking zone disolav |
| Sensor failure | “E9” symbol flashesr | Relevant cooking zone disolav |
Maintenance and care
General information
- The service life of the product will extend and the possibility of problems will decrease if the product is cleaned at regular intervals.
- Disconnect the product from mains supply before starting maintenance and cleaning works.
- There is the risk of electric shock!
- Allow the product to cool down before you clean it.
- Hot surfaces may cause burns!
- Clean the product thoroughly after each use. In this way it will be possibleto remove cooking residues more easily, thus avoiding these from burning the next time the appliance is used.
- No special cleaning agents are required for cleaning the product. Use warm water with washing liquid, a soft cloth or sponge to clean the product and wipe it with a dry cloth.
- Always ensure any excess liquid is thoroughly wiped off after cleaning and any spillage is immediately wiped dry.
- Do not use cleaning agents that contain acid or chloride to clean the stainless or inox surfaces and the handle. Use a soft cloth with a liquid detergent (not abrasive) to wipe those parts clean, paying attention to sweep in one direction.
Cleaning the hob
Glass-ceramic surface
- Wipe the glass-ceramic surface (vitroceramic) with cold water, paying attention to leave no residual cleaning agents, and dry with soft clothing.
- Residues may cause damage on the glass-ceramic surface when using the hob for the next time.
- Dried residues on the glass ceramic surface (vitroceramic) should under no circumstances be scraped with hook blades, steel wool or similar tools.
- Remove calcium stains (yellow stains) with commercially available lime remover or a small amount of lime remover such as vinegar or lemon juice.
- If the surface is heavily soiled, apply the cleaning agent on a sponge and wait until it is absorbed well. Then, clean the surface of the hob with a damp cloth.
Troubleshooting
- Product emits metal noises while heating and cooling~!
- When the metal parts are heated, they may expand and cause noise. >>> This is not a fault.
- The product does not operate.I
- The mains fuse is defective or has tripped. >>> Check fuses in the fuse box. If necessary, replace or reset them.
- Product is not plugged into the (grounded) socket. >>> Check the plug connection.
- If the display does not light up when you switch the hob on again. >>> Disconnect the appliance at the circuit breaker. Wait 20 seconds and then reconnect it.
- Overheat protection is active. >>> Allow your hob to cool down.
- The cooking pot is not suitable. >>> Check your pot. [11’=’11 ~ymbol appears on the cooking zone dispJ~Y~I
- You have not placed the pot on the active cooking zone.>>> Check if there is a pot on the cooking zone.
- Your pot is not compatible with induction cooking. >>> Check if your cooking pot is compatible with induction hob.
- The cooking pot is not centered properly or the bottom surface of the pot is not wide enough for the cooking zone. >>> Choose a pot wide enough and center the pot on the cooking zone properly.
- Cooking pot or cooking zone is overheated. >>> Allow them to cool down.
- Selected cooking zone suddenly turns off during c:>peration.l
- Cooking time for the selected cooking zone may be over. >>> You may set a new cooking time or finish cooking.
- Overheat protection is active. >>> Allow your hob to cool down.
- An object may be covering the touch control panel. >>> Remove the object on the anel. II~~ pot does not get warm even if the cooking zone is on.I
- Your pot is not compatible with induction cooking. >>> Check if your cooking pot is compatible with induction hob.
- The cooking pot is not centered properly or the bottom surface of the pot is not wide enough for the cooking zone. >>> Choose a pot wide enough and center the pot on the cooking zone properly. 0 Consult the Authorised Service Agent or technician with licence or the dealer where you have purchased the product if you can not remedy the trouble although you have implemented the instructions in this section. Never attempt to repair a defective product yourself






























