COOPERS OF STORTFORD H632 Retro CD Boombox

H632 BLK – BLACK
H632 RE – RED
H632 CR – CREAM
Dimensions
(H) 19cm x(W) 36cm x(D) 12cm
- VERTICAL LOADING CD PLAYER
- LEATHER LOOK CARRY HANDLE
- SUPPORT CD-R/RW & MP3 AUDIO FILES
- SUPPORT USB PLAYBACK
- AM/FM ANALOGUE RADIO
- OUTPUT POWER: 2 X 1W
- WITH LCD DISPLAY
Technical data
Frequency Range: AM: 522-1620KHz FM: 87-108 MHz
Power Source . AC-230V 50Hz 14W
Requires 6 C batteries, not included
- WARNING: Please refer the information on exterior bottom enclosure for electrical and safety information before installing or operating the apparatus.
- WARNING: To reduce the risk of fire or electric shock, do not expose this apparatus to rain or moisture. The apparatus shall not be exposed to dripping or splashing and that no objects filled with liquids, such as vases, shall be placed on apparatus.
- WARNING: The battery (battery or batteries or battery pack) shall not be exposed to excessive heat such as sunshine, fire or the like.
- WARNING: The mains plug is used as disconnect device, the disconnect device shall remain readily operable.
- Invisible laser radiation when open and interlocks defeated. Avoid exposure to beam of laser.
- No naked flame sources, such as lighted candles, should be placed on the apparatus.
- Use of the apparatus in moderate climates.
- The rating and marking information are located at the bottom of the unit.
CAUTION
Danger of explosion if battery is incorrectly replaced.
Replace only with the same or equivalent type
TO PREVENT FIRE OR SHOCK HAZARD DO NOT EXPOSE THIS APPLIANCE TO RAIN OR MOISTURE.
LIGHTING FLASH WITH ARROWHEAD SYMBOL –within an equilateral triangle, is intended to alert the user to the presence of uninsulated dangerous voltage within the products enclosure that may be of sufficient magnitude to constitute a risk of electric shock to persons.
EXCLAMATION POINT – within an equilateral triangle is used to indicate that a specific component shall be replaced only by the component specified in that documentation for safety reason.
WARNING
The following label has been affixed to the unit, listing the proper procedure for working with the laser beam:
CLASS 1 LASER PRODUCT
KLASS 1 LASER APPARAT
LUOKEN 1 LAISERLAITE
KLASSE 1 LASER PRODUKT
CLASS 1 LASER PRODUCT LABEL –
This label is attached to the place as illustrated to inform that the apparatus contains a laser component.
WARNING LABEL INFORMING OF RADIATION –
This label is placed inside the unit. As shown in the illustration. To warn against further measures on the unit. The equipment contains a laser radiating laser rays according to the limit of laser product of class 1.
SAFETY INSTRUCTIONS
- READ INSTRUCTIONS – All the safety and operating instructions should be read before the appliance is operated.
- RETAIN INSTRUCTIONS – The safety and operating instruction should be retained for future reference.
- HEED WARNINGS – All warnings on the appliance and in the operating instructions should be adhered to.
- FOLLOW INSTRUCTIONS – All operating instructions should be followed.
- WATER AND MOISTURE – The appliance should not be used near water, for example, near a bathtub, washbowl, kitchen sink, laundry tub, swimming pool or in a wet basement.
- VENTILATION – The appliance should be situated so that its location or position does not interfere with its proper ventilation. Do not place on bed, sofa, rug or similar surface that may block the ventilation openings, in a built-in installation, such as a bookcase or cabinet that may impede the flow of air through the ventilation openings.
- HEAT – The appliance should be situated away from heat sources such as radiators, stoves, or other appliances (including amplifiers) that produce heat.
- POWER SOURCE – The appliance should be connected to power supply only of the type described in the operating instructions or as marked on the appliance.
- POWER CORD PROTECTION – Power supply cords should be routed so that they are not likely to be walked on or pinched by items placed upon or against them.
- OBJECT and LIQUID ENTRY – Care should be taken so that objects are not dropped and liquids are not spilled into the enclosure through openings.
- ESD WARNING – The display does not function properly or no reaction to operation of any the control may be due to the electrostatic discharge. Switch off and unplug the set. Reconnect after a few seconds.
- DAMAGE REQUIRING SERVICE – The appliance should be serviced by qualified service personnel when:
a. The power-supply cord or plug has been damaged.
b. Objects have fallen into, or liquid has been spilled into the appliance enclosure.
c. The appliance has been exposed to rain.
d. The appliance has been dropped, or the enclosure damaged.
e. The appliance does not appear to operate normally. - SERVICING – The user should not attempt to service the appliance beyond that described in the user operating instructions. All other servicing should be referred to qualified service personnel.
Notes:
a. Dirty or scratched CD may cause a skipping problem. Clean or replace the CD.
b. If an error display or malfunction occurs, disconnect the AC cord and remove all the batteries. Then turn the power back on.
BEFORE OPERATION
Notes: CONCERNING COMPACT DISCS.
Since dirty, damaged or warped discs may damage the appliance, care should be taken of the following items:
a. Usable compact discs. Use only compact disc with the mark shown below.
b. CD compact disc only with digital audio signals.
The mains plug is used as the disconnect device.
The socket-outlet shall be installed near the equipment and shall be easily accessible.
To avoid replacement of a battery with an incorrect type
Do not dispose of a battery into fire or a hot oven, or mechanically crushing or cutting of a battery.
Do not leaving a battery in an extremely high temperature surrounding environment
To avoid battery subjected to extremely low air pressure.
FEATURES
- CD player: CD, CD-R/RW
- AM/FM radio
- USB input
- Auxiliary input
- Programmable CD tracks
- LCD display
- Built-in speakers
- AC power: detachable AC cord
- DC power: requires 6 C batteries, not included
In the Box
- Detachable AC Cord
- Documentation
POWERING THE UNIT
AC Power – Plug the detachable AC cord into a standard AC outlet (240V~60Hz)

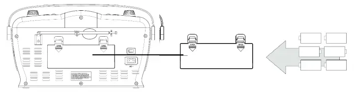
Battery Power – Requires 6 C batteries, not included.

LOCATIONS OF CONTROLS

CONTROL DEFINITIONS
- Volume Dial – Turn the Volume Dial to adjust the volume of the unit.
- Repeat Button – Press the Repeat Button once to repeat the current CD track. Press the Repeat Button twice to repeat the entire album.
- Program Button – Press the Program Button, in CD mode, to program up to 20 CD tracks.
- Forward/Search Button – Press the Forward/Search Buttons to forward the next CD tracks or MP3 files from the USB mode. Press and hold the Forward/Search Buttons to search through a single CD track or MP3 file.
- Backward/Search Buttons – Press the Backward/Search Buttons to play the previous CD tracks or MP3 files from the USB mode. Press and hold the Backward/Search Buttons to search through a single CD track or MP3 file.
- Tuning Dial – Turn the Tuning Dial to adjust the AM or FM radio station.
- Mode Button – In CD mode, press Mode Button to switch on USB mode and play the MP3 files from the USB flash drive automatically. Press Mode Button again to switch it back into CD mode.
- Folder Button – In USB mode, press the Folder Button to play the MP3 files stored under the subfolders from the USB flash drive.
- Stop Button – Press the Stop Button to stop a CD/MP3 file during play.
- Play/Pause Button – Press the Play/Pause Button to play or pause a loaded CD or MP3 file.

- Power Switch (CD/AUX, Off, AM, FM) – Adjust the Power Switch to select CD/AUX, Off, AM, or FM mode.
- USB Port – Use the USB port to connect an external audio source (MP3 files stored in USB flash drive) to the unit.
- Auxiliary Input – Use the Auxiliary Input to connect an external audio source (MP3 player) to the unit.
- Antenna – Fully extend and vary position of the antenna to find the strongest FM radio signal.
- Batteries Door – Requires 6 C Batteries (not included)
- AC Power Input – Use the AC Power Input to connect the unit to an AC power source.
TUNING THE AM OR FM RADIO
Step 1: Adjust the Power Switch to AM or FM mode.
Step 2: Turn the Tuning Dial to the desired AM or FM station.
Step 3: Fully extend and vary position of the antenna to find the strongest FM radio signal.
PLAYING A CD
Step 1: Push open the CD door and place a CD or CD-R/RW into the player.
Step 2: Adjust the Power Switch to CD/AUX mode.
Step 3: Press the Play/Pause Button to begin playing the loaded CD.

PROGRAMMING A CD
Step 1: Open the CD door, and place a CD or CD-R/RW into the player.
Step 2: Adjust the Power Switch to CD/AUX mode.
Step 3: Press the Program Button.
Step 4: Press the Forward/Backward Buttons to select the CD track to play.
Step 5: Press the Program Button.
Step 6: Repeat Steps 4-5 to program up to 20 total CD tracks.
USING USB PORT INPUT
Step 1: Insert the USB flash drive into USB port located on the side of the unit.
Step 2: Adjust the Power Switch to CD/AUX mode.
Step 3: Press the Mode Button to switch on USB mode and play the MP3 files automatically.
Step 4: Press the Folder Button to play the MP3 files stored under the subfolders.
Step 5: Press the Mode Button again to return CD mode.
USING THE AUXILIARY INPUT
Step 1: Connect a mini-phono 3.5mm Cable (not included) to the Auxiliary Input on the unit and the audio output on an MP3 player.
Step 2: Adjust the Power Switch to CD/AUX mode. Audio played through the connected MP3 player will now be heard through the unit.
PLUG WIRING (UK & IRELAND)
This appliance is supplied with a mains adaptor/charger with BS1363 plug pins.
- DO NOT use If the socket outlets in your home or office are not suitable for this product’s mains adaptor/ charger plug pins. Attempts to insert the mains adaptor/charger into the wrong socket is likely to cause electric hazard or damage.
- DO NOT use with any other mains transformer/charger than the one that is supplied with this product.
DISPOSAL
- Coopers of Stortford use recyclable or recycled packaging where possible.
- Please dispose of all packaging, paper, cartons, packaging in accordance with your local recycling regulations.
- Plastics, polybags – Contains the following recyclable plastic.
Code & Symbol 
Type of Plastic ABS Commonly used for CD’s, crisp packets, various flexible packaging, baby bottles, sunglass lenses Notes Not often or widely recycled - At the end of the product’s lifespan please check with your local council authorised household waste recycling centre for disposal.
UK Head Office, 11 Bridge Street, Bishop’s Stortford, CM23 2JU
Tel: 0844 4824400*, Fax: 01279 756595
www.coopersofstortford.co.uk
EU address: D.S.B. LD, 160 Bd. de Fourmies, 59100 Roubaix, France
Tel: (+44) 1279 701269
UK Calls cost around 7 pence per minute plus your telephone company’s network access.
Please check with your telephone supplier.















![Insignia Cd Boombox [ns-b4111] User Manual Insignia Cd Boombox [ns-b4111] User Manual](https://static-data1.manualsee.com/1/img/365/16039/2020/12/Pasted-into-Insignia-CD-Boombox-NS-B4111-User-Manual.png)






