
INSTRUCTION MANUAL
APPEARANCE
MAGNETIC WIRELESS CHARGING+CAR HOLDER
Input: 5V/2A 9V/2A(Max)
Output. 5W 7.5W 10W 15W [Max)
Size: 61 mm X 84mm X 71 mm/55g
Suitable for: Mobile phone
Colour: Black

PRODUCT OVERVIEW

- Wireless charging area
- Led indicator
- USB-C port
SPECIFICATION

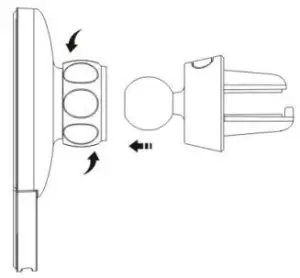
ASSEMBLE METHOD
- Lock: clockwise
Unlock: anti-clockwise
- Start wireless charging for the phone by inserting a type cable to charge for a car phone mount.

FCC statement:
This device complies with Part 15 of the FCC rules. Operation is subject to the following two conditions: 1) this device may not cause harmful interference, and 2) this device must accept any interference received, including interference that may cause undesired operation.
Note: This equipment has been tested and found to comply with the limits for a Class B digital device, pursuant to part 15 of the FCC Rules. These limits are designed to provide reasonable protection against harmful interference in a residential installation.
This equipment generates uses and can radiate radio frequency energy and, if not installed and used in accordance with the instructions, may cause harmful interference to radio communications. However, there is no guarantee that interference will not occur in a particular installation. If this equipment does cause harmful interference to radio or television reception, which can be determined by turning the equipment off and on, the user is encouraged to try to correct the interference by one or more of the following measures:
–Reorient or relocate the receiving antenna.
–Increase the separation between the equipment and receiver.
–Connect the equipment into an outlet on a circuit different from that to which the receiver is connected.
–Consult the dealer or an experienced radio/TV technician for help.
Changes or modifications not expressly approved by the party responsible for compliance could void the user’s authority to operate the equipment. Radiation Exposure Statement
This device complies with FCC RF radiation exposure limits set forth for an uncontrolled environment. This transmitter must not be co-located or operating in conjunction with any other antenna or transmitter. During the operation of the device, a distance of 15 cm surrounding the device and 20 cm above the top surface of the device must be respected.






















