ProBreeze AF-02-UK-FBA Digital Air Fryer

Digital Air Fryer | Model AF-02
Thank you for choosing to purchase a product from Pro Breeze. Please read the entire manual carefully prior to first use and keep in a safe place for future reference.
SAFETY INSTRUCTIONS
- Check that the voltage of the main circuit corresponds with the rating of the appliance before operating.
- This appliance can be used by children aged from 8 years and above and persons with reduced physical, sensory or mental capabilities or lack of experience and knowledge if they have been given supervision or instruction concerning use of the appliance in a safe way and understand the hazards involved. Children shall not play with the appliance. Cleaning and user maintenance shall not be made by children without supervision.
- This appliance contains no user serviceable parts. If the power supply cord, plug or any part of the appliance is malfunctioning or if it has been dropped or damaged, only a qualified electrician should carry out repairs. Improper repairs may place the user at risk of harm.
- Keep the appliance and its power supply cord out of the reach of children.
- Keep the appliance and its power supply cord away from heat or sharp edges that could cause damage.
- Keep the power supply cord away from any parts of the appliance that may become hot during use.
- Keep the appliance away from other heat emitting appliances.
- Do not immerse the appliance in water or any other liquid.
- Do not operate the appliance with wet hands.
- Do not leave the appliance unattended whilst connected to the main power supply.
- Do not remove the appliance from the main power supply by pulling the cord; switch it off and remove the plug by hand.
- Do not use the appliance for anything other than its intended use.
- Do not use any accessories other than those supplied.
- Do not use this appliance outdoors.
- Do not place the appliance on or near combustible materials such as a tablecloth.
- Do not store the appliance in direct sunlight or in high humidity conditions.
- Do not move the appliance whilst it is in use.
- Do not place anything on top of the appliance.
- Do not touch any section of the appliance that may become hot or the heating components of the appliance, as this could cause injury.
- Do not press the frying basket release button whilst shaking the frying basket within the frying bin.
- Do not use sharp or abrasive items with this appliance; use only heat resistant plastic or wooden spatulas to avoid damaging the non-stick surface.
- Do not place the appliance against a wall or other appliances. Leave at least 10cm free space around all sides and the top of the appliance.
- During hot air frying, hot steam is released through the air outlet openings. Keep your hands and face at a safe distance from the steam and the air outlet openings.
- Always unplug the appliance after use and before any cleaning or user maintenance.
- Always ensure that the appliance has cooled fully after use before performing any cleaning or maintenance or storing away.
- Always use the appliance on a stable, heat resistant surface, at a height that is comfortable for the user.
- Always put ingredients to be cooked in the frying basket.
- Avoid using extension cables as they may overheat and cause a fire risk.
- This appliance should not be operated by means of an external timer or separate remote-control system.
- This appliance is intended for domestic use only. It should not be used for commercial purposes.
- The outer surface of the appliance may get hot during operation.
SPECIFICATIONS
- Rated Voltage and Frequency: 220-240V~ 50Hz
- Wattage: 1800W
- Size: 31.1cm x 37.1cm x 38.1cm
- Net Weight: 5.3kg
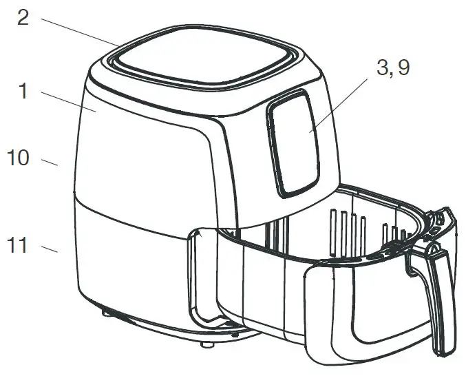
PARTS
- Upper housing
- Air inlet
- Control panel
- Frying basket
- Push-release cover
- Push-release button
- Frying basket handle
- Frying bin
- Digital display
- Air outlet
- Power cable


CONTROL PANEL
- On/Off button
- Temperature increase button
- Temperature decrease button
- Pre-set mode selection button
- Time increase button
- Time decrease button
- Cooking pre-sets
- Heating indicator
- Fan indicator
- Temperature indicator
- Timer indicator

BEFORE FIRST USE
- Remove all packaging material from the air fryer parts.
- Thoroughly wash the frying basket and frying bin with warm, soapy water, then rinse and dry thoroughly.
- Do not immerse the air fryer main unit in water or any other liquid.
- Do not use harsh or abrasive cleaning detergents or scourers to clean the air fryer or its parts as this could cause damage.
- Place the air fryer on a flat, stable, heat resistant surface.
- Your air fryer is now ready for use.
PREHEATING
Preheating is recommended prior to adding ingredients to the non-stick frying basket, unless the air fryer is already hot. Food will not cook thoroughly without preheating.
- Insert the plug into a suitable socket.
- Press the On/Off button.
- Press the temperature increase and decrease buttons to set the desired cooking temperature.
- Press the time decrease button to set a timer for five minutes for preheating and press the On/Off button to begin the preheating.
- During preheating the heating indicator and fan indicator will illuminate.
- When the timer reaches zero beeping will sound and the air fryer is ready for cooking.
PRE-SET OPERATING INSTRUCTIONS
Seven cooking pre-sets, each programmed with an ideal temperature and time for quick and easy cooking.

- Preheat the air fryer.
- Carefully remove the frying bin after preheating by pulling on the handle and place it on a flat, stable, heat resistant surface.
- Place the ingredients into the non-stick frying basket and then replace the frying bin into the preheated air fryer.
- Press the pre-set mode selection button to cycle through and select one of the seven cooking pre-sets.
- Press the On/Off button to begin cooking. During cooking the heating indicator and fan indicator will illuminate.
- Some ingredients may require shaking hallway through the cooking time. Remove the frying bin by pulling on the handle. The timer will pause whilst the frying bin is removed.
- Check that the push-release cover is covering the push-release button, taking care not to release the hot frying basket. Shake the frying bin gently and then replace it into the air fryer. The air fryer will return to operating at the set temperature and the timer will un-pause When the timer reaches zero beeping will sound and the automatic switch-off will activate turning the air fryer off. Remove the frying bin by pulling on the handle and place it onto a flat, stable, heat resistant surface.
- If the food is cooked press the push-release button and remove the frying basket from the frying bin and serve. For larger or fragile foods use a pair of heat resistant tongs.
- If the food requires further cooking, replace the frying bin into the air fryer and set the timer for a few extra minutes.
Notes
- If the temperature or time needs to be adjusted during use, simply use the temperature and timer increase and decrease buttons as required and the air fryer will automatically adjust.
- Once the set temperature is reached the heating indicator will turn off. If the temperature falls below the set temperature the air fryer will start heating again and the heating indicator will illuminate.
- Once the timer comes to an end the fan indicator will continue to illuminate for 20 seconds as the internal fan cools the air fryer down.
MANUAL OPERATING INSTRUCTIONS
- Preheat the air fryer.
- Carefully remove the frying bin after preheating by pulling on the handle and place it on a flat, stable, heat resistant surface.
- Place the ingredients into the non-stick frying basket and then replace the frying bin into the pre-heated air fryer.
- Select the appropriate temperature and timer settings for the ingredients using the temperature and timer increase and decrease buttons. See the cooking guide for further information.
- Press the On/Off button to begin cooking. During cooking the heating indicator and fan indicator will illuminate.
- Some ingredients may require shaking hallway through the cooking time. Remove the frying bin by pulling on the handle. The timer will pause whilst the frying bin is removed. Check that the push-release cover is covering the push-release button, taking care not to release the hot frying basket. Shake the frying bin gently and then replace it into the air fryer. The air fryer will return to operating at the set temperature and the timer will un-pause
- When the timer reaches zero beeping will sound and the automatic switch-off will activate turning the air fryer off. Remove the frying bin by pulling on the handle and place it onto a flat, stable, heat resistant surface.
- If the food is cooked press the push-release button and remove the frying basket from the frying bin and serve. For larger or fragile foods use a pair of heat resistant tongs.
- If the food requires further cooking, replace the frying bin into the air fryer and set the timer for a few extra minutes.
Notes
- If the temperature or time needs to be adjusted during use, simply use the temperature and timer increase and decrease buttons as required and the air fryer will automatically adjust.
- Once the set temperature is reached the heating indicator will turn off. If the temperature falls below the set temperature the air fryer will start heating again and the heating indicator will illuminate.
- Once the timer comes to an end the fan indicator will continue to illuminate for 20 seconds as the internal fan cools the air fryer down.
COOKING GUIDE
Note: This is a cooking guideline only and cooking should always be monitored.
Potatoes and Chips
| Food | Amount (g) | Time (Min) | Temperature (°C) |
| Thin frozen chips | 300 – 800 | 16 – 18 | 200 |
| Thick frozen chips | 300 – 800 | 18 – 20 | 200 |
| Homemade chips | 300 – 800 | 18 – 25 | 200 |
| Homemade potato wedges | 300 – 800 | 18 – 25 | 180 |
Meat and Poultry
| Food | Amount (g) | Time (Min) | Temperature (°C) |
| Steak | 100 – 600 | 8 – 15 | 160 |
| Lamb chops | 100 – 600 | 15 – 20 | 180 |
| Pork chops | 100 – 600 | 18 – 20 | 180 |
| Hamburger | 100 – 600 | 18 – 20 | 180 |
| Chicken breast | 100 – 600 | 15 – 25 | 200 |
| Chicken wings | 100 – 600 | 20 – 25 | 180 |
| Frozen chicken nuggets | 100 – 600 | 10 – 15 | 200 |
Fish
| Food | Amount (g) | Time (Min) | Temperature (°C) |
| Fish | 100 – 600 | 20 – 25 | 180 |
| Frozen fish fingers | 100 – 600 | 10 – 20 | 180 |
Baking and Cakes
| Food | Amount (g) | Time (Min) | Temperature (°C) |
| Quiche | 400 | 20 – 22 | 180 |
| Cake | 400 | 20 – 25 | 160 |
CLEANING AND MAINTENANCE
Make sure the air fryer is cleaned after every use.
- Prior to cleaning ensure the air fryer has fully cooled down and is unplugged from the socket.
- To clean the frying basket and frying bin soak them in warm water with detergent for 10 minutes. Alternatively, both items can be washed safely in the dishwasher.
- To clean the air fryer main unit, use a soft, damp cloth with a small amount of detergent.
- Once clean ensure all air fryer parts are thoroughly dry before using again.
Note: Do not use harsh or abrasive cleaning detergents or scourers to clean the air fryer or its parts as this could cause damage.
STORAGE
- Ensure the air fryer is unplugged from the socket, fully clean, and dry.
- Store on a flat, stable, dry surface out of reach of children.
DISPOSAL
This marking indicates that this product should not be disposed of with other household waste throughout the EU. This is to prevent possible harm to the environment and human wellbeing. Contact your local authority for information regarding the collection systems available. If possible, recycle it responsibly to promote the sustainable reuse of resources.
Labs Atrium, Stables Market, Chalk Farm Road, London, NW1 8AH, UK



















