petwant W3 Pet Water Fountain

Product Glance

Assemble Your Fountain
- Place the pump in designed location as the figure.

- Add water as needed. Water le -vel should be always above the “MIN” water line indicated on the main body.

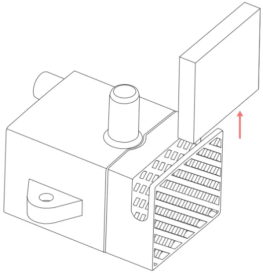
- Place the filter in the basin and install the top cover.

- Make sure your hands and plugs are dry before plug in the fountain.

Fountain Specifications
| Item No. | W3 |
| Dimension | 182X181Xl 14mm |
| Material | ABS |
| Net Weight | 475g |
| Capacity | 1.7 L |
| Power Supply | SV 7 A USB Cable |
Pump Cleaning
- Take out the pump sponge.

- Squeeze on either side of the intake plate and pull off.

- Remove the stator by placing your finger nail under the small lip.

- Lift the impeller and clean it.
Important Safety Instruction
- When the device is not in use, the power should be turned off.
- The power should be turned off while cleaning the base. Ensure that it is fully dry before use.
- Make sure the water level in the tank is between the “MIN” and “MAX” water line which is marked inside the main body.
- When the water level is below the “MIN” , the device will stop to work. Add water to restart the device.
- Replace the Purification Filter every two to four weeks.
- Excess impurities on the filter will reduce water quality and lower the water penetration speed. We recommend cleaning the filters each time you clean the device.
- Resin the filter throughly under cool water before placing into the filter area. Rinsing will remove a majority of the loose charcoal dust.

























