![]()
READ THESE INSTRUCTIONS AND SAVE THEM FOR FUTURE USE

DC Epic
Installation Guide
For Model:
DCEP70
WARNING:
DC Motor will not operate until blades are installed

APPROVED FOR USE
IN DAMP LOCATIONS
net weight of fan: 17.19 lb (7.8 kg)
PRINTED IN CHINA
SAFETY TIPS.
WARNING: To reduce the risk of electrical shock, turn off the electricity to the fan at the main fuse box or circuit panel before you begin the fan installation or before servicing the fan or installing accessories.
1. READ ALL INSTRUCTIONS AND SAFETY INFORMATION CAREFULLY BEFORE INSTALLING YOUR FAN AND SAVE THESE INSTRUCTIONS.
CAUTION: To avoid personal injury, the use of gloves may be necessary while handling fan parts with sharp edges.
2. Make sure all electrical connections comply with Local Codes or Ordinances, the National Electrical Code, and ANSI/NFPA 70-1999. If you are unfamiliar with electrical wiring or if the house/building wires are different colors than those referred to in the instructions, please use a qualified electrician.
3. Make sure you have a location selected for your fan that allows clear space for the blades to rotate, and at least seven (7) feet (2.13 meters) of clearance between the floor and the fan blade tips. The fan should be mounted so that the tips of the blades are at least thirty (30) inches (76 centimeters) from walls or other upright structures.
4. The outlet box and ceiling support joist used must be securely mounted, and capable of supporting at least 35 pounds (16 kilograms). The box must be supported directly by the building structure. Use only ETL or UL listed outlet boxes marked “FOR FAN SUPPORT.”
WARNING: To reduce the risk of fire, electrical shock, or personal injury, mount to the outlet box marked “Acceptable for Fan Support of 15.9 kg (35 lb) or less,” and use the mounting screws provided with the outlet box. Most outlet boxes commonly used for the support of lighting fixtures are not acceptable for fan support and may need to be replaced. Consult a qualified electrician if in doubt.
WARNING: To reduce the risk of fire, electrical shock, or personal injury, wire connectors provided with this fan are designed to accept only one 12 gauge house wire and two lead wires from the fan. If your house wire is larger than 12 gauge or there is more than one house wire to connect to the corresponding fan lead wires, consult an electrician for the proper size wire connectors to use.
5. Electrical diagrams are for reference only. Light kits that are not packed with the fan must be UL listed and marked suitable for use with the model fan you are installing. Switches must be UL general use switches. Refer to the instructions packaged with the light kits and switches for proper assembly.
6. After installation is complete, check that all connections are absolutely secure.
7. After making electrical connections, spliced conductors should be turned upward and pushed carefully up into the outlet box. The wires should be spread apart with the grounded conductor and the equipment-grounding conductor on opposite sides of the outlet box.
WARNING: To reduce the risk of serious bodily injury, DO NOT use power tools to assemble any part of the fan, including the blades.
WARNING: To reduce the risk of fire or electrical shock, do not use this fan with any solid state speed control device or control fan speed with a full range dimmer switch. [Using a full range dimmer switch to control fan speed will cause a loud humming noise from fan.] (NOTE: This fan is suitable for use with remote control.)
8. Do not operate the reverse switch until fan has come to a complete stop.
9. Do not insert anything between the fan blades while they are rotating.
WARNING: To reduce the risk of personal injury, do not bend the blade arms during assembly or after installation. Do not insert objects into the path of the blades.
WARNING: To avoid personal injury or damage to the fan and other items, be cautious when working around or cleaning the fan.
10. Do not use water or detergents when cleaning the fan or fan blades. A dry dust cloth or lightly dampened cloth will be suitable for most cleaning.
WARNING: To reduce the risk of personal injury, use only parts provided with this fan. The use of parts OTHER than those provided with this fan will void the warranty.
WARNING: This fan MUST be installed with the safety cable provided with the fan. Failure to use the safety cable provided may result in personal injury, damage to the fan or damage to other property.
Distributed by: Craftmade, 3901 South 20th Avenue, DFW Airport, TX, 75261; 1-800-486-4892
NOTE: The important safety precautions and instructions appearing in the manual are not meant to cover all possible conditions and situations that may occur. It must be understood that common sense and caution are necessary factors in the installation and operation of this fan.
1. Unpacking Your Fan.
Carefully open the packaging. Remove items from Styrofoam inserts. Remove motor housing and place on carpet or Styrofoam to avoid damage to finish. Do not discard fan carton or Styrofoam inserts should this fan need to be returned for repairs.
Check against parts inventory that all parts have been included.

2. Parts Inventory.
a. canopy. 1 piece
b. hanging bracket. 1 piece
c. downrod (with pin and clip) and hanging ball. 1 piece
d. wall control. 1 piece
e. plate. 1 piece
f. remote control. 1 piece
g. faceplate. 3 pieces
h. anti-sway adapter (in hardware pack). 1 piece
i. motor housing. 1 piece
j. yoke cover. 1 piece
k. switch housing. 1 piece
l. blade arm. 5 pieces
m. blade. 5 pieces
n. hardware packs




with remote/wall control

IMPORTANT REMINDER: You must use the parts provided with this fan for proper installation and safety. ![]()
3. Installation Preparation.
To prevent personal injury and damage, ensure that the hanging location allows the blades a clearance of 7 feet (2.13m) from the floor and 30in. (76cm) from any wall or obstruction.
This fan is suitable for room sizes up to 400 square feet (37.2 square meters).
This fan can be mounted with a downrod on a regular (no-slope) or vaulted ceiling. The hanging length can be extended by purchasing a longer downrod (0.5in./1.27cm diameter). Other installation such as flushmount is not available for this fan.
NOTE: Do not install anti-sway adapter if you will be using this fan on a sloped or vaulted ceiling.
Installation requires these tools:
Phillips screwdriver, at-head screwdriver, adjustable pliers or wrench, stepladder, wire cutters and rated electrical tape.

- blade edge
downrod installation | flushmount installation |
![]()
| ![]()
|
![]() | Vaulted ceiling angle is not to exceed 25 degrees. |
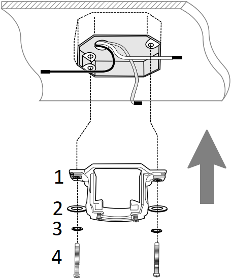
4. Hanging Bracket Installation.
Turn off circuit breakers to current fixture from breaker panel and be sure operating light switch is turned to the OFF position.
WARNING: Failure to disconnect power supply prior to installation may result in serious injury.
Remove existing fixture.
WARNING: When using an existing outlet box, be sure the outlet box is securely attached to the building structure and can support the full weight of the fan. Ensure the outlet box is clearly marked “Suitable for Fan Support.” If not, it must be replaced with an approved outlet box. Failure to do so can result in serious injury.
CAUTION: Be sure outlet box is grounded and that a ground wire (GREEN or bare) is present.
Install hanging bracket to outlet box using original screws, spring washers and at washers provided with new or original outlet box. * If installing on a vaulted ceiling, face opening of hanging bracket towards high point of ceiling. Arrange electrical wiring around the back of the hanging bracket and away from the bracket opening.
*Note: It is very important that you use the proper hardware when installing the hanging bracket as this will support the fan.


- hanging bracket
- flat washers
- spring washers
- outlet box screws
5. Fan Assembly.
Remove hanging ball from downrod provided by loosening set screw on hanging ball. Remove pin and clip. Lower hanging ball and remove stop pin. Then slide hanging ball off downrod. [Refer to diagram 1.]
Remove vice from safety cable by loosening the screw and nut on the vice. Loosen yoke set screws and nuts at top of motor housing. [Refer to diagram 2.]
Tip: To prepare for threading electrical wires through downrod, apply a small piece of electrical tape to the ends of the electrical wires–this will keep the wires together when threading them through the downrod. [Refer to diagram 2.]
Determine the length of downrod you wish to use. Thread safety cable and electrical wires through threaded end of downrod and pull extra wire slack from the upper end of the downrod. [Refer to diagram 2.]
Thread downrod into the motor housing yoke until holes for pin and clip in downrod align with holes in yoke–make sure wires do not get twisted. Re-insert pin and clip previously removed. Tighten yoke set screws and nuts securely. [Refer to diagram 2.]
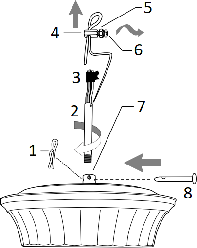
Locate anti-sway adapter in hardware pack. Slide yoke cover, anti-sway adapter and canopy over downrod. [Refer to diagram 3.] (Note: Anti-sway adapter must be turned with at side toward the canopy.)
Thread safety cable and wires through hanging ball; then slide hanging ball over downrod–the top of the downrod should be noted as having a set screw hole; use this hole when setting the set screw. Insert stop pin into top of downrod and raise hanging ball. Be sure stop pin aligns with slots on the inside of the hanging ball. Tighten set screw securely. [Refer to diagram 4.]
WARNING: Failure to tighten set screw (on hanging ball) completely could result in the fan becoming loose and possibly falling.
[“Fan Assembly” continued on next page.]
NOTE: The important safety precautions and instructions appearing in the manual are not meant to cover all possible conditions and situations that may occur. It must be understood that common sense and caution are necessary factors in the installation and operation of this fan.

- set screw
- stop pin
- hanging ball
- pin
- clip
diagram 1

- clip
- downrod
- wiring
- safety cable vice
- nut
- screw
- yoke set screw and nut
- pin
diagram 2

- canopy
- downrod
- anti-sway adapter
- yoke cover
- motor housing
diagram 3

- stop pin
- set screw hole
- hanging ball
diagram 4
With the hanging bracket secured to the outlet box and able to support the fan, you are now ready to hang your fan. Grab the fan firmly with two hands. Slide downrod through opening in hanging bracket and let hanging ball rest on the hanging bracket. Turn the hanging ball slot until it lines up with the hanging bracket tab.
WARNING: Failure to align slot in hanging ball with tab in hanging bracket may result in serious injury or death.
Tip: Seek the help of another person to hold the stepladder in place and to help lift the fan up to you once you are set on the ladder.
Replace vice on safety cable and adjust safety cable length by pulling on the cable. Adjust slack in cable to a hands length and secure vice by tightening screw and nut securely. The loop at the end of the safety cable should just fit over the “J” hook. [Refer to drawing at right.]
Find a secure attachment point (wood ceiling joist highly recommended) and secure safety cable. It will be necessary to use the “J” hook (included) with the safety cable loop. Test safety cable by pulling on loose end with pliers. If the safety cable slips, the screw and nut on the vice must be set tighter.

- wood ceiling joist
- safety cable loop
- “J” hook
- safety cable
- hanging bracket tab
- hanging ball slot
- motor housing
6. Wiring.
WARNING: Turn off circuit breakers to current fixture from breaker panel and be sure operating light switch is turned to the OFF position.
CAUTION: Be sure outlet box is properly grounded and that a ground wire (GREEN or Bare) is present.
Make sure all electrical connections comply with Local Codes or Ordinances and the National Electrical Code. If you are unfamiliar with electrical wiring or if the house/building wires are different colors than those referred to below, please use a qualified electrician.
NOTE: Excess lead wire length from the fan can be cut to the desired length and then stripped.
When downrod is secured in place on the hanging bracket, electrical wiring can be made as follows:
Connect BLACK wire from fan to BLACK wire from ceiling with wire connector provided.
Connect WHITE wire from fan to WHITE wire from ceiling with wire connector provided.
Connect all GROUND (GREEN) wires together from fan to BARE/GREEN wire from ceiling with wire connector provided.
* Wrap each wire connector separately with electrical tape as an extra safety measure.
PLEASE NOTE: Wall and/or remote control must be used for fan to operate. If you do not wish to use the wall control, please proceed to Section 7 on the following page to continue with fan installation.
IN ORDER TO WIRE WALL CONTROL, remove existing wall switch. Wire the WALL CONTROL with wire connectors provided as shown in diagram at right.
* Wrap each wire connector separately with electrical tape as an extra safety measure. Gently push wires and taped wire connectors into outlet box.
WARNING: CONNECT WIRES IN THE FOLLOWING ORDER ONLY!
Connect GREEN ground wire to ground from house or directly to one of the screws from the outlet box.
Connect one BLACK wire from wall control to BLACK (hot) lead wire from house. Connect second BLACK wire from wall control to BLACK load wire to fan.
Attach wall control to outlet box and secure with screws from original wall switch. Attach front plate to wall control using 2 screws provided in the wall control.

- black supply wire
- white supply wire
- ground (green or bare)
- wire connector
- black
- white
- from fan
- from ceiling
(wiring for fan)

- outlet box
- wall control
- plate
- black
(AC IN from breaker box) - black
(TO POWER supply) - black (OUT to fan)
- green
- black
- green/bare ground
(wiring for wall control)
7. Canopy Assembly.
Remove 2 screws on underside of hanging bracket.
Lift canopy to hanging bracket. Align holes in canopy with holes in hanging bracket. While holding canopy in place, slide anti-sway adapter up to canopy. Align holes in anti-sway adapter with holes on underside of canopy and then re-insert the screws that were previously removed. Tighten both screws securely.

- hanging bracket
- canopy
- screw
- anti-sway adapter
8. Blade Assembly.
WARNING: To reduce the risk of serious bodily injury, DO NOT use power tools to assemble the blades. If overtightened, blades may crack and break.
Time Saver: Washers for blade screws can be set on each blade screw prior to installing blades.
Locate 15 blade attachment screws and washers in hardware pack. Hold blade arm up to blade and align holes. Insert 3 blade attachment screws (along with washers) with fingers first and then tighten screws securely with a Phillips screwdriver. Repeat for the remaining blades.
Locate 10 blade arm screws/lock washers in hardware pack. Align blade arm holes with motor screw holes and attach blade arm with blade arm screws/lock washers. Before securing screws permanently, repeat with remaining blade arms. Securely tighten all screws.
NOTE: Tighten blade arm screws twice a year.

- motor housing
- blade attachment screws and washers
- blade
- blade arm
- blade arm screws/lock washers
9. Switch Housing Assembly.
Locate screws in slotted holes on opposite sides of switch housing cap and partially loosen screws. Remove other 2 screws–save screws for later use.
Remove 1 screw from fitter plate on underside of motor and partially loosen the other 2 screws. Align slotted holes in center of switch housing plate with loosened screws in fitter plate, allowing molex connections from motor housing to come through hole in middle of switch housing plate. Twist switch housing plate to lock. Re-insert screw that was removed and securely tighten all 3 screws.
Align slotted holes in switch housing cap with loosened screws in switch housing plate. Twist switch housing cap to lock. Re-insert screws that were previously removed and secure all screws with Phillips screwdriver.

- motor housing
- fitter plate
- molex connections
- switch housing plate
- switch housing cap
10. Automated Learning Process./Activating Code.
REMOTE CONTROL WALL CONTROL


- LIGHT KIT
- REVERSE
- FAN SPEED
- FAN OFF
- LED LIGHT
- LEARN
- ON/OFF SLIDER SWITCH
IMPORTANT:
Remote and wall controls must be SYNCHRONIZED with fan in order to properly function.
Install battery (provided) in transmitter and wall control (if applicable).
WARNING: Battery is to be inserted with the correct polarity.
LED LIGHT: Comes on when any button is pressed.
FAN SPEED, Buttons 1-6: Use to control the ceiling fan speed 1-6.
REVERSE: Use to control fan direction.
LEARN button: Turn fan power on. Within 30 seconds of powering fan, press and hold LEARN button on remote control and/or wall control for 5 seconds (or until fan beeps twice) in order to synchronize remotes with fan motor.
LIGHT KIT: Use for light kit and dimmer.
FAN OFF: Use to turn fan off.
ON/OFF slider switch: [Wall control only] Use to turn wall control on or off.
Select faceplate for remote control and/or wall control and press firmly onto front of remote control/wall control.
IMPORTANT: The Automated Learning Process takes 5 minutes to complete. Please leave the fan “on” for the duration of the 5-minute programming and do not use the remote control during this time.
IMPORTANT: Store the remote control transmitter away from excess heat or humidity. To prevent damage to remote control transmitter, remove the battery if remote control transmitter will not be used for long periods.
NOTE: Remove battery with low or no charge and dispose of properly.
WARNING: Choking Hazard – Small parts. Keep battery away from children.
WARNING: Battery is NOT rechargeable. A non-rechargeable battery is not to be recharged.
CAUTION: “DO NOT DISPOSE OF BATTERIES IN FIRE, BATTERIES MAY EXPLODE OR LEAK.” – When disposing of household alkaline batteries, it is best to check with your local and state recycling or household hazardous waste coordinators concerning the specifics of the program in your area. You may also locate a recycling center by calling 1-800-8-BATTERY or 1-877-2-RECYCLE or visit www.epa.gov/epawaste/index.htm or www.earth911.org for more information.
11. Testing Your Fan.
It is recommended that you test fan before finalizing installation. Test wall control (optional installation) by locating ON/OFF slider switch on wall control, then set to ON position. Test light ON/OFF and then test fan speeds. Next, locate remote control. Start with the lights OFF and test the light ON/OFF function button. Test fan speed with different fan speed buttons (1 – 6). If the remote control operates the functions of the fan, battery has been installed correctly. If the wall and/or remote control do (does) not operate the fan functions, refer to “Troubleshooting” section to solve any issues before contacting Customer Service.
Fan must be on LOW before setting the fan in reverse. Use
button to recirculate air depending on the season. A ceiling fan will allow you to raise your thermostat setting in summer and lower your thermostat setting in winter without feeling a difference in your comfort.
NOTE: If the wall/remote control interferes with other appliances, change code switches on the wall/ remote control to another code. If you do change the code, turn power off first. After setting the new code on the wall/remote control, go back to the instructions for the LEARN button in Section 10 (page 10).
IMPORTANT: Remote control (and wall control, if applicable) must be synchronized with fan in order to properly function.


Troubleshooting.
WARNING: Failure to disconnect power supply prior to troubleshooting any wiring issues may result in serious injury.
Problem: Fan fails to operate.
Solutions:
- Check power to wall switch/wall control.
- Check to be sure wall control (optional use) is wired properly.
- Check to be sure fan is wired properly.
- Learning process between fan, remote control and, if applicable, wall control may not have been successful and code was not activated. Turn off power and repeat instructions in Section 10 (page 10).
- Check that blue light on handheld remote control turns on when a button is pressed indicating that the battery is good.
Problem: Fan fails to operate with wall control and/or remote control.
Solutions:
- Check battery power in remote control.
- Learning process between fan, remote control and, if applicable, wall control may not have been successful and code was not activated. Turn off power and repeat instructions in Section 10 (page 10).
- If using optional wall control, check that battery in wall control is still good.
Problem: Fan wobbles.
Solutions:
- Use the balancing kit provided in one of the hardware packs. If no blade balancing kit is provided, please call Customer Support, 1-800-486-4892, to request one.
- Check to be sure set screw(s) on motor housing yoke is (are) tightened securely.
- Check to be sure set screw on hanging ball is tightened securely.
Warranty.
CRAFTMADE LIMITED LIFETIME WARRANTY:
CRAFTMADE warrants this fan for use as intended under the following provision: CRAFTMADE will replace any fan which has faulty performance due to a defect in material or workmanship or fails to operate satisfactorily when failure results from normal use. Contact Craftmade Customer Service at 1-800-486-4892, Option 1 or via email at [email protected].
In the event a product is no longer available, CRAFTMADE will make best efforts to offer a comparable product or credit towards another CRAFTMADE fan.
The purchaser shall be responsible for all costs incurred in the removal and reinstallation.
This warranty does not apply when damage from mechanical, physical, electrical or water abuse results in causing the malfunction. Deterioration of finishes or other parts due to time or exposure to salt air is specifically exempted under this warranty. Shades and light bulbs are not covered by this warranty but will be replaced if found broken at time of purchase.
Neither CRAFTMADE nor the manufacturer will assume any liability resulting from improper installation or use of this product. In no case shall the company be liable for any consequential damages for breach of this, or any other warranty expressed or implied whatsoever. This limitation as to consequential damages shall not apply in states where prohibited.
Parts, Replacement or Technical Assistance.
For parts, replacement, technical assistance or additional information, please have the fan model number, name or picture available and contact Craftmade in one of the following ways:
Customer Support:
1-800-486-4892, Option 1
Technical Support:
1-800-486-4892, Option 2
Email:
[email protected]
www.craftmade.com
![]()
GGLI2211























