Instruction Manual

PERFECTPRO USBBOX2
Important Safety Instructions
- Read these instructions.
- Keep these instructions.
- Heed all warnings.
- Follow all instructions.
- Do not use this apparatus near water.
- Clean only with dry cloth.
- Do not block any ventilation openings. Install in accordance with the instructions.
- Do not install near any heat sources such as radiators, heat registers, stoves or other apparatus (including amplifiers) that produce heat.
- Do not defect the safety purpose of the polarized or grounding-type plug. A polarized plug has two blades with one wider than the other. A grounding type plug has two blades and a third grounding prong. The wide blade or the third prong are provided for your safety. If the provided plug does not fit into your outlet, consult an electrician for replacement of the obsolete outlet – USA version only.
- Protect the power cord from being walked on or pinched particularly at plug, convenience receptacles, and the point where they exit from the apparatus.
- Only use attachments/accessories specified by the manufacturer.
- Use only with the cart, stand, tripod, bracket, or table specified by the manufacturer, or sold with the apparatus. When a cart is used, use caution when moving the cart/apparatus combination to avoid injury from tip-over.
- Unplug this apparatus during lightning storms or when unused for long periods of time.
- Refer all servicing to qualified service personnel. Servicing is required when the apparatus has been damaged in any way, such as powersupply cord or plug is damaged, liquid has been spilled or objects have fallen into the apparatus, the apparatus has been exposed to rain or moisture, does not operate normally, or has been dropped.
- To reduce the risk of fire or electric shock, Do not expose this appliance to Rain or Moisture.
- The Shock Hazard Marking and Associated Graphical Symbol is provided on the bottom panel of unit.
- Apparatus shall not be exposed to dripping or splashing and no objects filled with liquids, shall be placed on the apparatus.
- For outdoors use, to avoid electric shock, use battery only during a raining day or the weather is wet.
- The power plug should be close to the radio, and easy to be approached that during the emergency, to disconnect the power from the radio, just unplug the power plug from the AC power slot.
Controls






Power the radio

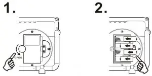
1. Installing the batteries, first turn battery cover fixture anti-clockwise to loosen and pull down the battery cover.
Note:
Before you insert the batteries, if you use non-rechargeable batteries, make sure the Batteries/Charger switch which is located inside the battery compartment is switched to Batteries position. If you use rechargeable batteries, make sure to switch the Batteries/Charger switch to Charger position.
2. Insert 4 x C size (UM-2) battery into the compartment. Ensure the batteries are inserted in accordance with the diagram shown. Close the battery cover and fasten the fixture by turning clockwise.

If the radio is not to be used for any extended period of time, it is recommended that the batteries are removed from the radio. Reduced power, distortion and a “stuttering“ sound or low battery sign flashing on the LCD display are all signs that the batteries need replacing or recharging (see below charging the batteries).
AC operation
Before plugging the AC power cord into the AC socket, be sure the voltage is correct. If you have batteries in the radio and connect the AC power cord into the AC socket, the batteries will automatically be disconnected.
AC power cord storage is designed to store the cord when the radio is not in use.
Charging the batteries

Reduced power, distortion and a “stuttering“ sound or low battery sign flashing on the LCD display are all signs that the batteries need replacing or recharging.
Note:
The batteries can be charged only when the radio is off. Connect the AC power cord into the AC socket to charge the batteries. Be sure the battery type switch is set to Charger position.
When the batteries are being charged, the red Charge LED will be flashing. Charging time can take up to approx. 0 hours depending on the battery capacity of the rechargeable batteries. When the batteries are fully charged, the charged LED will be steady on.
Note:
Charge new batteries fully the first time before first use. This can take longer depending on the capacity of the rechargeable batteries.
- Do not use a mix of old and new rechargeable batteries.
- Do not use a mix of full and empty rechargeable batteries.
- Do not use batteries that have a different mAh capacity.
- Do not use damaged or leaking batteries.
Operating the radio
This radio is equipped with three tuning methods- Manual Tuning, Seeking station and presets recall.
Manual Tuning
- Press the Power button to turn on the radio.
- Select to FM waveband by pressing the SOURCE button.
- Rotate the Tuning Control knob to get required FM station.
The radio will change the frequency in 00 kHz increment. - Rotate the Volume Control knob to get required sound level.
- Rotate the rubber antenna to get the best reception.
- To turn off the radio, press the Power button.
Seek station
- Press the Power button to turn on the radio.
- Select to FM waveband by pressing the SOURCE button.
- Press in the Tuning Control knob, will enter SEEK mode.
- The radio will up seek and stop automatically when it finds a radio station with good signal.
- Pressing in the Tuning Control knob again will find next radio station with good signal.
Memory preset stations
Storing a station in preset memories, please follow steps below.
There are 5 memory presets in this radio.

- Press the Power button to turn on the radio.
- Tune to required station as described above.
- Press and hold the required preset until radio beeps and shows PX nSTORED.
- Repeat this procedure for the remaining presets.
- Stations stored in preset memories can be over written by following above procedures.
Recall stations from preset memories
- Press the Power button to turn on the radio.
- Press SOURCE button to get FM waveband.
- Momentarily press the required Preset button, the preset number and station frequency.
Note:
If the station equips with RDS system and reception quality is good, LCD display will show station name underneath station frequency (described later in RDS).
Clock Time
This radio basically has no clock function. However when it tunes to a radio station with RDS system and reception quality is good, you can press the INFO button to get clock time and date from the radio station. It may take a few minutes for the radio to pick up the clock time information and display it.
INFO button in FM mode

When you are listening to FM broadcasting, press and release INFO button to cycle through Clock Time information and FM station signal strength level (SGLV).
However LCD display won’t show Time information, if the radio station you are listening to does not have RDS system.
RDS (Radio Data System)
When you are listening to a FM station with RDS system, press RDS button will cycle through the various modes. However this will only function if reception level is sufficient and clear.

- Program service (PS) –
displays the radio station name. - Program type (PTY) –
displays the type of station being listening to e.g. Pop, Classic, News, etc. - Radio Text (RT) –
displays radio text messages such as news items etc.
Operating the radio – Aux In

- Connect a stereo or mono audio source (like CD walkman or MP3 player) to the Aux In socket, which is located on the side, behind the rubber cover.
- Press the SOURCE button to select AUX input. Display will show AUX IN.
- Play the file in the CD walkman or MP3 player.
- Adjust the volume control to the required level.
Make sure rubber cover is closed well after use to prevent moist and dirt from entering the radio.
LCD illumination
When radio is switched on, press any button except Power button will illuminate the LCD display for approx. 5 seconds. However if you use AC cord to power the radio, the LCD display will be always illuminated until you turn the radio off by pressing Power button.
Using SD card and USB memory device
This section describes how to use your radio to access and playback your audio files via USB memory devices and Secure Digital (SD, SDHC) cards.
Important:
Your radio is only designed to work with USB memory devices. It is not intended to be connected to hard disk drives or any other types of USB device. The USBBOX has been tested with a range of USB memory devices of up to 3 GB capacity and SD cards up to GB and SDHC cards up to 6 GB are supported. However, there are different cards variants available not all cards can be guaranteed to work in the USBBOX . Memory must use the FAT 16 or FAT 32 filing system in order to operate with the USBBOX2.
Inserting and removing memory devices
Both the USB and SD card slot are located on the side of the radio behind the rubber corner. Remove the rubber cover and press in the USB memory device into the USB slot or insert an SD card into the card slot until it clicks.
Note:
Make sure the rubber cover is closed well after use to prevent moist and dirt from entering the radio.

Playing MP3/WMA files- SD/USB


File browser
Searching the desired folders and files.

- Press and hold the INFO button for 3 seconds to perform the “file browser” function. The upper line of display will indicate existing folder number and total number of folder, the second line will show the selected folder’s name.
- Rotate the Tuning Control knob to search the desired folder and press in the Tuning Control knob to select the folder. Display will show first file of the selected folder.
- Rotate the Tuning Control knob to search the desired file.
And press in the Tuning Control knob to select the desired file, the radio will start to play the selected file.
Display modes
Your radio has a range of display mode while in music playback mode.

Press the INFO button to cycle through the different options.
- File name
- Folder name
- Album name
- Artist name
- Bit rate
- Total number of files on the USB
- Clock time (make sure you set the clock time with the RDS function in advance)
Controlling playback

- While playing a track, press PLAY MODE button to cycle through the following:
- Repeat one- repeatedly play the current track
- Repeat folder- repeatedly play the files within the folder you are listening to.
- Repeat All- repeatedly play all the tracks in the memory devices
- Random- files in the memory devices will be played in random order.
Charging MP3 player or mobile phone during playback
USBBOX is capable of charging a MP3 media player or mobile phone via USB slot during the playback of MP3/WMA files via Aux In socket.

- Press and release the SOURCE button to select AUX-IN
- Connect USB cable (not supplied ) between USB slot of USBBOX and I/O port of MP3 media player or mobile phone.
USB can offer 5V 0.5A power to charge external device by AC power source and only offer 5V 0. 5A by battery power. The charging current limit is 5V 0.5A, if the loading is over the limit LCD display shows “Over Load” and check the device. Within a few seconds, the radio will switch off.
Note:
- It is recommended to use AC power to power the radio while charging MP3 media device or mobile phone via USB slot. Though the battery is also able to charge the device, however using the battery to charge the device will consume much energy and drain the battery easily.
- The USB charging may not support the entire iPod and iPhone range.
- Once the display shows “OVER LOAD!” indicating it’s over powered and your radio will automatically shut down. Make sure you remove your external device before restarting the radio power again.
- It’s recommended not to use a portable hard disc as external device. It may easily over load the radio.
Specification
Power source
- AC power: AC 00~ 40Vac, 50/60 Hz, 22W
- Battery: 4 x UM-2(C size, LR14), Alkaline or Ni-MH battery
Frequency range
FM band: 87.5~ 08MHz, tuning step 00kHz
Electronic features
- Speaker: 5 inches 8 ohm 0W full range, waterproof.
- Output power: 3W@alkaline/Ni-MH battery, 7W@ AC-IN
- Rechargeable current of charger: 0.5A
- AUX-IN level: 300mVrms (rated level), 1Vrms (max.)
- Maximum supplying power of USB socket: 5V 0.5A
MP3/WMA features
- USB media capacity: 16MB~32GB (HCSD)
- USB format: FAT- 12/FAT- 6/FAT-3
- Playable media: MP3 (16kbps~320kbps)/WMA (16kbps~192kbps)
- Frequency response of media player: 40Hz~20kHz (192kbps)
- Dimension: W 300 x H 30 x D 85 mm
If at any time in the future you should need to dispose of this product please note that: Waste electrical products should not be disposed of with household waste. Please recycle where facilities exist. Check with your Local Authority or retailer for recycling advice. (Waste Electrical and Electronic Equipment Directive)
Read More About This Manual & Download PDF:
PERFECTPRO USBBOX2 Instruction Manual – [ Download Optimized ]
PERFECTPRO USBBOX2 Instruction Manual – Download
Questions about your Manual? Post in the comments!


















