TESLA HS300WX Cordless Vacuum Cleaner User Manual
IMPORTANT SAFETY INSTRUCTION
READ ALL INSTRUCTIONS BEFORE USING YOUR VACUUM CLEANER.
WARNING!
To reduce the risk of fire, electrical shock, or injury
- Do not use outdoors or on wet surfaces
- Do not allow to be used as a toy. Close attention is necessary when used by or near children.
- Use only as described in this manual. Use only manufacturer’s recommended attachments.
- Do not use vacuum if it has been dropped, damaged, left outdoors, or dropped in water. Return it to an authorized service center.
- Do not handle plug or appliance with wet hands.
- Do not put any object into openings. Do not use with any opening blocked; keep free of dust, lint, hair and anything that may reduce air flow.
- Keep hair, loose clothing, fingers, and all parts of body away from openings and moving parts.
- Do not pick up anything that is burning or smoking, such as cigarettes, matches, or got ashes.
- Use extra care when cleaning on stairs.
- Do not use to pick up flammable or combustible liquids such as gasoline or use in areas where they may be present.
- Look on your vacuum and follow all label and marking instructions.
- Keep end of hose, wands and other openings away from your face and body.
- Do not use the vacuum cleaner without dust cup filter in place.
- Always unplug this appliance before connecting or disconnecting vacuum hose.
- Store the vacuum indoors. Put the vacuum away after us to prevent tripping accidents.
- Use the incorrect battery will damage motor and users.
Please use the recommended batteries. - Use only on dry, indoor surfaces.
- Do not use for any purpose other than described in this user’s guide.
- If the supply cord is damaged, it must be replaced by the manufacturer, its service agent or similarly qualified persons in order to avoid a hazard.
PARTS DESCRIPTION


- Motorized Floor Brush head
- Aluminum tube
- Tube release button
- Dust cup release button
- LED lamp
- Power switch
- Battery pack release button
- Battery Pack
- Dust cup
- Dust cup bottom
- 2in1 crevice nozzle
- Connecting joint
- Adapter
- Blowing
- Filter set
PRECAUTIONARY MEASURES
If the opening that sucks in the air, the brush or extension tubes are blocked, you should switch off the vacuum cleaner at once. First clear the blocked substance before you attempt to start the vacuum cleaner again.
- Do not operate the vacuum cleaner too close to heaters and like radiators, cigarette butts etc.

- Before you start using the vacuum cleaner, please remove large or sharp objects from the floor in order to prevent that the filter is damaged. Do not use the vacuum to clean anything that is easy to burning, such as gas and cigarettes.

ASSEMBLING THE VACUUM CLEANER WITH ACCESSORIES
Install the floor brush head:
The floor brush head is suitable for all floors.
Floor brush head connected directly to the vacuum cleaner body unit until you hear a audible clicking noise.
Floor brush head connected with the aluminum tube until you hear a audible clicking noise.
Disassemble the floor brush head:
Press the tube release button, then remove the aluminum tube and floor brush head.

Install the 2in1 crevice nozzle:
The crevice nozzle is suitable for narrow gaps cleaning and for using on upholstered surface cleaning.
Insert the 2 in 1 crevice nozzle into the connecting joint, then insert the connecting joint to the vacuum cleaner body unit.
The brush on the crevice nozzle can be pulled forwards or backwards as need.
Install the blowing device.
The blowing device is used for the blowing function. The blower function is recommended for use to gather scattered dry waste such as dust, leaves and confetti or any new ideas from you.
Insert the blowing device into the vacuum cleaner body.
You can adjust the blowing direction and blowing force by adjusting the blowing tube direction and vacuum cleaner power speed.
Install the extension aluminum tube
Floor brush head connected with aluminum tube for use to clean the hard floor or carpet.
2in1 crevice nozzle Connected with aluminum tube for use to clean the high places such as ceiling, curtain, and etc.
USE THE VACUUM CLEANER
Install the battery pack:
Slide the battery pack onto the body block until you hear and feel it click into the place.
Switch the vacuum cleaner on or off:
To switch it on, press the power switch, button, the vacuum cleaner is ON, and LED light is lighting up. If you need the high suction for cleaning, press the high mode button.
To switch if off, press the power switch button, the vacuum cleaner is OFF
CHARGE THE VACUUM CLEANER

The vacuum cleaner must be switched off for charging.
The rechargeable battery is not fully charged upon delivery.
To reach the maximum charging capacity, charge the appliance up fully before using it for the first time.
Charging the product:
Plug the adapter plug into the connection socket on the rear side of the vacuum cleaner.
The LED indicator light flashes one by one while it is charging.
Once all the indicator light up, the battery is fully charged.
CLEAN THE VACUUM CLEANER
Drop dust:
Push the dust cup bottom release button, then the dust will fall down automatically. Usually you may only do like this to drop the dust. (fig. A)
Clean the dust cup:
Press the dust cup release button, then remove the dust cup from body.
Press the dust cup cover (for air exhaust) release button, take out the filter assembly out of the dust cup, then you can clean them with soft brush or wash them with water. You should dry them completely before you use again. (fig.B).
Assemble the dust cup back after cleaning:
Connect the dust cup set to the body you hear a audible clicking noise. The dust cup will be locked.(pleases pay attention to the fitting position and direction).

Clean the filter
Take out the filter set. (fig. A)
Clean the filter by soft brush or rinse it in water and dry them completely before use again. All the filters are washable. (we recommend you to clean the filters when feeling the suction power becoming weak.) (fig.B)
Note: The above filters should be equipped in correct places when work the vacuum machine
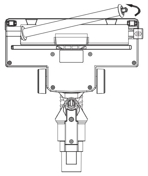
Clean the floor brush head
Remove the floor brush head from the vacuum cleaner by pressing the release button.
Slide the locking button slightly.
Take out the brush roller by hand.
If necessary, carefully remove dirt/hair with a pair of scissors.
If need be, the brush roller can be washed. Let it dry completely before inserting it again.
REMOVE THE BATTERY PACK
Press the battery pack releasing button and pull the battery out.
TROUBLESHOOTING GUIDE
| PROBLEM | POSSIBLE REASON | POSSIBLE SOLUTION |
| Machine doesn’t work | The battery may be no electricity | Check the battery for electric or change the battery. |
| The machine can’t suck ash or suction is very weak |
|
|
| Dust escaping from vacuum |
|
|
| Vacuum brushes will not pick-up | Dust cup is full. | Empty and clean dust cup container. |
TECHNICAL SPECIFICATION
Power motor: 200W
Operating speeds : 2
Power supply: Battery 2200mAh
Battery format: Battery pack
Voltage 18,5V
Disposal
Do not Dispose of batteries with house-hold waste!
Batteries and packaging should be sorted for environmentally friendly recycling.
Only for EU countries:
according to the Directive 2006/66/EC, defective or used batteries,must be collectes separately and disposed of in an environmentally correct manner.
![]()


















