BORMANN BCG1601 Floor Sander Cart

Consideration
- Please keep the workplace clean and bright;
- Please keep the support frame away from the high temperature source, and flammable, explosive, corrosive liquids and gases;
- Please protect the support frame from damage by external force or sharp objects, and pay attention to prevent falling damage;
- Please do not work until the grinder and support frame are well connected;
- Please don’t keep the support frame exposed to rain and humidity for a long time;
- This support frame is only used for BCG1600 grinder. Please don’t use for other brands.
- Please keep eyes on abrasion of the universal wheel and bearing, and replace them in time;
- Please put idle support frame outside the reach of children, and don’t let someone unfamiliar with the support frame or who doesn’t know the instructions operate the support frame.
- Please send your support frame to professional maintenance personnel, and must use the same spare parts for replacement;
- Please keep the handles clean, dry and oil-free.
Spare Part List

- Switch box
- Shelf for hanging wire
- Suction pipe buckle
- Bearing Wheel
- Junction plate
- Locking screw
- Rubber handle
- 4’ universal wheel
Operating Instructions
Where to install the machine
Step 1
Split the thread bushing and screw

Step 2
Use the Hex wrench to screw the thread bushing onto the exposed heads of four screws on your grinder.

Sketch I
Assembly Sketch of A Machine and Its Support Frame
Sketch II
Connection board

- Press the junction plate of the support frame to the top of the thread bushing according to four holes

- Use a HEX wrench to turn the screws which you got from
Step 1 into the thread bushing, please make sure the machine and the support frame have been well connected without any wobble.
Step 1: Please look at Sketch I, they are instructions to tell you how to assemble a grinder and its support frame. For disassembly need, please do it in an opposite way.
Step 2 Please look at Sketch II, they are instructions to tell you how to adjust the height of the handle.
Sketch III
Assembly Sketch of the Support Frame’s Handle
Step 3: Please look at Sketch III, they are instructions to tell you how to change the direction of the handle. 

Sketch IV



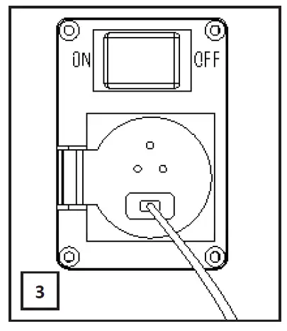
- Connect the grinder’s plug to the outlet in a switch box, and then push button to “ON” (shown on Picture 3)
- Start the grinder and grip two handles to drive the machine for working.
Step 4 Please look at Sketch IV, they are instructions to tell you how to use a grinder for work with a support frame.
Sketch V
Wall Corner & Edge Working Sketch
Step 5 Please look at Sketch V, they are instructions to tell you how a support frame supports the grinder with wall corner&edge working. 
* The manufacturer reserves the right to make minor changes to product design and technical specifications without prior notice unless these changes significantly affect the performance and safety of the products. The parts described / illustrated in the pages of the manual that you hold in your hands may also concern other models of the manufacturer’s product line with similar features and may not be included in the product you just acquired.
* Please note that our equipment has not been designed for use in commercial, trade or industrial applications. Our warranty will be voided if the machine is used in commercial, trade or industrial businesses or for equivalent purposes.
* To ensure the safety and reliability of the product and the warranty validity, all repair, inspection, repair or replacement work, including maintenance and special adjustments, must only be carried out by technicians of the authorized service department of the manufacturer.
For your safety, please read this manual carefully before using, and keep it properly for future reference.





















