Paul Neuhaus 8103-16 Q-ARKTIS LED Ceiling Light

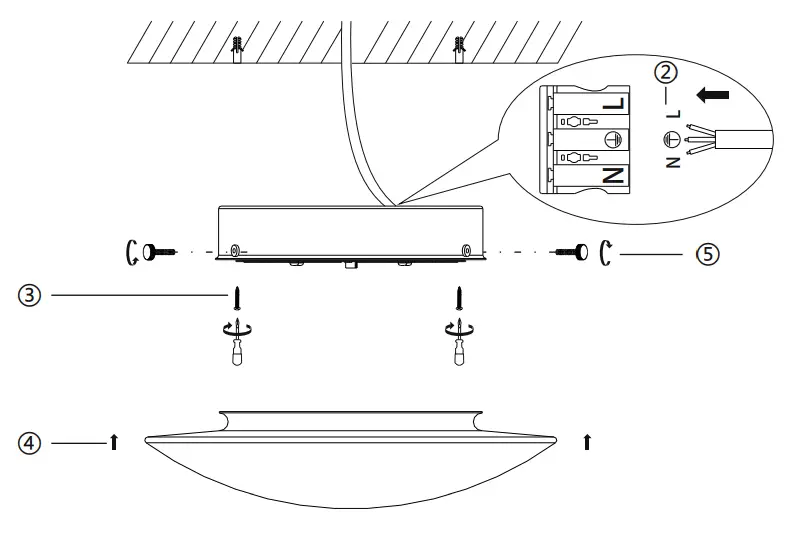
Fitting

![]() | 12 W 1.200 lm |
![]() | 15 W 900 lm |
| LED-Board | |
| 20.000 h |
| 2.700 – 5.000 K / RGB |
| 15.000 x | |
![]() | <0,5 s |
![]() | Dimmable with rrc |

Electrical connection

Teach remote control
See Q-remote control manual

Reset
Reset the lamp, factory new
This device fulfils the fundamental requirements of Directive2014/53/EU (Radio Equipment Directive) of the European Parliament and of the Council of the European Union dated 16.04.2014 on items of radio equipment.
The full declaration of conformity can be accessed at the lnternet-address given below.
Paul Neuhaus GmbH
Olakenweg 36 · D-59457 Werl
Telefon: +49(0)2922 -9721- 0
Telefax: +49(0)2922 -9721-9120
E -mail:[email protected]
https://scm.paul-neuhaus.de/public/conformity/
























